Почему шипит вакуумный усилитель тормозов Ваз 2110 – что делать как устранить проблему
Одной из наиболее распространенных проблем тормозной системы автомобиля Ваз 2110 является шипение вакуумного усилителя тормозов. В сегодняшней статье мы с вами разберем основные неисправности вакуумного усилителя тормозов, способы его проверки, процедуру снятия и замены, а так-же регулировку штока вакуумного усилителя тормозов Ваз 2110
Содержание
- Неисправности вакуумного усилителя тормозов Ваз 2110
- Таблица неисправностей вакуумного усилителя тормозов десятки и методы их устранения
- Как проверить вакуумный усилитель тормозов Ваз 2110
- Когда нужно менять вакуумный усилитель тормозов
- Как снять вакуумный усилитель тормозов Ваз 2110
- Ремонт вакуумного усилителя тормозов Ваз 2110
- Регулировка штока вакуумного усилителя тормозов Ваз 2110
- Видео: Регулировка выступания головки штока вакуумного усилителя тормозов
Устройства от разных производителей могут различаться по характеристикам и качеству, также может варьироваться и цена вакуумного усилителя ВАЗ 2110.
Поскольку функционирование его механизма отражается на работе других деталей и узлов, и прежде всего двигателя автомобиля, стоит не экономить и внимательно следить за его исправностью.
Таблица неисправностей вакуумного усилителя тормозов десятки и методы их устраненияЕсли из-под капота раздается шипение, в салоне ощущается горелый запах масла, а тормоз срабатывает, как у заглушенной машины, лишь после многократных качков ногой тормозной педали, то стоит немедленно обратиться в автосервис для проведения диагностики и в случае необходимости замены этого устройства.
| Признаки | Диагностика | Заключение | Метод устранения |
| Шипение при торможении | Двигатель работает, нажимаем на педаль тормоза и одновременно фиксируем шипящий звук в районе педали | Нарушена целостность диафрагмы | Замена диафрагмы, всего ВУТ |
| Шипение при работающем двигателе | Двигатель работает, в подкапотном пространстве прослушивается шипение. Двигатель работает нестабильно, при нажатии на педаль тормоза обороты незначительно кратковременно повышаются | Нарушена целостность патрубка, соединяющего ВУТ и впускной коллектор | Поиск подсоса воздуха, устранение, замена патрубка |
| Мягкая «ватная» педаль тормоза | При нажатии на педаль она стабильно, безостановочно «уходит» до пола. При торможении нет ощущения стабильного сопротивления усилию нажатия | Разгерметизация гидравлической системы, попадание воздуха | Поиск подтёков, проверка уровня жидкости, прокачка тормозов. |
| Автомобиль не «дотормаживает» | При нажатии на педаль торможение запаздывает, хода педали не хватает для блокировки колёс | Большой свободный ход штока | Отрегулировать холостой ход |
Как проверить вакуумный усилитель тормозов Ваз 2110
Проверить вакуумный усилитель тормозов «десятки» на предмет исправности работы можно и самостоятельно.
Для этого нужно при выключенном двигателе многократно нажать на тормозную педаль. Этим способом проверяется равномерность давления в полостях. Все нормально Далее при удерживании ноги на тормозной педали запускается двигатель. В случае, если педаль при этом подается вперед одновременно с ногой, то усилитель работоспособен. В противном случае необходимо удостовериться, что неисправность заключается именно в нем, а не в проблеме с фланцем наконечника или его креплением.
Еще неслаженное функционирование педали возможно из-за неисправного присоединения штуцера на выпускной трубе двигателя к шлангу. Это все также оказывает вредной воздействие на работоспособность тормозной системы и ее эффективность. тогда, когда корпус клапана не заедает.
Когда нужно менять вакуумный усилитель тормозовПри выходе из строя усилителя тормозов, может появится шипение при нажатие на педаль тормоза, а так же обороты могут играть поднимаясь то вверх и то вниз опускаясь, кроме этого педаль тормоза станет нажиматься тяжело (Это равносильно тому, что автомобиль заглушен) в основном это и есть все симптомы, которые говорят о том, что вакуумный усилитель вышел из строя, не всегда бывает что они все вместе в автомобиле проявляются, но парочка из них когда вакуумник придёт в негодность, всё же будет проявляться (Основные скорее всего, а именно, тугая педаль тормоза и плавающие обороты).
Как снять вакуумный усилитель тормозов Ваз 2110Кстати вакуумный усилитель можно проверить на исправность следующим образом: На заглушенном моторе, понажимайте раз 5 на педаль тормоза и когда будет последнее нажатие, задержите педаль в полу, сразу же после чего заведите машину, если педаль чуть чуть провалиться, то это будет говорить о том, что вакуумный усилитель полностью исправен!
Снятие вакуумного усилителя и педального узла тормоза производим после снятия обивки моторного отсека, облицовки и накладки ветрового окна.
- Замена вакуумного усилителя тормозов на ВАЗ 2110. Причина замены — появилось шипение при нажатии на педаль тормоза от чего двигатель мог в любой момент заглохнуть, педаль тормоза стала тугой. Для замены вакуумного усилителя, необходимо разобрать заднюю стенку моторного отсека; снять резиновый уплотнитель (1), открутить обивку (2) и снять жабо (3).
- Отключить колодку от датчика уровня тормозной жидкости, отсоединить шланг от вакуумного усилителя, открутить две гайки главного тормозного цилиндра.

- После чего, аккуратно отводим главный тормозной цилиндр (не откручивая тормозные трубки) от вакуумного усилителя, на достаточное для извлечения вакуумного усилителя расстояние.
- В салоне автомобиля, под торпедо (под панелью приборов), откручиваем четыре гайки и снимаем провода с лягушки. Самое сложное в замене вакуумного усилителя, это открутить эти четыре гайки, очень неудобно они расположены.
- Извлекаем вакуумный усилитель вместе с педальным узлом.
- Снимаем стопорную пластину, выталкиваем палец крепления вакуумного толкателя.
- Откручиваем вакуумный усилитель от педального узла.
- Устанавливаем новый вакуумный усилитель, обратите внимание на правильность установка, педаль в низу, а штуцер шланга вверху. Далее собираем в обратном порядке.
Для регулировки штока вакуумного усилителя тормозов нам понадобится: пластина толщиной 3 мм
Перед началом работы необходимо: Отсоедините провод от клеммы “—” аккумуляторной батареи.
Проводите регулировку при неработающем двигателе.
- Свободный ход педали тормоза регулируется перемещением выключателя сигнала торможения и при правильной регулировке должен составлять 3–5 мм.
- При уменьшенном свободном ходе педали тормоза возможно подтормаживание колес, вызывающее перегрев тормозных механизмов, вследствие чего автомобиль плохо разгоняется.
- Увеличенный свободный ход педали не позволяет точно рассчитать тормозное усилие.
- Плавно нажимайте рукой на педаль тормоза до тех пор, пока не почувствуете сопротивление. В этом положении вставьте между буфером выключателя и кронштейном педали пластину толщиной 3 мм. Если пластина не входит между кронштейном и буфером либо между ними остается большой зазор (более 2 мм), отрегулируйте свободный ход педали тормоза.
- Удерживая педаль в нажатом положении, ослабьте затяжку двух гаек крепления выключателя сигнала торможения и, перемещая выключатель, добейтесь требуемого свободного хода педали.
После регулировки кронштейн должен упираться в буфер выключателя (при отпущенной педали). Удерживая выключатель в этом положении, затяните гайки крепления. Если таким способом не удалось отрегулировать свободный ход педали, обязательно обратитесь к специалистам.
Помогла статья? Оцените её
☆☆☆☆☆ 4.5/5
Возможно вас заинтересует:
Ремонт вакуумного усилителя тормозов (ВУТ) автомобилей ВАЗ 2108-21099, ВАЗ 2110-2112, ВАЗ 2113-2115, Лада Самара | Школа авторемонта
Июн 21, 2017 ВАЗ 2108, ВАЗ 2109, ВАЗ 2110, ВАЗ 1117 Калина, ВАЗ 2170 Приора автором admin
Какие признаки неисправного вакуумного усилителя тормозов (сокращённо ВУТ) Вы можете назвать? Сам спросил, сам и отвечу))).
Шипение при нажатии на педаль тормоза. Это раз. Неустойчивая работа двигателя на холостых оборотах. Это два. Во время торможения обороты двигателя начинают расти или падать (вплоть до того, что двигатель может заглохнуть). Это три. Педаль тормоза стала более жёсткой и менее эффективной. Это четыре. Вроде все признаки назвал. Дальше продолжу в том же духе. Перечислю возможные варианты решения проблем с неисправным вакуумным усилителем тормозов. Первый, самый распространённый, быстрый, но не дешёвый способ — это
Так как ремонт усилителя — это работа, в которую входят: снятие ВУТа с автомобиля, его разборка, замена всех резиновых деталей (которые присутствуют в ремкомплекте), сборка и установка усилителя на рабочее место. Такая возня не каждому по душе! Но, у этого способа есть один, жирный такой плюс — он позволяет серьёзно сэкономить. Ведь стоимость ремкомплекта, как правило, в четыре раза ниже стоимости самого вакуумного усилителя тормозов. А это не мало. Согласны? Поэтому, всех, кто любит экономить и предпочитает ремонтировать свой автомобиль самостоятельно, приглашаю ознакомиться с фотоотчётом по ремонту вакуумного усилителя тормозов автомобилей ВАЗ-2108, -2109, -21099, ВАЗ-2110, -2111, -2112, ВАЗ-2113, -2114, -2115, Лада Самара. Надеюсь, Вам понравится…
Запчасти. Правильный выбор — это покупка ремкомпекта вакуумного усилителя тормозов производства БРТ (Балаково). Качество изделий (не только ремкомплектов) этого производителя всегда на высоте.
Но, в моём случае был куплен и установлен комплект от фирмы AWEL (Украина). Скажу сразу, что качество резины этой фирмы приятно удивляет. Время, конечно же, покажет/проверит на сколько всё хорошо, но пока претензий нет. Комплектация ремкомплектов одинакова (смотрим фотографии 1 и 2).
Инструмент. Для того, чтобы отремонтировать ВУТ (вакуумный усилитель тормозов) Вам в первую очередь придётся его снять с автомобиля. Как это сделать и какой инструмент понадобится, Вы сможете узнать, прочитав статью по замене вакуумного усилителя. Для работы по разборке и сборке самого усилителя, Вам будут необходимы такие инструменты: большая плоская отвёртка, пассатижи, молоток, пара чистых тряпок. Ну, и, конечно же, не забудьте о внимание и аккуратности))). Ничего сложного в данной работе нет, но, если делать её на скорую руку, то можно при сборке забыть какую-нибудь деталь или же повредить новую диафрагму.
Фотоотчёт по ремонту вакуумного усилителя тормозов (ВУТ) автомобилей ВАЗ 2108-21099, ВАЗ 2110-2112, ВАЗ 2113-2115, Лада Самара:
Корпус вакуумного усилителя состоит из двух половинок.
Также, о чём хочется сказать или напомнить — внутри вакуумного усилителя есть довольно мощная пружина. И, если забыть о её существовании, то, после отжатия последних фиксирующих бортиков, усилитель может эффектно разлететься/разделиться на две половины. Сюрприз не смертельный, но не желательный. Для того, чтобы избежать подобного, неприятного, инцидента следует зафиксировать половинки усилителя штатными гайками ГТЦ. Подкладываем под них несколько шайб или гаек подходящего диаметра и затягиваем гайки (фото 5).
Если нет желания возиться с гайками, то, можно во время разборки придерживать половинки усилителя рукой. Это, конечно же, не так удобно, но вполне реально.
Оп! После устранения всех преград усилитель распадается на части (фото 6 и 7).
Теперь остаётся только планомерно заменить все старые резиновые детали на новые. Можно, конечно же, заменить одну лишь диафрагму. В большинстве случаев она виновата в неисправности вакуумного усилителя. Например, в моём случае усилитель практически новый и замены одной диафрагмы было бы достаточно. Но, правильно всё-таки заменить все резиновые детали. Плюс, если внутри корпуса усилителя обнаружены следы грязи, песка, тормозной жидкости, то корпус следует промыть и очистить.
Дальше, коротко и по существу. Снимаем пружину и шайбы с резиновыми колечками. Колечек в ремкомплекте нет, поэтому стараемся их не порвать и не потерять. И, главное, не забыть о них при сборке, так как без этих колечек усилитель работать не будет! Фотография №8.
Вытаскиваем с корпуса пластмассовый поршень. Снимаем с него чехлы шпилек и диафрагму (фото 9, 10, 11, 12). Сразу можно на их место установить новые детали.
Снимаем защитный чехол корпуса клапана. На его место ставим новый, фотография 13 (предварительно смазав его литом, циатимом и т.п.).
Смазываем шпильки. И аккуратно монтируем поршень в корпус (фото 14 и 15).
Одеваем на шпильки шайбы с резиновыми кольцами (фото 16).
На второй половине корпуса меняем уплотняющее кольцо обратного клапана и штока ГТЦ (фото 17, 18, 19, 20).
Проверяем, чтобы диафрагма в корпусе лежала ровно, без подворотов и не была перекручена (фото 21).
Соединяем части вакуумного усилителя. Стягиваем их гайками (фото 22).
После чего, используя отвёртку и молоток, загибаем края (фото 23 и24).
Готово! Ремонт вакуумного усилителя тормозов (ВУТ) автомобиля ВАЗ 2108-21099, ВАЗ 2110-2112, ВАЗ 2113-2115 закончен. Как видите, в этой работе нет ничего сложного.
Главное — это наличие желания и времени.
При использование статьи или фотографий активная прямая гиперссылка на сайт www.avtorem.info обязательна!
Понравилась статья? Поделись ею на своей странице!
Вакуумный усилитель тормозов ВАЗ 2114, неисправности вакуумного усилителя, как заменить вакуумный усилитель своими руками. Как заменить вакуумный усилитель тормозов на ВАЗ 2114 своими руками. Замена вакуумного усилителя тормозов ВАЗ 2114.
Вакуумный усилитель тормозов является одним из основных рабочих механизмов автомобильной тормозной системы и предназначен для существенного снижения усилия давления на тормозной рычаг при любых типах торможения, что влечет за собой более высокий уровень комфортности. Его исправность в значительной мере влияет на эффективность торможения, а, соответственно, и на вашу безопасность. Поэтому следует регулярно проверять вакуумный усилитель тормозов для своевременного обнаружения неисправностей либо нарушений в работе.
Содержание
- Устройство вакуумного усилителя тормозов
- Признаки неисправности вакуумного усилителя тормозов
- Как проверить вакуумный усилитель тормозов
- Как выбрать новый вакуумный усилитель тормозов, критерии выбора
- Инструменты, приспособления, расходные материалы
- Выбор рабочего места
- Замена вакуумного усилителя тормозов, пошаговая инструкция
- Советы профи: как продлить работоспособность вакуумного усилителя тормозов
Устройство вакуумного усилителя тормозов
Вакуумный усилитель тормозов на ВАЗ 2114 состоит из:
- Штока.
- Уплотнительного кольца фланца главного цилиндра.
- Чашки корпуса усилителя.
- Регулировочного болта.
- Уплотнителя штока.
- Возвратной пружины диафрагмы.
- Шпильки усилителя.
- Уплотнительного чехла.
- Корпуса вакуумного усилителя.
- Диафрагмы.
- Крышки корпуса вакуумного усилителя.

- Поршня.
- Защитного чехла корпуса клапана.
- Воздушного фильтра.
- Толкателя.
- Возвратной пружины толкателя.
- Пружины клапана.
- Клапана.
- Втулки корпуса клапана.
- Буфера штока.
- Корпуса клапана.
А — вакуумной камеры; В — атмосферной камеры; С, D — каналов.
Признаки неисправности вакуумного усилителя тормозов
Если у вас появились какие-то сомнения насчет исправности вакуумного усилителя, следует незамедлительно проверить его состояние. Тормоза — одна из основных систем любого транспортного средства, от которой напрямую зависит ваша жизнь и безопасность, поэтому безответственность и халатность здесь не допустимы.
Симптомы неисправности вакуумного усилителя, свидетельствующие о его поломке, следующие:
- Потребность прикладывания большего, нежели было ранее, усилия для нажатия педали тормоза.
- Ухудшение эффективности торможения транспортного средства во время аналогичного давления на педаль.

Как проверить вакуумный усилитель тормозов
Как только любой из вышеописанных факторов проявляется, сразу же приступайте к диагностике элемента. Для этого следует заглушить двигатель и несколько раз нажать на тормозную педаль с достаточным усилием. Далее останавливаем ее в центре амплитуды движения (фиксируем педаль ногой) и повторно заводим силовой агрегат.
Если педаль немного провалится вниз, то вакуумный усилитель исправен, а если сохранит неизменное положение, значит механизм вышел из строя. После определения проблемы, следует выяснить, что именно случилось с вакуумным усилителем. Для этого нужно его визуально осмотреть. В целом, осмотр осуществляется по следующим пунктам:
- Вакуумный усилитель проверяется на наличие герметичности соединения патрубка и обратного клапана.
- Далее проводится осмотр целостности фиксирующих фланцев.
- В местах изгибов в результате износа могут растрескаться патрубки, о чем будут свидетельствовать мокрые характерные следы на их поверхности.

- Достаточно часто главной причиной выхода вакуумного усилителя из строя является повреждение хвостовика — на уплотнителе необходимо проверить защитный колпачок, который не должен присасываться. Демонтируйте колпачок и заведите двигатель. Если вы услышали шипение после прокачки хвостовика, значит проблема в нем.
Как выбрать новый вакуумный усилитель тормозов, критерии выбора
- Стоимость. Цена является одним из самых главных критериев выбора вакуумного усилителя. Не следует с целью экономии покупать дешевые китайские варианты, поскольку прослужат они недолго. Желательно отдать предпочтение изделиям средней ценовой категории — не самым дорогим, но и не самым дешевым.
- Упаковка. Настоящая упаковка, используемая подлинным производителем, изготавливается из гофрированного картона.
- Точка продажи. Не стоит покупать товар у базарных торговцев. Существует масса хороших, проверенных магазинов автомобильных запчастей в любом городе. Попросите показать сертификаты, документацию на детали.

- Этикетка. На этикетке хорошо должны считываться — дата производства детали, номер партии выпуска и название фирмы-производителя.
Инструменты, приспособления, расходные материалы
- Набор ключей, торцовые и рожковые на «10», «17», «13».
- Новый вакуумный усилитель.
- Отвертка.
- Пассатижи.
Выбор рабочего места
Работы по замене вакуумного усилителя тормозов желательно проводить в гараже.
Замена вакуумного усилителя тормозов, пошаговая инструкция
- От тормозной педали отсоединяем шток, который торчит из вакуумного усилителя.
- Далее в моторном отсеке откручиваем от вакуумного усилителя тормозной цилиндр.
- На данном этапе стоит отметить, что многие инструкции советуют отсоединять все трубки, якобы усложняющие процесс демонтажа вакуумного усилителя тормозов. Но, после такой процедуры нужно прокачивать тормоза, что является лишней тратой времени. Поэтому мы обойдемся без данного пункта и сделаем все по-другому.

- Чтобы демонтировать с вакуумного усилителя тормозной цилиндр, не отсоединяя при этом трубки, достаточно просто открутить одну гайку на «десять».
- Когда помеха устранена, отключаем шланг, идущий к клапану вакуумного усилителя от впускного коллектора.
- Далее откручиваем от кузова крепежный кронштейн, для чего желательно иметь специальный карданчик, как на фото. Сам вакуумный усилитель крепится к кузову четырьмя гайками под ключ на тринадцать.
- Когда демонтаж выполнен, переставляем крепежный кронштейн на новый вакуумный усилитель, для чего следует открутить 2 гайки ключом на «17». Сборку выполняем в обратном порядке.
Советы профи: как продлить работоспособность вакуумного усилителя тормозов
Автомобиль, который регулярно эксплуатируется, требует определенного внимания к себе. Со временем даже самые качественные и надежные детали изнашиваются. А поскольку весь механизм транспортного средства являет собой непростую систему взаимодействия как узлов, так и отдельных деталей, то становится ясно, что если один элемент выходит из строя, нарушается вся работа авто.
Исходя из всего выше сказанного, становится очевидным, что для полноценного применения автомобиля, требуется систематический осмотр, а также исправление возникших неполадок. Данная диагностика тем более необходима, если вызывают сомнение определенные звуки либо неправильная реакция управления.
ПОХОЖИЕ МАТЕРИАЛЫ
- Печка 2110, плохо греет печка 2110, система отопления ваз 2110, ремонт системы отопления ВАЗ 2110 своими руками
- ВАЗ 2114 печка дует холодным воздухом, печка 2114, плохо греет печка ваз 2114, устройство и ремонт отопления ВАЗ 2114 своими руками, снятие печки ваз 2114
- Как поддомкратить машину. Как правильно ставить домкрат. Виды домкратов для автомобилей.
- Блок предохранителей ВАЗ 2109, блок предохранителей ваз 2109 карбюратор, блок предохранителей ваз 2109 инжектор, старый блок предохранителей ваз 2109, схема блока предохранителей ВАЗ 2109, замена блока предохранителей ВАЗ 2109
- Катализатора выхлопных газов автомобиля, неисправный катализатор, плюсы и минусы катализатора, как поменять катализатор на пламегаситель
- Печка дует холодным воздухом ВАЗ 2114, плохо дует печка ваз 2114, почему плохо дует печка ваз 2114
- Как узнать владельца авто по номеру его машины, проверить авто по номеру машины ГИБДД, проверка авто по гос номеру машины бесплатно
- Как выбрать подержанные шины, полезные советы
- Зима автомобиль дорога, давление в шинах легкового автомобиля зимой, хороший аккумулятор для автомобиля зимой, прогревать ли автомобиль зимой
- Зимой плохо заводится машина.
Как правильно заводить машину зимой, нужно ли прогревать машину зимой, полезные советы - Экономичные машины по расходу топлива, самая экономичная машина по расходу топлива
- Марки шин для легковых автомобилей, расшифровка маркировки шин автомобилей, остаточный протектор шин легкового автомобиля, как подобрать шины по марке автомобиля, рисунок протектора шины автомобиля
- Работа механической коробки передач, работа сцепления механической коробки передач, вождение с механической коробкой передач, полезные советы
- Задняя балка пежо 206 седан, устройство задней балки пежо 206. Задняя балка Пежо 206 неисправность, ремонт задней балки пежо 206
- Дизельное топливо зимой, присадка для дизельного топлива зимой, как выбрать лучшее дизельное топливо
- Дизель зимой не заводится.
Как завести дизель зимой, прогрев дизеля зимой. - Японские шины Бриджстоун, зимние шипованные шины бриджстоун, шины Бриджстоун марки
- Маркировка шин расшифровка для легковых автомобилей, маркировка колесных дисков, как правильно подобрать шины по дискам
- Дизельный двигатель зимой, запуск дизельного двигателя зимой, какое масло заливать в дизельный двигатель зимой, полезные советы
- Светодиодная подсветка автомобиля, подсветка днища автомобиля, подсветка ног в автомобиле, подсветка в двери автомобиля, подсветка автомобиля штраф
- Восстановленные шины, шина наварка, восстановленный протектор шин, можно ли их использовать
- Выбираем зимние шины, что представляет из себя зимняя резина, какое давление в зимних шинах должно быть, маркировка зимних шин, как правильно выбрать зимние шины, лучшие зимние шины 2019
- Рулевая рейка автомобиля, стук рулевой рейки, причины стука и ремонт рулевой рейки своими руками
- Бескамерные шины автомобиля, набор для ремонта бескамерных шин, ремонт бескамерной шины своими руками
- Шины российского производства, российские шины зимние, российские всесезонные шины, воронежские шины Amtel, шины “Матадор Омск шина”, Кама-шины-это шины мирового уровня
- Как открыть автомобиль без ключа.
Потерял ключ от автомобиля что делать, ключ от автомобиля внутри машины - Тихие шины, тихие зимние шины, тихие шипованные шины, какие шины выбрать, обзор шин
- Шины и безопасность, безопасность движения шины, почему необходимо постоянно следить за автомобильными шинами
- Правила безопасного вождения автомобиля в дождь и слякоть, безопасное вождение автомобиля для начинающих
- Преобразователь ржавчины какой лучше для авто, преобразователи ржавчины выбрать, как пользоваться преобразователем ржавчины, советы профессионалов
- Полировка кузова автомобиля своими руками, как выбрать полировальную пасту, полезные советы
- Долговечность двигателя, срок службы двигателя, как продлить срок службы двигателя
- Стук в автомобиле.
Стук при движении автомобиля. Что может стучать в автомобиле. Как определить причину стука. - ABS автомобиля, что такое abs автомобиля, неисправности системы ABS, диагностика ABS
- Обгон автомобиля, когда можно начинать обгон автомобиля, правила обгона ПДД
- Не работает бензонасос ваз 2110, схема бензонасоса ваз 2110, устройство бензонасоса ваза 2110, ремонт бензонасоса ваз 2110,
- Автомобильные антенны для радио, устройство автомобильной антенны, автомобильная антенна своими руками
- Передняя подвеска Калина, устройство передней подвески калина, стук в передней подвеске калина, ремонт передней подвески Калина
- Амортизатор масляный, лучшие масляные амортизаторы, прокачка масляных амортизаторов, как правильно прокачать масляный амортизатор
- Неисправности сцепления, буксует сцепление, причины неисправности сцепления, как устранить
Ремонт вакуумного усилителя тормозов (ВУТ) своими руками, инструкция по замене на ВАЗ 2110
Главная » Советы
Советы
Автор Алексей Степанов На чтение 6 мин.
Просмотров 734 Опубликовано
Все автомобилисты прекрасно знают: любая проблема с тормозами требует немедленного устранения. Если ничего не предпринять, эта поломка рано или поздно приведёт к ДТП. Тормоза ВАЗ 2110 — сложная система, одним из её элементов является вакуумный усилитель, который может выйти из строя. О том, как самостоятельно провести ремонт или замену этого устройства, мы и поговорим в ниже.
Расположение и устройство вакуумного усилителя тормозов
Вакуумный усилитель тормозов (ВУТ) на автомобиле ВАЗ 2110 расположен у задней стенки двигательного отсека (прямо под дворниками). Увидеть его можно, просто открыв капот и отодвинув защитный кожух.
Это агрегат с корпусом круглой формы, находящийся чуть ниже дворниковЭто устройство с круглым корпусом, который поделен на 2 части: вакуумную и атмосферную. Разделяет эти части диафрагма. Вакуумная камера соединена с впускным коллектором посредством обратного клапана.
Этот клапан создаёт в камере разрежение. А к атмосферной камере подключён следящий клапан, который активируется после нажатия педали тормоза, в результате чего вакуумная камера соединяется с атмосферной. После этого диафрагма ВУТа начинает давить на шток главного тормозного цилиндра, тормозная жидкость нагнетается в рабочие цилиндры, и начинается торможение. А когда водитель отпускает педаль газа, диафрагма под действием возвратной пружины возвращается в исходное положение, и торможение прекращается.
Основные причины и признаки неисправности
Причина, как правило, одна: ВУТ выходит из строя из-за старения или износа резины. Резина в этом устройстве повсюду: диафрагма, клапана, сальники, шланги. Есть и несколько признаков неисправности ВУТа:
- Для торможения водителю приходится прилагать больше усилий, чем обычно.
- В процессе торможения в кабине слышится характерное шипение, которое усиливается по мере нажатия на педаль тормоза.

Когда ремонтировать, а когда менять?
- Менять ВУТ придётся в том случае, когда повреждена диафрагма, возвратная пружина или один из клапанов. Тогда автовладелец будет просто вынужден снять ВУТ и заменить его. Причём сделать это нужно будет как можно быстрее. Замена в данном случае — это самый разумный выход, так как найти в продаже отдельные запчасти к ВУТу удаётся далеко не всегда (особенно это касается диафрагм).
- А ремонт целесообразно проводить в случае повреждений внешних шлангов. Шланг может треснуть, на нём может ослабнуть хомут, что приводит к нарушению герметичности и т. д. Все эти проблемы вполне можно устранить без замены ВУТа. Нарушение герметичности системы — это, конечно, плохо, однако критической поломкой это не является (если только водителя не раздражает шипение в кабине).
Диагностика неисправности ВУТа: почему шипит или негерметичен
- Если торможение сопровождается шипением, то первым делом нужно осмотреть ВУТ и шланг, соединяющий его с патрубком коллектора.
Высока вероятность того, что шланг окажется повреждён. В этом случае проблему можно решить простой заменой. Но возможен и второй вариант: на самом ВУТе могут обнаружиться потёки тормозной жидкости. В этом случае менять придётся и сам усилитель. - Ещё один момент, косвенно указывающий на неисправность ВУТа: мотор автомобиля начал «троить» либо стал работать рывками. Происходит это из-за нарушения герметичности шланга ВУТа. В шланг поступает воздух, который оттуда попадает прямо во впускной коллектор. Из-за избытка воздуха топливная смесь, подаваемая в камеры сгорания, становится слишком бедной. Как следствие — перебои в работе мотора. Для устранения подсоса воздуха часто бывает достаточно подтянуть ослабшие хомуты на шланге ВУТа.
- Если всё ещё есть сомнения по поводу того, что неисправен именно ВУТ, можно убедиться в этом так: заглушить двигатель, после чего 6–7 раз нажать педаль тормоза. После 7-го нажатия надо отпустить педаль, дать ей пройти примерно половину свободного хода, потом остановить её ногой и запустить мотор.
Если педаль после запуска мотора провалилась в пол — ВУТ исправен. Если она осталась неподвижна — ВУТ придётся менять.
Необходимое для ремонта и замены своими руками
- Комплект шлангов и хомутов для ВУТ.
- При необходимости: новый ВУТ для ВАЗ 2110.
- Комплект рожковых ключей.
- Отвёртка с плоским жалом (средних размеров).
Как отремонтировать или заменить на ВАЗ 2110
- Если во время диагностики выясняется, что неисправен шланг впускного коллектора, его хомуты ослабляются с помощью плоской отвёртки, после чего он снимается вручную и заменяется новым. Если причина шипения не в повреждении шланга, а в самих ослабших хомутах, они затягиваются с помощью плоской отвёртки.
- Если же неисправен сам ВУТ, производится его замена. Сначала отсоединяется разъём датчика, показывающего уровень тормозной жидкости. Он свободно снимается вручную.Этот разъём отключается вручную
- Далее от ВУТа отсоединяется вакуумный шланг.
Он тоже снимается вручную, обратный клапан ВУТа при этом придерживается второй рукой.Обратный клапан при этом нужно придерживать другой рукой - Главный тормозной цилиндр крепится к ВУТу двумя гайками на 10. Они откручиваются с помощью рожкового ключа.Они откручиваются рожковым ключом на 10
- После этого главный цилиндр аккуратно отодвигается от ВУТа (тормозные трубки при этом снимать не требуется).Трубки от него отсоединять не обязательно
- В кабине, под приборной панелью, отсоединяется кронштейн тормозной педали. Он держится на 4 гайках, которые откручиваются рожковым ключом на 11.Их откручивают рожковым ключом на 11
- После этого ВУТ вместе с педалью и кронштейном аккуратно извлекается через двигательный отсек, заменяется новым, после чего производится обратная сборка всех узлов.Делается это через двигательный отсек
Видео по проведению работ
ВУТ и грузовые автомобили
В грузовых автомобилях, таких, как Газель или УАЗ, ВУТ находится в том же месте (у задней стенки двигательного отсека), так что процедура его замены практически не отличается от той, что приведена выше.
Разница лишь в размерах: диаметр ВУТа грузового автомобиля больше на 2 см.
Как видим, замена ВУТа на ВАЗ 2110 особых сложностей вызвать не должна. Добраться до этого агрегата просто, открутить потребуется лишь несколько гаек, а всё остальное прекрасно снимается вручную. Сложности у автовладельца могут возникнуть лишь на этапе диагностики. Иногда бывает так, что трещина в шланге ВУТа настолько мала, что её невозможно разглядеть невооружённым глазом. В этом случае вся надежда только на слух: подсос воздуха в коллектор практически всегда сопровождается тонким свистом. Но чтобы его услышать, потребуется вылезти из кабины и открыть капот.
- Автор: Алексей Степанов
- Распечатать
Копирайтер с пятилетним стажем.
Оцените статью:
(0 голосов, среднее: 0 из 5)
Поделитесь с друзьями!
Признаки неисправности вакуумного усилителя тормозов ваз 2114
Содержание
- Конструктивные особенности и принцип работы
- Как проверить работоспособность устройства?
- Особенности визуального осмотра вакуумного усилителя
- Как поменять вакуумный усилитель?
- Что такое вакуумный тормозной усилитель
- Как устроен вакуумный тормозной усилитель
- Как работает ВУТ
- Причины неисправности ВУТ
- По каким признакам определить неисправность ВУТ
- Как провести проверку ВУТ
- Вариант 1
- Вариант 2
- Вариант 3
- Регулировка и ремонт вакуумного тормозного устройства
- Регулировка
- Ремонт и замена
Вакуумный усилитель тормозной системы (аббревиатура — ВУТ) по праву считается одним из главных механизмов современных авто.
Это не удивительно, ведь от правильности работы устройства зависит эффективность торможения и, следовательно, уровень безопасности водителя и пассажиров.
Вакуумный усилитель тормозов
Вот почему важна периодическая проверка вакуумного усилителя тормозов и устранение неисправностей. По каким признакам проще всего диагностировать неисправность? Реально ли отремонтировать или поменять устройство в гараже? Эти и другие моменты рассмотрим ниже.
Конструктивные особенности и принцип работы
Первое, с чем стоит разобраться — конструктивные особенности вакуумного усилителя тормозов и тонкости его функционирования в системе. Как правило, устройство находится в общем блоке с главным цилиндром. В исходном состоянии канал, объединяющий систему с окружающим воздухом, закрыт.
В свою очередь, второй канал остается открытым. На этом этапе диафрагма, которая находится внутри, получает идентичное давление с одной и другой стороны. Кроме того, благодаря действию возвратной пружинки, она всегда расположена в первоначальной позиции.
Когда водитель жмет на тормоз, специальный шток перемещается, немного отклоняется и закрывает вход в канал. Одновременно с этим открывается другой канал, связывающий ВУТ с окружающим воздухом.
После этого атмосферные потоки сходятся с двух сторон и давят каждый со своим усилием. Благодаря разности давления, происходит сдавливание возвратной пружины, а сам шток движется с поршнем цилиндра.
После уменьшения усилия (при этом нога остается на педали) происходит открытие каналов настолько, что движение поршневого узла совсем блокируется, а сам ВУТ находится в режиме ожидания и готов к работе. В такой ситуации любое изменение позиции педали приводит к корректировке разности давлений в устройстве. В итоге машина останавливается, если водитель давит на педаль, или продолжает движение, когда нога отпущена.
Устройство вакуумного усилителя
При сильном нажатии на педаль происходит резкое изменение давления, из-за чего тормоза срабатывают на пределе возможностей.
При этом считается, что благодаря ВУТ эффективность тормозной системы машины возрастает в 5-7 раз. Как только педаль отпускается, диафрагма возвращается на исходную позицию.
Если же система вакуумного усилителя тормозов не работает, требуется диагностика, выявление причины и оперативное устранение дефекта. Как это сделать, будет рассмотрено ниже.
Как проверить работоспособность устройства?
Одна из главных проблем для многих автовладельцев — неумение своевременно распознать поломку и проверить систему ВУТ. В реальности все легко.
Алгоритм проверки вакуумного усилителя следующий:
1. Способ первый . Пускайте мотор и дайте ему 3-5 минут поработать. После отключайте зажигание и жмите на тормоз с привычным для повседневной езды давлением. Если устройство исправно, то первый раз педаль срабатывает в обычном режиме (углубляется до пола).
ВУТ срабатывает, а появившийся вакуум затягивает диафрагму. Устройство, в свою очередь, подталкивает поршень основного цилиндра, и происходит выравнивание давления.
Как следствие, все дальнейшие срабатывания тормоза будут «укорачиваться».
Причина в том, что разряжения уже нет. Такое поведение системы нормально и свидетельствует о ее работоспособности. В ситуации, когда между первым, вторым и последующими срабатываниями разницы нет (педаль утапливается до пола), это сигнал поломки системы и необходимости ее ремонта.
2. Способ второй . Чтобы подтвердить или опровергнуть предположения о неисправности узла, проведите еще один опыт. Заглушите мотор, выжмите тормоз , а теперь пускайте двигатель. В этот момент нога должна оставаться на педали и создавать определенное давление.
Если устройство исправно, то в камере ВУТ формируется разряжение, благодаря которому происходит давление мембраны на шток. В итоге система притягивает толкатель, а педаль опускается к полу. Если рычаг остался на прежней позиции, то делаем выводы о неисправности вакуумного усилителя тормозов.
Принцип работы вакуумного усилителя
3. Способ третий .
Следующая проверка позволяет выявить факты утечки воздуха в системе. Для этого выжимайте тормоз и, не отпуская педаль, глушите мотор. После удерживайте рычаг в такой же позиции еще 30-40 секунд. При нарушении герметичности появляется усилие, которое будет выталкивать рычаг вверх. Если такая проблема не диагностируется, устройство исправно, и утечка в системе отсутствует.
Особенности визуального осмотра вакуумного усилителя
Хороший автовладелец должен знать, как проверить вакуумный усилитель тормозов визуально. Такие навыки помогают вовремя определить неисправность, а в случае чего и подтвердить установленный ранее диагноз.
При визуальном осмотре ВУТ автомобиля действуйте так:
- Проверяйте место стыка обратного клапана и патрубка (шланга) на качество соединения.
- Осматривайте фланец и убедитесь в отсутствии дефектов.
- Оцените состояние изгибов шланга. При наличии трещин или влажных следов масла поменяйте неисправные узлы.
- Доставайте коврик и под рулевой, осмотрите защитный колпак (пыльник).
Он должен быть целым и без потеков жидкости. - После обнаружения неисправности поменяйте узел. Стоимость устройства невелика, да и можно дополнительно сэкономить, сделав все самостоятельно.
Как поменять вакуумный усилитель?
Если проверка работоспособности вакуумного усилителя тормозов показала явную поломку, лучшее решение — установить новый узел.
Чтобы заменить ВУТ на ВАЗ, действуйте так:
- Подготовьте инструмент. Вам потребуется новая деталь, а также наборы ключей (торцевых и рожковых).
- Отсоедините шток от педали.
- Отверните тормозной цилиндр и демонтируйте его от ВУТ, тормозные трубки отсоединять не надо, если нет желания после завершения работы прокачивать тормоза , можно обойтись и без этого.
- Снимайте шланг, который подключен к коллектору впуска и направляется к клапану ВУТ.
- Откручивайте от кузова крепежный кронштейн, для чего требуется иметь под рукой специальный кардан.
- Фиксируйте вакуумник к кузову на две пары гаек ключом на «тринадцать».

- Ставьте кронштейн на новую деталь, для чего с помощью ключа на «семнадцать» откручивайте гайки.
- Собирайте узел по обратному алгоритму.
Теперь вы знаете, как обнаружить, проверить и устранить неисправность усилителя тормозов. Главное — своевременно диагностировать поломку. Удачи на дорогах и конечно же без поломок.
Через некоторое время после замены тормозных шлангов на передних колесах, возникла проблема с ВУТ. Проблема начала проявляться около недели назад, начала тормоз нажимался очень туго, но машина тормозила более менее приемлемо. Вчера вакуум исчерпал весь свой полезный ресурс и благополучно умер.
В моем случае симпотомы следующие, при нажатии на педаль тормоза:
— скачут обороты двигателя;
— раздается шипение в районе педалей, как будто не тормоз нажимаешь, а качаешь нососом что-либо;
— тугая педаль тормоза;
— эффективность тормозов резко упала.
Назову это явление «эффект ступеньки» 😀 при нажатии педали тормоза, сначала ход педали свободный, а потом нога упирается в «ступеньку» и далее тот самый «насос», тугой и малоэффективный)) Процедура замены вакуумного усилителя тормозов занимает около 3 часов для новичков, таких как я.
Руководство по замене ВУТ я подглядет ТУТ! 😀
В этой статейке все так подробно и понятно описано, что замену вакуума может произвести любой человек, нужны всего лишь то — прямые руки. В этом методе замена ВУТ происходит без отсоединения тормозных трубок от главного тормозного цилиндра (ГТЦ), этим самым геморрой с прокачкой тормозов отпадает.
На сегодняшний день в автомобили, главным образом, ставят тормозную систему двух типов и в большинстве из них поставлена гидравлическая. А значит, в ней есть вакуумный гидроусилитель тормозов (ВУТ). Как и все другие комплектующие автомобиля имеет огромное значение – от его исправности или неисправности зависит скорость торможения, а, следовательно, безопасность самого водителя и остальных участников дорожного движения. Сегодня мы поговорим про устройство и принцип работы ВУТ, как проверить вакуумный усилитель тормозов на неисправность, рассмотрев простые способы такой проверки.
Что такое вакуумный тормозной усилитель
Разберемся, что такое ВУТ.
Обеспечивая прижатие тормозной педали при торможении, особенно, если это торможение в экстренных ситуациях, необходимо серьёзное усилие, которое равняется 80 кг. Подобное усилие при давлении на педаль тормоза – это приличная физическая нагрузка для водителя.
Вакуумный тормозной усилитель
Вот почему с 70-х годов ХХ в. практически на все машины устанавливается вакуумный усилитель. Он уменьшает необходимое усилие в 3-4 раза. На самом деле, это уменьшение может быть и больше.
Но в этом случае утрачивается информативность тормозной педали, возрастает ускорение при торможении, намного сокращается управляемость транспортного средства.
Как устроен вакуумный тормозной усилитель
Усилитель – это цилиндрический блок. Посмотрим, как он устроен. В его конструкцию входят:
- Мембрана.
- Канал атмосферной камеры.
- Следящий клапан с толкателем.
- Шток.
- Канал вакуумной камеры.
- Поршень.

- Пружина возврата.
В усилителе имеется 2 камеры, разделенные между собой мембраной. В центре диафрагмы располагается специальный пятачок, при помощи которого происходит давление по штоку. Шток, со своей стороны, давит по поршню головного цилиндра тормозов. Когда отпускается тормозная педаль, то пружина возврата возвращает мембрану в исходное положение.
Вакуумная камера расположена у центрального тормозного цилиндра, внутри нее всегда сохраняется низкое давление. Атмосферная камера расположена у педали тормоза. Данная камера при помощи следящего клапана соединяется с камерой, в которой создано безвоздушное пространство или со средой, где атмосферное давление находится на определенном и довольно высоком уровне. В ВУТ имеется толкатель, напрямую соединенный с тормозной педалью.
Схема устройства ВУТ
Как работает ВУТ
Отдельный шланг соединяет вакуумную камеру с устройством, которое способно разряжать. Этим устройством может служить сам силовой агрегат (когда речь идет о бензиновом моторе) или это особый насос, который качает вакуум.
Он обязателен для автомобилей с дизелем. Но сегодня такие стали устанавливать и вакуумные усилители «бензиновых» автомобилей. Это делается для постоянно высокой и эффективной работы ВУТ в различных режимах работы силового агрегата.
Когда транспортное средство передвигается, не тормозя, внутри камер сохраняется разряженное состояние. Но, когда выжимается тормозная педаль, клапан перекрывает место соединения камер и открывается вход атмосферного бокса для поступления воздуха под необходимым давлением. Именно этот воздух и усилие жмущего на тормоз оказывает воздействие на поршень центрального тормозного цилиндра, обеспечивающего инжекцию тормозной автожидкости в систему. Подытожим, ВУТ обеспечивает использование давления, для увеличения усиления процесса торможения. Но, если говорить о ВУТ с вакуумным насосом, то подобный вариант, помимо стабилизации работы усилителя, неизменно применяется для действия электроники управления транспортным средством. Например, данный насос снабжает функционирование ESP, которая отвечает за устойчивость авто при резких (и не очень) поворотах.
Вакуумный усилитель тормозов
Причины неисправности ВУТ
Вакуумный усилитель, как и любое другое устройство имеет свой рабочий ресурс. Но существуют некоторые причины, по которым ВУТ может выйти из строя гораздо раньше. Вот они:
- вакуумным шлангом утрачена герметичность;
- диафрагма неисправна;
- клапана утратили свои свойства;
- в камерах нарушена герметичность;
- пружина возврата вышла из строя.
Хотя важно сказать, что с технологической точки зрения устройство вакуумного усилителя тормозов отработано давно. Благодаря этому многие автовладельцы практически не сталкиваются с проблемами его неисправностей.
Но, из-за важности эксплуатации надежной системы тормозов, необходимо регулярно проверять ее на корректность работы, особенно, если вам предстоит дальняя поездка.
По каким признакам определить неисправность ВУТ
Во процессе эксплуатации транспортного средства, в котором установлен вакуумный тормозной усилитель, не следует оставлять без внимания герметичность самой конструкции усилителя и шлангов, ведущих к нему.
Вот некоторые признаки неисправности, которые помогут водителю всегда держать ситуацию под контролем:
- у водителя появилась потребность прикладывать больше усилий при торможении, чтобы достичь прежней эффективности;
- сокращение величины хода тормозной педали;
- автомобиль продолжает тормозить даже после того, как педаль тормоза приведена в исходное положение;
- наблюдается «подсос» в вакуумном шланге, а потому присутствует неровность в оборотах силового агрегата;
- при торможении слышатся посторонние звуки по типу шипения;
- ВУТ полностью «отказывается» работать;
- увеличивается расход горючего при эксплуатации автомобиля в обычном режиме;
- автомобиль вдруг начинает «подтраивать»;
- не срабатывают свечи.
ВУТ
Иногда неисправность вакуумного усилителя тормозов может проявляться несколько иначе, но если вы почувствуете один из упомянутых признаков, то это становится поводом для проверки тормозной системы.
Как провести проверку ВУТ
В реальности проверка правильной работы вакуумного устройства дело достаточно простое, с которым сможет справиться даже новичок. Мы приведем три способа, как проверить вакуумник на исправность.
Вариант 1
- Заведите свой автомобиль и дайте ему поработать на «холостом ходу» примерно 7мин.
- Заглушите мотор и полностью выжмете тормозную педаль для создания вакуума в тормозном устройстве.
- Сначала отпустите педаль, а затем выжмите ее снова.
В том случае, если вакуумное тормозное устройство вышло из строя, то во время второго нажатия на педаль, вы ощутите значительное сокращение ее хода (по сравнению с первым нажатием). Это происходит от того, что безвоздушное пространство больше не может создаваться. Но если при повторном нажатии вы не ощутили разницы, то это говорит о том, что система тормозов работает нормально. Перейдем ко второму варианту проверки.
Вариант 2
- При выключенном двигателе машины, нажмите на «тормоз» 6-8 раз.

- Выжмите до максимума тормозную педаль и заведите двигатель.
При отсутствии проблем в вакуумном тормозном устройстве, в системе начинает создаваться безвоздушное пространство. По этой причине диафрагма начинает давить на шток, который потянет толкатель, соединенный с педалью. И тормозная педаль (даже когда она до конца выжата) станет немного идти вниз.
Если после пуска силового агрегата этого не произошло, значит, вакуума нет в системе тормозов. А, это означает, что имеются сбои в работе, препятствующие этому процессу.
Вариант 3
Данный тест по проверке вакуумного тормозного устройства помогает выявить, есть ли воздушные утечки.
- Заведите двигатель.
- Выжмите тормозную педаль до конца и сразу же заглушите мотор.
Выжатая педаль должна оставаться в этом положении в течение примерно 30 сек. Это показывает, что проблемы отсутствуют. Но если она начинает двигаться к исходному положению, значит, возрастает давление в рабочей камере.
Это указывает на проблемы с механизмом.
Проверка вакуумного усилителя
Регулировка и ремонт вакуумного тормозного устройства
Регулировка
Вообще, регулировка устройства – это необходимость настроить ход тормозной педали. Чтобы получить оптимальный результат нужно только настроить размер штока по длине. Регулировочным болтом контролируется зазор/выступ. Кроме того, настраивается положение самого болта. Это позволяет установить идеальный момент срабатывания клапанов.
Ремонт и замена
Выше мы рассказали, как проверить работу тормозного вакуумного устройства и отрегулировать в случае необходимости. А в заключение несколько слов о его ремонте.
Если усилитель отказал, то для обеспечения безопасности необходимо оперативно принять соответствующие меры. Заметим, что самостоятельной замене подлежат только вакуумные шланги в бензиновых автомобилях или насосы в дизельных.
А более серьезные работы рекомендуется доверить мастерам в автосервисе.
К таким работам можно отнести восстановление герметичности в камерах, мембраны, клапанов или иных элементов. Это, конечно же, стоит определенных денег, но когда разговор идет о безопасности, то лучше не экономить. Кроме того, по окончанию ремонта необходимо синхронизировать колеса при торможении, а также провести диагностику системы ABS/ESP. Это делается на диагностическом стенде и соответственном оборудовании.
Но, зачастую, ремонт ВУТ обходится намного дороже, чем приобретение б/у усилителя в должном состоянии. Имеет смысл посмотреть устройство на разборках.
Тем более, что это унифицированная запчасть – одна и та же модель подходит к разным маркам автомобилей.
Ремонт вакуумного усилителя тормозов (ВУТ) своими руками, инструкция по замене на ВАЗ 2110
Не верьте тем, кто говорит, что тормоза придумали трусы. Их придумали очень умные и долгоживущие люди, а вакуумный усилитель тормозов придумали к тому же и очень ленивые.
Для того чтобы проверить необходимость наличия ВУТ на автомобиле, попробуйте остановить его нажатием на педаль тормоза с выключенным двигателем на небольшой скорости. Скорее всего, для полной остановки придётся так сильно жать на тормозную педаль, что вам потребуется даже немного привставать на сиденье. А представляете, если вас будет ожидать такой сюрприз во время интенсивного движения в потоке автомобилей, да и ещё и на спуске? Поэтому к данному вопросу просто необходимо отнестись со всей серьёзностью и полнотой ответственности за свою и чужую безопасность. Итак, разберёмся, как делается ремонт ВУТа и замена его составных частей.
Общее устройство тормозной системы ВАЗ 2110
Вакуумный усилитель тормозов ВАЗ-2110 находится в подкапотном пространстве автомобиля между главным тормозным цилиндром и педалью тормоза.
Схема расположения ВУТ
Принцип работы вакуумного усилителя тормозов вкратце рассмотрим на следующем рисунке:
Принцип работы
В исходном состоянии обе полости посредством следящего клапана (на рисунке отсутствует) соединены с атмосферой.
При нажатии на педаль тормоза шток перемещает диафрагму влево, следящий клапан разъединяет полости и в полости «А» создаётся разряжение. А так как полость «Б» всё так же находится под атмосферным давлением, то оба эти условия (разряжение + атмосферное давление) в совокупности придают торможению дополнительное усилие.
Подробно рассмотреть работу всей тормозной системы автомобиля в совокупности вы можете в следующем видеоуроке.
Как работает (на видео)
Диагностика вакуумного усилителя своими руками
Прежде всего необходимо сказать, что неполадки в работе и выход из строя вакуумного усилителя не носит фатального характера. Происходит лишь характерное затруднение при торможении автомобиля и в ряде случаев нарушение стабильной работы двигателя. В любом случае перед поездкой вы можете самостоятельно провести достаточно эффективную и не требующую специальных навыков проверку работы вакуумного усилителя тормозов, для этого:
- При не заведённом двигателе нажимаем несколько раз на полный ход тормозную педаль;
- Удерживаем её в нажатом состоянии;
- Заводим двигатель.

Если же при этом педаль немного «ушла» в пол, значит, с вашим вакуумным усилителем всё в порядке, если же нет, то продолжаем дальнейшую диагностику системы.
Основные признаки неисправностей ВУТ (таблица)
| Признаки | Диагностика | Заключение | Метод устранения |
| Шипение при торможении | Двигатель работает, нажимаем на педаль тормоза и одновременно фиксируем шипящий звук в районе педали | Нарушена целостность диафрагмы | Замена диафрагмы, всего ВУТ |
| Шипение при работающем двигателе | Двигатель работает, в подкапотном пространстве прослушивается шипение. Двигатель работает нестабильно, при нажатии на педаль тормоза обороты незначительно кратковременно повышаются | Нарушена целостность патрубка, соединяющего ВУТ и впускной коллектор | Поиск подсоса воздуха, устранение, замена патрубка |
| Мягкая «ватная» педаль тормоза | При нажатии на педаль она стабильно, безостановочно «уходит» до пола. При торможении нет ощущения стабильного сопротивления усилию нажатия | Разгерметизация гидравлической системы, попадание воздуха | Поиск подтёков, проверка уровня жидкости, прокачка тормозов. |
| Автомобиль не «дотормаживает» | При нажатии на педаль торможение запаздывает, хода педали не хватает для блокировки колёс | Большой свободный ход штока | Отрегулировать холостой ход |
Как отремонтировать или заменить детали
Шипит при торможении (с видеопримером)
На следующем видео можно услышать этот характерный звук:
К слову, штатный «вакуумник» ВАЗ-2110 по инструкции не подлежит ремонту, только замене, но мы и «сами с руками». Да и судя по количеству различных инструкций по самостоятельному ремонту автомобилей, выложенных в сети, можно утверждать, что любому отечественному автолюбителю со стажем более пяти лет можно смело присваивать звание инженера-конструктора заочно.
Поэтому рассмотрим процедуру ремонта, тем более что разница в стоимости между ремкомплектом и самим вакуумным усилителем несоизмерима высока.
В любом случае вначале нам придётся демонтировать ВУТ, для этого нам понадобится минимум подручных средств.
Инструменты
- Рожковые и торцевые ключи размерами «10», «13», «17»;
- Мощная плоская отвёртка;
- Ремкомплект или ВУТ в сборе;
- Герметик и немного желания всё сделать своими руками.
Демонтаж
На данном этапе у нас есть выбор: или сделать всё так, как гласит инструкция завода-изготовителя (отсоединить главный тормозной цилиндр от ВУТ, откручивая от него все тормозные трубки, с последующей его прокачкой) или же чуть проще и малой кровью (просто отодвинув его в сторону).
В любом случае выбор за вами, я же пойду по лёгкому пути:
- Отсоединяем от тормозной педали шток-толкатель:
Снимаем защёлку, вытаскиваем палец
- Отсоединяем от датчика уровня тормозной жидкости колодку с проводами:
Отсоединяем колодку
В моторном отсеке откручиваем две гайки, крепящие главный тормозной цилиндр к «вакуумнику»:
Две гайки на «17»
- Удерживая обратный клапан, снимаем с него вакуумный патрубок:
Демонтаж вакуумного патрубка
Как раз в этом месте все «мануалы» требуют отсоединения тормозных трубок от ГТЦ, я же предлагаю открутить всего одну гайку крепления тормозных магистралей к салону и просто убрать ГТЦ в сторону:
Гайка на «10»
В салоне, под панелью приборов открутите четыре гайки, крепящие кронштейн педали тормоза:
Гайки на «13»
- Демонтируем вакуумный усилитель вместе с кронштейном:
Демонтаж ВУТ
- Открутив две гайки крепления кронштейна педали и поддев его отвёрткой, отсоединяем его от «вакуумника»:
Гайки на «17»Ремонт
Приобретаем в магазине ремкомплект ВАЗ — 2108/2109:
Содержимое ремкомплекта
- Аккуратно развальцовываем мощной отвёрткой и молоточком корпус вакуумного усилителя:
Развальцовка
- Так как внутри находится возвратная пружина, для предотвращения «выстрела» свободной половинки закручиваем на шпильки открученные ранее гайки.
Вот такая картина нам открылась:Деффект диафрагмы
- Далее разобрать диафрагму не получится, так как шпильки, крепящие её к корпусу, заклёпаны. Просто снимаем её манжету с корпуса относительно лёгким движением руки:
Демонтаж
- Можете убедиться сами, каталожный номер «родной» и приобретённой манжеты совпадает!
Каталожный номер
- Устанавливаем манжету в корпус диафрагмы, при этом аккуратно помогаем отвёрткой попасть её краю во внутренний паз:
Внутренний паз диафрагмы
- Далее смазываем герметиком посадочное место шайбы на шпильке с гофрой…
Смазка герметиком
- …и место стыка кронштейна педали с корпусом вакуумного усилителя:
Герметизация
- На этом ремонт вакуумного усилителя можно считать законченным, остаётся лишь аккуратно завальцевать места крепления ранее развальцованных половинок. Установка «вакуумника» происходит строго в обратной последовательности.
Шипение при работающем двигателе+ видео по диагностике и замене
Данная неполадка возникает при подсосе воздуха в вакуумном патрубке усилителя тормозов.
Необходимо проверить на наличие подсосов как сам патрубок, так и места его соединений со впускным коллектором и ВУТ. Так как при данной неисправности происходит разгерметизация впускной системы двигателя, то в третьем и четвёртом цилиндре происходит обеднение воздушной смеси и двигатель начинает «троить». Более подробно о диагностике данной неисправности можете узнать в этой видеоинструкции.
Мягкая, «ватная» педаль тормоза
Как правило, в этом случае происходит подсос воздуха в гидравлическую часть тормозной системы вследствие её разгерметизации. Выявляется визуальным осмотром и контролем за уровнем тормозной жидкости в расширительном бачке. Если же утечки не выявлены, а уровень жидкости в бачке продолжает убывать, то необходимо проверить целостность внутренней манжеты главного тормозного цилиндра со стороны ВУТ.
Последствия утечки через внутреннюю манжету ГТЦ
После того как утечка найдена, тормоза необходимо прокачать.
Автомобиль не «дотормаживает»
Эта неисправность встречается крайне редко и проявляет себя обычно после снятия/установки вакуумного усилителя с последующим его ремонтом. Для предотвращения этого «конфуза» необходимо проверять длину выходящего из корпуса ВУТ штока, в противном случае его может просто не хватить для полного хода поршней в главном тормозном цилиндре.
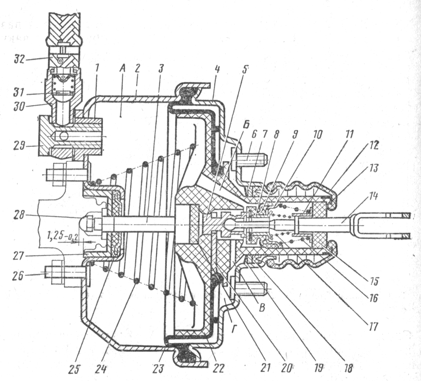
Регулировочный болт находится по номером 4
С помощью регулировочного болта (№4) необходимо сделать так, чтобы шток-толкатель был выше плоскости корпуса вакуумного усилителя на 1,25 миллиметров. Как правило, данную регулировку производит завод-изготовитель и каких-либо нареканий к вновь приобретённым ВУТ не возникает.
Рассмотренные в данной статье вопросы устройства, работы и ремонта вакуумного усилителя тормозов ВАЗ 2110 актуальны для всех типов отечественных автомобилей, могут лишь иметь место незначительные различия во внешнем виде ВУТ и его монтажных креплений.
Как вы сами смогли убедиться, несмотря на то, что вакуумный усилитель тормозов играет очень значимую роль в тормозной системе автомобиля, выявление его неисправностей и ремонт не требуют от вас каких-то необычайных навыков и знаний.
Как говорится, «не боги горшки обжигают». Удачи!
- Автор: Олег Вавилов
- Распечатать
• Мне 38 лет, стаж копирайтера 5 лет;
Оцените статью:
(6 голосов, среднее: 4.7 из 5)
Поделитесь с друзьями!
Признаки неисправного или неисправного обратного клапана вакуумного усилителя тормозов
Признаки неисправного или неисправного обратного клапана вакуумного усилителя тормозов | Совет вашего механикаЗадайте вопрос, получите ответ как можно скорее!
ЗАПРОСИТЬ ЦЕНУ
Стоимость осмотра тормозной системы
Место обслуживания
$94,99 — $114,99
Диапазон цен для всех автомобилей
Многие автомобили используют вакуумный усилитель тормозов для обеспечения дополнительной мощности тормозной системы. Он предназначен для обеспечения непрерывного потока гидравлической тормозной жидкости к главному тормозному цилиндру, одновременно повышая тормозное давление и облегчая остановку тяжелых транспортных средств.
Этот компонент распространен на различных легковых автомобилях, грузовиках и внедорожниках. Время от времени вакуумный усилитель тормозов подвержен повреждениям или обычному износу. Это включает в себя обратный клапан усилителя тормозов.
Обратный клапан предназначен для отсасывания воздуха, попавшего в усилитель тормозов, без поступления дополнительного воздуха в цилиндр. Это защищает тормозные магистрали от образования пузырьков воздуха, которые могут серьезно повлиять на эффективность торможения. Эта деталь соединяет корпус усилителя тормозов с вакуумным шлангом и представляет собой решение для обеспечения безопасности, позволяющее тормозам работать даже при выключенном двигателе.
Обычно обратный клапан вакуумного усилителя тормозов не проверяется во время планового технического обслуживания, но бывают случаи, когда эта деталь может иметь признаки износа или обратный клапан усилителя полностью вышел из строя. Вот несколько из этих предупреждающих знаков, чтобы вы могли определить, существует ли потенциальная проблема с обратным клапаном вакуумного усилителя тормозов.
Помните, что это общие предупреждающие знаки, которые должны быть профессионально диагностированы сертифицированным механиком и должным образом отремонтированы.
1. Педаль тормоза нажимается с трудом
Когда обратный клапан вакуумного усилителя тормозов работает правильно, нажатие на педаль тормоза происходит легко и очень плавно. Когда обратный клапан работает неправильно, работа тормозов становится намного сложнее. В частности, педаль меняется от гладкой и мягкой до агрессивной, и ее очень трудно нажимать. Это связано с избыточным давлением внутри главного цилиндра, которое призван регулировать обратный клапан. Непоследовательность педали тормоза является предупреждающим признаком того, что существует потенциальная проблема безопасности с тормозами, и ее следует немедленно проверить сертифицированным механиком.
2. Тормоза кажутся губчатыми
По мере увеличения проблемы с обратным клапаном вакуумного усилителя тормозов пузырьки воздуха будут постепенно перемещаться по тормозным магистралям и к самим тормозам.
При этом воздух, который должен быть удален обратным клапаном, попадает в главный цилиндр и далее в тормозные магистрали. Это вызывает снижение давления внутри тормозных магистралей и может привести к мягкому торможению. Во время вождения будет ощущаться, как будто педаль тормоза провисла, однако тормозам также потребуется больше времени, чтобы остановить автомобиль.
Эта ситуация требует немедленной проверки тормозной системы. Когда воздух попадает в тормозные магистрали, он обычно задерживается из-за того, что тормоза управляются гидравлически. Для удаления воздуха из тормозных магистралей необходимо прокачать тормозную систему. Таким образом, если вы столкнулись с подобной проблемой в своем автомобиле, как можно скорее прекратите движение и проверьте всю тормозную систему профессионально.
3. Тормоза перестают работать
В худшем случае происходит полная поломка обратного клапана вакуумного усилителя тормозов, что в итоге приводит к отказу тормозной системы.
Надеюсь, вы никогда не дойдете до этого момента, но если вы это сделаете, безопасно остановите автомобиль, отбуксируйте его домой и обратитесь к механику, который сертифицирован для проверки и замены тормозной системы. В зависимости от того, что на самом деле сломалось, ремонт может варьироваться от простой замены обратного клапана вакуумного усилителя тормозов до полного ремонта и замены тормозной системы.
Обратный клапан вакуумного усилителя тормозов важен для тормозной системы и обеспечивает безопасность. Именно из-за этих фактов вышеперечисленные проблемы и симптомы не следует игнорировать или откладывать на другой день. Обратитесь к сертифицированному механику ASE, чтобы проверить, правильно диагностировать и выполнить соответствующие сервисные регулировки ваших тормозов.
Следующий шаг
Запланировать осмотр тормозной системы
Самая популярная услуга, которую заказывают читатели этой статьи, — техосмотр тормозной системы. После того, как проблема будет диагностирована, вам будет предоставлена предварительная стоимость рекомендуемого исправления, а также скидка в размере 20 долларов США в качестве кредита на ремонт.
Технические специалисты YourMechanic доставят вам услуги дилера, выполняя эту работу у вас дома или в офисе 7 дней в неделю с 7:00 до 9:00.ВЕЧЕРА. В настоящее время мы охватываем более 2000 городов и имеем более 100 тысяч 5-звездочных отзывов…
УЧИТЬ БОЛЬШЕ
СМОТРЕТЬ ЦЕНЫ И РАСПИСАНИЕ
вакуум
клапаны
тормозная система
усилитель
Заявления, приведенные выше, предназначены только для информационных целей и требуют независимой проверки. Пожалуйста, смотрите наш условия обслуживания для более подробной информации
Отличные рейтинги авторемонта.
4.2 Средняя оценка
Часы работы
7:00–21:00
7 дней в неделю
Номер телефона
1 (855) 347-2779
Часы работы телефона
Пн — Пт / 6:00 — 17:00 по тихоокеанскому времени
Сб — Вс / 7:00 — 16:00 по тихоокеанскому стандартному времени
Адрес
Мы приедем к вам без дополнительной оплаты
Гарантия
Гарантия 12 месяцев/12 000 миль
Наши сертифицированные выездные механики выполняют более 600 услуг, включая диагностику, тормоза, замену масла, плановые ТО, и приедут к вам со всеми необходимыми запчастями и инструментами.
Получите честное и прозрачное предложение прямо перед бронированием.
Отличный рейтинг
Резюме рейтинга
См. Обзоры возле ME
Johnny
33 года опыта
264 Обзоры
Запрос Johnny
Johnny
33 года. Toyota RAV4 L4-2.4L — Осмотр тормозной системы — Сакраменто, Калифорния
Джонни прибыл раньше, и это было здорово, он провел осмотр менее чем за полчаса и дал нам полное предложение по всем пунктам, требующим внимания, включая тормоза, как наша главная забота. Джонни быстр и эффективен, поэтому я запланировал работу, выполненную им.
Деннис
Ford Escape — Проверка тормозной системы — Сакраменто, Калифорния
Удобство стоит затрат. Я также устал от того, что дилерский центр не особо заботился о моей старой машине. Последние пару раз мне приходилось ждать более часа, чтобы получить свою машину после того, как в автосалоне сказали: «Все готово!».
Они также не будут исправлять то, что я просил, говоря, что у них нет времени, и мне нужно вернуться.
Джей
37 лет опыта
947 отзывов
Запрос Джей
Джей
37 лет опыта
Запрос Джей
Эрнест
Chevrolet C10 Pickup V8-5.4L — Осмотр тормозной системы — Долина Морено, Калифорния
Дружелюбный, знающий, терпеливый! Отвратительно ЧЕСТНЫЙ, когда я пытался завалить его деньгами, алкоголем, работой на стороне и дикими танцовщицами — хотя я бы не стал его «сдавать», если бы он согласился. Такому парню нужна «доля побольше», чем та, которую вы ему платите… потому что в наши дни трудно найти подобную преданность! БЛАГОДАРНОСТЬ!
Рашон
Volkswagen Jetta — Инспекция тормозной системы — Долина Морено, Калифорния
Как обычно, г-н Джей обеспечивает эффективное и профессиональное качество работы. Я очень рекомендую его всем клиентам, которые ищут хорошего механика.
Кристофер
10 лет опыта
114 отзывов
Запрос Кристофер
Кристофер
10 лет опыта
Запрос Кристофер
Патрик0003
Ford Explorer V6-3.
5L — Проверка тормозной системы — Кэти, Техас
Кристофер был очень хорошо осведомлен и смог решить наши проблемы. Мы бы доверили ему будущие потребности в обслуживании.
Jesse
16 -летний опыт
61 Обзоры
Запрос Jesse
Jesse
16 -летний опыт
Запрос Jesse
от Eric
Nissan Frontier V6-3.3 Флорида
Джесси нашел время, чтобы объяснить все, что будет сделано и почему, а затем приступил к ремонту моего грузовика не только профессионально, но и быстро. Будучи инвалидом-ветераном и больше не способным выполнять необходимую работу, приятно знать, что такой механик, как Джесси, найдет время, чтобы объяснить все различные проблемы и то, что нужно сделать, прежде чем вам понадобится все необходимое. После того, как Джесси прошел через все, я почувствовал себя комфортно, что вся работа требуется и нужна. 8 могу с уверенностью сказать, что снова буду использовать yourmechanoc .com и надеюсь, что смогу запросить Jess
Нужна помощь с вашим автомобилем?
Наши сертифицированные мобильные механики выезжают на дом в более чем 2000 городов США.
Быстрые, бесплатные онлайн-расценки на ремонт вашего автомобиля.
ПОЛУЧИТЬ ЦЕНУ
ПОЛУЧИТЬ ЦЕНУ
Статьи по Теме
Как долго служит обратный клапан воздушного насоса?
В В современных системах контроля выбросов имеется система впрыска вторичного воздуха, которая подает воздух в выхлопную систему, одновременно предотвращая выход выхлопных газов в атмосферу. Это не только уменьшает загрязнение; это улучшает…
Как проверить регулировку зазора клапана
Термин «регулировка клапана» является оксюмороном. На самом деле регулируется зазор между тягой распределительного вала и клапаном (https://www.yourmechanic.com/article/symptoms-of-a-bad-or-failing-valve-cover-gasket). Чаще всего его называют зазором клапана. Эта система, которая связывает распределительный вал…
Что означает сигнальная лампа тормозной системы (ручной тормоз, стояночный тормоз)?
Когда горит сигнальная лампа тормозной системы, тормоза могут работать неправильно.
Возможно, включен стояночный тормоз или низкий уровень жидкости.
Похожие вопросы
Автомобиль сильно трясется при торможении
Тряска при торможении, скорее всего, вызвана деформацией одного или нескольких тормозных дисков. Ваш руль не стоит прямо, возможно, из-за изношенного компонента подвески в передней части вашего джипа. Это…
Пропуски зажигания во 2-м цилиндре
Вам необходимо вытащить катушку и проверить, есть ли масло в свечном отверстии или на чехле свечного провода. Если есть, то после очистки замените клапанную крышку и пыльники свечей…
Я чувствую запах горящего пластика после 45-минутной поездки, но показания всех датчиков в норме, а жидкости в норме.
Проверьте тормоза на передней части фургона. Возможно, колодки не освобождаются должным образом и обжигают тормозные колодки, вызывая запах горелого пластика. Тормозная система могла заедать и не втягиваться, вызывая.
..
Просмотрите другой контент
Техническое обслуживание
Смета
Услуги
Наша команда обслуживания доступна 7 дней в неделю, с понедельника по пятницу с 6:00 до 17:00 по тихоокеанскому времени, с субботы по воскресенье с 7:00 до 16:00 по тихоокеанскому стандартному времени.
1 (855) 347-2779 · [email protected]
Читать часто задаваемые вопросы
ЗАПРОСИТЬ ЦЕНУ
Вакуумный усилитель тормозов ВАЗ 2105 признаки неисправности. Как проверить вакуумный усилитель тормозов
Не верьте тем, кто говорит, что тормоза придумали трусы. Их придумали очень умные и долгожители, а вакуумный усилитель тормозов тоже придумали очень ленивые люди. Для того чтобы проверить необходимость ВУТ на автомобиле, попробуйте остановить его, нажав на педаль тормоза при выключенном двигателе на малых оборотах. Скорее всего, чтобы полностью остановиться, вам придется так сильно нажимать на педаль тормоза, что вам даже потребуется немного приподняться в кресле.
Представляете, если вас ждет такой сюрприз при интенсивном движении в потоке машин, да еще и на спуске? Поэтому к этому вопросу просто необходимо отнестись со всей серьезностью и полной ответственностью за свою и чужую безопасность. Итак, давайте разберемся, как производится ремонт ВУТ и замена его комплектующих.
Общее устройство тормозной системы ВАЗ 2110
Вакуумный усилитель тормозов ВАЗ-2110 располагается в моторном отсеке автомобиля между главным тормозным цилиндром и педалью тормоза.
Схема ВУТ
Принцип работы вакуумного усилителя тормозов кратко рассмотрен на следующем рисунке:
Принцип работы следящего клапана (на рисунке не показан). При нажатии на педаль тормоза шток перемещает диафрагму влево, толкающий клапан разъединяет полости и в полости «А» создается разрежение. А так как полость «Б» все еще находится под атмосферным давлением, то оба этих условия (вакуум + атмосферное давление) вместе дают дополнительную тормозную силу.
Подробно работу всей тормозной системы автомобиля в совокупности можно рассмотреть в следующем видео уроке.
Как это работает (на видео)
Диагностика вакуумного усилителя своими руками
В первую очередь нужно сказать, что неисправности и выход из строя вакуумного усилителя не фатальны. Отмечается лишь характерное затруднение при торможении автомобиля и в некоторых случаях нарушение стабильной работы двигателя. В любом случае перед поездкой можно самостоятельно провести достаточно эффективную и не требующую особых навыков проверку работы вакуумного усилителя тормозов, для этого:
- При неработающем двигателе несколько раз нажать на педаль тормоза полного хода;
- Держите ее нажатой;
- Заводим двигатель.
Если при этом педаль немного «ушла» в пол, то с вашим вакуумным усилителем все в порядке, если нет, то продолжаем дальнейшую диагностику системы.
Основные признаки неисправностей ВУТ (таблица)
Способы ремонта или замены деталей
Шипение при торможении (с видеопримером)
Этот характерный звук вы можете услышать в следующем видео:
Кстати, по инструкции штатный «вакуумный бак» ВАЗ-2110 ремонту не подлежит, только замена, но мы «своими руками».
И судя по количеству выложенных в сети различных инструкций по самостоятельному ремонту автомобилей, можно утверждать, что любому отечественному автолюбителю со стажем более пяти лет смело можно заочно присвоить звание инженера-конструктора. Поэтому рассмотрим порядок ремонта, тем более что разница в стоимости между ремкомплектом и самим вакуумным усилителем несоразмерно велика.
В любом случае сначала придется демонтировать ВУТ, для этого понадобится минимум подручных средств.
Инструменты
- Рожковые и торцевые ключи размеров «10», «13», «17»;
- Мощная плоская отвертка;
- Ремкомплект или ВУТ в сборе; Герметик
- и немного желания сделать все самому.
Разборка
На данном этапе у нас есть выбор: либо делать все как сказано в инструкции производителя (отсоединить главный тормозной цилиндр от ВУТ, открутив от него все тормозные трубки, а затем прокачать его) или немного проще и с малой кровью (просто отодвигая ее в сторону).
В любом случае выбор за вами, но я пойду по простому пути:
- Отсоедините толкатель от педали тормоза:
Снимите фиксатор, вытащите палец
- Отсоедините колодку с проводами от датчика уровня тормозной жидкости:
Отсоедините колодку
- Удерживая обратный клапан, снимите с него вакуумную трубку:
Снятие вакуумной трубки
- Демонтируем вакуумный усилитель вместе с кронштейном:
Демонтаж ВУТ
- Открутив две гайки крепления кронштейна педали и поддев его отверткой, отсоедините его от «вакуумной коробки»:
Гайки на «17» Ремонт
- Аккуратно развальцовать корпус вакуумного усилителя мощной отверткой и молотком:
развальцовка
- Так как внутри находится возвратная пружина, для предотвращения «выстрела» свободной половины накручиваем на шпильки открученные ранее гайки.
Вот такая картина у нас получилась:Дефект диафрагмы
- Далее разобрать диафрагму не получится, так как шпильки, крепящие ее к корпусу, заклепаны. Достаточно снять его манжету с тела относительно легким движением руки:
Демонтаж
- Сами видите, каталожный номер «родной» и купленной манжеты совпадает!
Каталожный номер
- Устанавливаем манжету в корпус диафрагмы, при этом аккуратно помогая отверткой, чтобы ее край попал во внутренний паз:
Внутренний паз диафрагмы
- Далее смазываем посадочное место шайбы на шпильке с гофрой герметиком…
Герметик для смазки
- …и место соединения кронштейна педали с корпусом вакуумного усилителя:
Уплотнение
- На этом ремонт вакуумного усилителя можно считать завершенным, осталось только аккуратно закатать места крепления ранее развальцованных половинок. Установка «вакуума» происходит строго в обратном порядке.

В моторном отсеке открутить две гайки крепления главного тормозного цилиндра к «вакууму»:
Две гайки на «17»
Как раз к этому моменту все «мануалы» требуют отсоединения тормозных трубок от ГТЦ, а я предлагаю открутить всего одну гайку крепления тормозных магистралей к салону и просто убрать ГТЦ в сторону:
Гайка на «10»
В салоне под панелью приборов отвернуть четыре гайки крепления кронштейна педали тормоза:
Гайки на «13»
Приобретаем ремкомплект ВАЗ — 2108/2109 в магазине:
Содержимое ремкомплекта
Шипение при работе двигателя + видео по диагностике и замене
Данная проблема возникает при подсосе воздуха в вакуумную трубку усилителя тормозов. Необходимо проверить на герметичность как сам патрубок, так и места его соединений с впускным коллектором и ВУТ. Так как при этой неисправности система впуска двигателя разгерметизируется, воздушная смесь обедняется в третьем и четвертом цилиндрах и двигатель начинает «троить». Подробнее о диагностике данной неисправности вы можете узнать в этой видеоинструкции.
Мягкая «ватная» педаль тормоза
Как правило, в этом случае происходит подсос воздуха в гидравлическую часть тормозной системы из-за ее разгерметизации. Выявляется визуальным осмотром и контролем уровня тормозной жидкости в расширительном бачке. Если течи не обнаружено, а уровень жидкости в бачке продолжает снижаться, то необходимо проверить целостность внутренней манжеты главного тормозного цилиндра со стороны ВУТ.
Болт регулировочный № 4
Болтом регулировочным (№ 4) необходимо выдвинуть шток толкателя на 1,25 мм выше плоскости корпуса вакуумного усилителя.
Как правило, эта регулировка производится заводом-изготовителем и к вновь купленному ВУТ претензий нет.
Рассматриваемые в данной статье вопросы устройства, эксплуатации и ремонта вакуумного усилителя тормозов ВАЗ 2110 актуальны для всех типов отечественных автомобилей, могут быть лишь незначительные отличия во внешнем виде ВУТ и его крепежных приспособлениях.
Как вы сами могли убедиться, несмотря на то, что вакуумный усилитель тормозов играет весьма существенную роль в тормозной системе автомобиля, выявление его неисправностей и ремонт не требует от вас каких-то экстраординарных навыков и знаний. Как говорится, «не боги горшки обжигают». Удачи!
Вакуумный усилитель тормозов обеспечивает лучшую динамику торможения автомобиля и значительно повышает комфорт управления. На практике работа ВУТ выражается в эффективном торможении при минимальном усилии на педаль. Использование активных систем помощи при экстренном торможении значительно повышает безопасность дорожного движения.
Устройство ВУТ
Вакуумный усилитель тормозов в большинстве автомобилей располагается возле моторного щита и представляет собой монолитный узел с ГТЦ и бачком для тормозной жидкости.
Для усиления тормозного усилия в конструкции ВУТ используются:
- корпус металлический;
- разделительная диафрагма из пластика; обратный клапан
- ;
- Толкатель педального узла; регулирующий клапан
- ;
- шток гидроцилиндра;
- возвратная пружина.
Принцип работы
Прижимное усилие тормозных колодок в автомобилях, конструкция которых не требует установки ВУТ, накачивается усилием, создаваемым водителем при нажатии на педаль. Вакуумный усилитель тормозов использует разницу атмосферного давления для создания вакуума, тем самым способствуя созданию давления в тормозной магистрали.
Начнем с того, что рабочая диафрагма разделяет корпус на атмосферную и вакуумную (расположенные со стороны ГТЦ) камеры.
Он соединен через толкатель с педалью. Когда тормоза не задействованы, следящий клапан поддерживает одинаковое давление в двух камерах. Нажатие на педаль тормоза приводит к тому, что толкающий клапан «перерезает» соединение. Перепускной клапан уравнивает давление атмосферной части кузова с моторным отсеком. Вакуум, который все это время сохранялся в корпусе ВУТ, теперь притягивает диафрагму. Как только водитель отпускает педаль тормоза, возвратная пружина возвращает упругую перегородку в исходное положение.
Низкое давление в корпусе, питающее вакуумный усилитель, создается через шланг, соединяющий вакуумную секцию с впускным коллектором. Это происходит за счет разрежения, создаваемого поршнем, опускающимся к НМТ при впуске топливно-воздушной смеси. Если вакуума бензинового двигателя достаточно для нормальной работы ВУТ, то дизели в обязательном порядке оснащаются вакуумным насосом, предназначенным для откачки вакуума. В зависимости от конструкции (лепестковая, мембранная) в движение приводится такое устройство: ТНВД, генератор или распределительный вал.
Поломки ВУТ
Неисправности вакуумного усилителя могут влиять не только на эффективность тормозной системы, но и на работу бензинового двигателя. К основным видам повреждений относятся:
- нарушение герметичности системы, повреждение шланга; обеспечение вакуума;
- разрыв диафрагмы;
- повреждение рабочих клапанов или связанных с ними деталей (пружины, клапаны).
Неисправный усилитель тормозов не лишает автомобиль тормозов, но может значительно затруднить управление автомобилем.
Если вы заметили изменения в работе усилителя тормозов, не спешите менять шланг или ремонтировать усилитель тормозов. На некоторых автомобилях заслонка рециркуляции воздуха в салоне напрямую связана с работой усилителя. Симптомы разгерметизации этой системы аналогичны тем, которые проявляются при поломках ВУТ.
Самодиагностика
Простой принцип работы позволяет проводить диагностику своими руками.
Ремонт вакуумного усилителя следует доверить специалистам. Несколько простых методов помогут вам определить исправность системы:
- После кратковременной работы двигателя выключите автомобиль и несколько раз нажмите на педаль тормоза. При исправном усилителе первое нажатие будет легким, а все последующие потребуют усилий. Каждый последующий ход педали будет короче;
- остановите двигатель и подождите несколько минут. Проверить ВУТ на герметичность можно, вытащив из впускного коллектора шланг, идущий к нему. Если есть вакуум, вы услышите хлопок выходящего воздуха;
- При выключенном двигателе резко нажмите педаль тормоза несколько раз подряд. Запустите двигатель, продолжая удерживать педаль. Как только двигатель запустится, работающий вакуумный усилитель тормозов сделает педаль «мягкой» и она провалится;
- Одной из самых распространенных проблем является утечка воздуха. Проверьте шланг подачи вакуума на наличие механических повреждений, а также герметичность его соединения с корпусом.
В этом случае может потребоваться срочный ремонт ВУТ. Такого «подсоса» воздуха вполне достаточно, чтобы бензиновый двигатель начал троить; - двигатель выключен. При первом нажатии на педаль должен появиться звук поступления воздуха в атмосферную часть корпуса. Если этого нет, то порвалась мембрана или неисправен перепускной клапан.
Перечисленные признаки неисправного усилителя тормозов помогут в кратчайшие сроки диагностировать и устранить поломку.
Еще сравнительно недавно для того, чтобы остановить одну из старых моделей автомобилей, необходимо было приложить значительное усилие к педали тормоза, а спустя некоторое время в устройстве автомобилей появился вакуумный усилитель тормозов. Это устройство значительно облегчает управление автомобилем, но, тем не менее, требует периодического ремонта и контроля за своим техническим состоянием.
Устройство вакуумного усилителя тормозов – схематический обзор
Устройство вакуумного усилителя тормозов неразрывно связано с.
Его основу составляет корпус, разделенный диафрагмой на две камеры. Вакуумная камера расположена сбоку главного цилиндра, где она соединена со специальным обратным клапаном. Именно в этой области создается вакуум. Атмосферная камера расположена со стороны педали тормоза и с помощью следящего клапана соединяется, в свою очередь, с вакуумной камерой или с атмосферой.
Сам клапан приводится в движение толкателем, а тормозная жидкость впрыскивается в рабочие цилиндры с помощью поршня. В конце торможения возвратная пружина приводит в движение диафрагму, возвращая ее в исходное положение. Некоторые модели усилителей могут быть оснащены электромагнитным приводом штока, выполняющим функцию системы экстренного торможения.
Принцип работы вакуумного усилителя тормозов и признаки неисправности
Основной принцип работы вакуумного усилителя тормозов основан на разнице давлений, образующихся в вакуумной и атмосферной камере. Именно эта разница влияет на толкатель, перемещающий шток главного цилиндра системы.
Для поддержания разрежения на должном уровне используется обратный клапан вакуумного усилителя тормозов.
В режиме разреженной атмосферы воздух через этот клапан отсасывается из усилителя, но обратно через него уже не поступает.
Особое внимание при проверке тормозной системы следует обратить на техническое состояние вакуумного усилителя. Хотя его неисправности не вызывают катастрофических последствий, тем не менее требующая повышенного усилия педаль тормоза создает дискомфорт и затрудняет управление автомобилем. Есть, конечно, неисправности, которые все же требуют ремонта или даже замены устройства.
В первую очередь может разгерметизироваться или оборван шланг вакуумного усилителя тормозов, соединяющий его с коллектором. После того, как будет слышно шипение, проверяют состояние самого шланга и качество затяжки хомутов. Кроме того, частой причиной является порванная диафрагма или старая резина в клапанах, через которые также может выходить воздух.
Вакуумный усилитель тормозов — как добраться до поломки?
Чтобы точно определить неисправность, необходимо внимательно изучить инструкцию по эксплуатации автомобиля, в которой описана конкретная модель вакуумного усилителя. Иногда причина довольно проста, когда двигатель начинает троить из-за подсоса лишнего воздуха и обеднения рабочей смеси. При проведении визуального осмотра необходимо выявить течи на корпусе усилителя и обязательно выяснить причины их возникновения.
Для эффективного ремонта вакуумного усилителя необходим соответствующий конкретной модели ремкомплект и стандартный набор инструментов. Чаще всего производится полная замена устройства на новое, устанавливаемое в сборе. Для того, чтобы приступить к ремонту или замене, отсоединяют тягу привода, расположенную в салоне, возле рулевого вала на педали тормоза. После этого в моторном отсеке нужно отсоединить главный тормозной цилиндр. В конце вакуумный шланг снимается с обратного клапана.
Теперь усилитель открыт для доступа, вы можете его отремонтировать или заменить.
Любой автомобиль, сходящий сегодня с конвейера автозавода, обязательно оснащается вакуумным усилителем тормозов, который уже давно стал неотъемлемой частью тормозной системы. Он предназначен для облегчения торможения, позволяя при небольшой физической нагрузке со стороны водителя придать тормозной системе максимальное усилие, чтобы торможение было эффективным.
Усилитель тормозов не сложен по конструкции, поэтому проблемы с ним возникают не так часто, а некоторые из них можно попробовать решить, не прибегая к замене всего узла. При необходимости проведения ремонта имеет смысл заранее приобрести ремкомплект вакуумного усилителя тормозов, в состав которого входят детали, подверженные наибольшему износу. Если усилитель демонтируется при ремонте автомобиля, многие специалисты рекомендуют заменить эти детали, что продлит срок безотказной работы всего агрегата.
Усилительное устройство
Представляет собой довольно простое устройство, корпус которого разделен внутри на две половины герметичной мембраной, соединенной со штоком, ведущим к главному тормозному цилиндру всей системы.
Первая камера усилителя сообщается с атмосферой и поддерживается при нормальном давлении. Вторая камера безвоздушная, и при работающем двигателе в ней поддерживается вакуум, что позволяет эффективно работать усилителю, передавая мощность от педали к тормозному цилиндру.
Для обеспечения возможности сообщения с атмосферой или источником вакуума на корпусе имеется обратный клапан вакуумного усилителя тормозов. Впускной коллектор используется как источник постоянного вакуума при работающем двигателе. Этим и объясняется тот факт, что устройство работает только при включенном моторе. После его остановки внутри усилителя сохраняется вакуум, который вскоре исчезает.
Самотестирование усилителя
Иногда явные признаки сломанного или плохо работающего усилителя тормозов не так просто заметить. Чтобы избежать серьезных проблем с этим устройством, следует периодически проводить элементарные диагностические мероприятия.
- При заглушенной машине нужно несколько раз нажать на педаль тормоза, что уравняет давление в камерах.
При последующих нажатиях не должно быть посторонних звуков: скрипа или скрежета, свидетельствующих о начавшихся проблемах с мембраной или пружиной, возвращающей ее в исходное положение. - После нескольких нажатий на педаль следует зафиксировать ее в нажатом положении и завести автомобиль. Если педаль при этом поднимается, система полностью исправна, если остается утопленной в пол, проблемы с усилителем серьезные, и вмешательства уже недостаточно.
После этого, особенно если отмечаются какие-то тревожные симптомы, следует внимательно осмотреть шланг вакуумного усилителя тормозов и его фланец. За долгие годы эксплуатации автошланг может изнашиваться и трескаться, а крепления могут терять первоначальную герметичность – устройство с такими шлангами не способно обеспечить эффективную работу, так как поддержание вакуума будет невозможно.
Важно! Неисправный усилитель тормозов оказывает существенное влияние на мощность двигателя, постоянно снижая ее.
Поэтому помимо снижения эффективности самого торможения, параллельно увеличивается расход топлива, двигатель может начать троить.
Возможные неисправности усилителя
Поскольку корпус устройства герметичен, внешние воздействия на его внутренние части просто исключены. Поэтому все неисправности или поломки вызваны естественными процессами старения или износа материалов. Некоторые из наиболее распространенных признаков неисправности усилителя тормозов включают следующее:
- износ клапана;
- надрывы или трещины в самой диафрагме;
- весенние каникулы;
- износ/трещины внешних шлангов, в том числе ведущих к впускному коллектору, что обеспечивает поддержание вакуума в системе.
Для некоторых опытных автовладельцев неисправности вакуумного усилителя тормозов очевидны, а кто-то может несколько месяцев ездить на «троящем» двигателе, с повышенным расходом топлива и не знать истинной причины этого. Утечка воздуха через вакуумный усилитель тормозов, и связанное с этим падение мощности двигателя, может оказаться фатальным при попытке совершить быстрый обгон, ведь быстрый разгон зачастую просто невозможен.
Ремонт «вакуумного бака» своими руками
Конечно, данный агрегат не представляет особой сложности, однако, чтобы провести качественный ремонт своими силами, неплохо было бы иметь хотя бы минимальные навыки в сфере сантехнических работ. Перед тем, как приступить к ремонту вакуумного усилителя тормозов, обязательно нужно ознакомиться с инструкцией по обслуживанию данного узла. Это поможет избежать некоторых фатальных ошибок, приводящих к необходимости полной замены узла. Сам ремонт трудностей не вызывает, а при должной аккуратности, как правило, заканчивается успехом.
Алгоритм ремонта прост:
- ознакомление с инструкцией;
- отсоединение устройства от педали;
- демонтаж ВУС;
- разборка корпуса и замена поврежденных элементов.
Следует помнить, что разборку вакуумного усилителя тормозов следует производить максимально аккуратно, не допуская дополнительных повреждений крепежа или корпуса устройства.
Все манипуляции необходимо производить в достаточно чистом, хорошо освещенном месте. Новичкам будет полезно запомнить все этапы разбора, чтобы не ошибиться при сборке. Будет полезно посмотреть следующее видео:
Демонтаж усилителя тормозов
Перед тем, как приступить к демонтажу, следует подготовить необходимый набор инструментов и ремкомплект, если предполагается ремонт, а не замена. В последнем случае предварительно приобретается аналогичная модель сменного узла. Из инструментов вам потребуются отвертка и плоскогубцы, накидные ключи, а также специальный ключ, позволяющий откручивать тормозные трубки. Новые фитинги и заглушки лучше купить сразу, а при переустановке агрегата заменить. Процесс демонтажа выглядит следующим образом.
Удобнее будет открутить узел вместе с монтажной рамкой, и только потом их откручивать. Если требуется замена вакуумного усилителя тормозов, то на раму устанавливается новый, прикручивается, и после этого вся конструкция устанавливается на место – остается только затянуть крепеж, вернуть цилиндр на место и подключить все коммуникации к обоим узлам.
Большинство современных автомобилей оснащены гидравликой. Дополняется вакуумным усилителем. Этот механизм в несколько раз увеличивает усилие, прикладываемое водителем к педали. Другими словами, с «вакуумом» тормозить намного легче. Однако, как и любой другой механизм, усилитель может дать сбой. В сегодняшней статье мы рассмотрим, как работает вакуумный усилитель тормозов, как его проверить и каков его принцип работы.
Устройство
Конструкция данного элемента предполагает наличие следующих деталей:
- диафрагмы.
- атмосферный канал.
- толкатель.
- Склад.
- вакуумный канал.
- поршень и возвратная пружина.
Как это работает?
Принцип работы основан на перепаде давления. Корпус усилителя включает две цепи, разделенные мембраной. Одна часть контура подключена к шлангу (откуда вакуум). Другой конец подсоединяется к следящему клапану. Он контролирует изменение вакуума и регулирует параметры.
Во время движения автомобиля или на холостом ходу (когда педаль не нажата) диафрагма находится в неподвижном состоянии. Как только водитель нажимает на тормоз, вакуум блокируется следящим клапаном. Диафрагма движется к тормозному цилиндру и толкает шток. Последнее также увеличивает это усилие. Если нажать педаль до упора, отверстие увеличится. При более высоком атмосферном давлении вакуум также увеличивается. В результате отклик на педаль становится острее. При отпускании педали диафрагма возвращается на свое место. Тормозные колодки ослабевают.
Как проверить? Метод №1
Существует несколько методов диагностики этого элемента. Обо всех них пойдет речь в нашей статье. Итак, как проверить усилитель тормозов своими руками? Вы можете диагностировать устройство, не снимая его с места установки.
Итак, запускаем двигатель и через 10 и более секунд работы глушим его. Далее с обычным усилием нажимаем на педаль до упора. Если элемент исправен, система сработает один раз и вакуум притянет диафрагменную пружину.
При последующих нажатиях давление в системе будет отключено. Ход педали будет все меньше и меньше. Но нам важно обеспечить тормозное усилие при первом нажатии. Если устройство прошло проверку, оно находится в рабочем состоянии. Важный момент: педаль при следующем старте (если она зажата в пол) должна уйти вниз. Это свидетельствует о том, что в системе накопилось достаточное давление. Обе схемы правильные.
Метод № 2
Этот метод проверки заключается в следующем. Нужно запустить двигатель и нажать на педаль. После этого выключите двигатель. При этом педаль держим в полу, не отпуская ее. Отпустите через 20-30 секунд. Механизм должен вернуться в исходное положение, потому что в контуре образовалось избыточное давление. Если педаль «провалилась», это говорит о негерметичности вакуумной камеры.
Требуется ремонт или замена усилителя тормозов. Цена нового элемента около тысячи рублей. Для иномарок типа «Мицубиси Лансер» этот показатель в несколько раз выше (3-4 тысячи).
Поэтому иногда целесообразно произвести ремонт вакуумного усилителя тормозов. Ниже мы рассмотрим, как это сделать.
Ремонт вакуумного усилителя тормозов: что не так?
Часто при выходе из строя «вакуума» выходит из строя диафрагма. При наличии зазоров с наружной части корпуса в вакуумную полость поступает воздух. Из-за этого система не производит желаемого вакуума.
Но обратный клапан усилителя тоже выходит из строя. Поломка может быть и в банальном «подсосе» воздуха. Из-за этого также не работает вакуумный усилитель тормозов. Как это проверить? При работе двигателя будет издавать характерный шипящий звук. Утечка возникает из-за плохо закрученных хомутов или негерметичных патрубков. Меньше всего усилитель не работает из-за отсутствия компрессии в цилиндре. Вакуумный шланг подсоединен к четвертому цилиндру. Если компрессия в нем ниже 9точек, могут быть проблемы с «вакуумным баком».
Демонтаж
Замена вышедших из строя элементов на месте невозможна.
Нужно снять вакуумный усилитель тормозов. ВАЗ классических моделей (в том числе и Самара) оснащается этим элементом возле моторного щита. Итак, открываем капот, отсоединяем усилитель от главного тормозного цилиндра. Важным моментом является то, что трубки остаются на месте. Если их убрать, система проветрится.
Ничего фатального в этом нет, но прокачивать тормоза придется заново (а это дополнительное время). Поэтому цилиндр с трубками просто отводим в сторону. Снимите шланг с обратного клапана. В салоне демонтируем кронштейн, фиксирующий педаль тормоза. Так мы отпустим «вакуумный» толкатель. После этого остается только открутить 4 гайки крепления самого усилителя в подкапотном пространстве и достать его.
Разборка и ремонт
Далее нам понадобятся тиски. Зажимаем усилитель в тиски и отгибаем пазы для крепления двух «половинок». Делается это с помощью отрицательной отвертки. На последней заклепке старайтесь удерживать внешнюю часть корпуса. Так как внутри него находится пружина, то при разборке корпуса она может выстрелить.
Затем снимаем с креплений два резиновых чехла и пластиковый кожух с толкателем.
Теперь достаем детали из ремкомплекта и устанавливаем их на место старых. В ремонтный комплект входят следующие позиции:
- Диафрагма.
- Манжеты.
- 2 крышки.
- Пыльники.
- Клапан.
Установив новые детали, собираем вакуумный усилитель тормозов обратно. Как это проверить, мы уже знаем. При сборке необходимо сразу закрепить диафрагму на пластиковом кожухе. Пружина может быть установлена в любом направлении. Однако при сборке корпуса необходимо приложить усилия, чтобы попасть на шпильки.
Собираем в обратном порядке. Перед запуском выполните визуальный осмотр. Все шланги и хомуты должны плотно прилегать и быть надежно закреплены. Если мотор троит, то есть подсос воздуха. Один из шлангов мог быть поврежден.
Итак, мы выяснили, что такое вакуумный усилитель тормозов, как его проверить и отремонтировать своими руками.
Тугие тормоза на ВАЗ 2110 причины.
Проблемы с тормозами: жесткая или мягкая педальТормозная система является неотъемлемой частью безопасности любого автомобиля. Если вдруг педаль тормоза становится жесткой или слишком мягкой, то это уже повод задуматься о необходимости тщательного осмотра.
О качестве функционирования тормозной системы чаще всего говорят внешние элементы, с которыми водитель взаимодействует во время движения. Именно свободный ход педали тормоза, достаточно удобный для его ноги, обеспечивает хорошее управление автомобилем. В общем, педаль тормоза бывает жесткая, мягкая или средняя. Для каждого есть несколько причин.
Слишком тугая педаль тормоза не всегда такова по ряду стандартных и привычных причин. Проблема может заключаться в особенностях конкретной модели. Иногда бывают ситуации, когда тугая педаль тормоза – это банальная особенность определенного производителя. Такой же большой ход педали тормоза характерен и для некоторых его видов. Когда педаль тормоза не возвращается, это огромная проблема.
Если педаль тормоза дубовая, то есть нажимается достаточно туго, то тут два варианта — либо посетить автосервис, либо попытаться решить проблему своими руками, что является немалым риском. В общем, тут нужно немедленное решение, так как езда с ним очень опасна не только для самого водителя, но и для окружающих.
Существует восемь наиболее распространенных причин:
Все вышеперечисленное, в первую очередь, свидетельствует о том, что только в случае плохого ухода за автомобилем появляются разнообразные проблемы. неприятные ситуации. Например, необходимо регулярно проверять, насколько хорошо справляется со своей задачей вакуумный усилитель.
Провести такую диагностику можно несколькими способами:
- Первый способ — завести двигатель и дать ему поработать до полной разрядки системы. Если после этого педаль тормоза дубовая, то проблема в шланге или усилителе. Затем следует остановить мотор, дать ему постоять несколько минут, после чего снова проверить работу системы и проследить этот процесс от «А» до «Я».
Если после такой процедуры тормозной системе явно не хватает «легкости» при срабатывании, то, скорее всего, виноват клапан усилителя; - Второй способ — нажать при неработающем двигателе, чтобы снять давление и полностью разгрузить тормозную систему. Затем нужно включить двигатель, не отпуская педаль. Когда усилитель в полном рабочем состоянии, то все нормально. В противном случае следует проверить работоспособность его частей.
Почему педаль мягкая
При определенных неисправностях может быть неисправна и крестовина педали тормоза. Такая неприятность может идти «в комплекте» вместе с другими сопутствующими. Очень часто мягкая педаль тормоза является непосредственной причиной значительного ухудшения управляемости автомобиля.
Мягкая педаль тормоза может быть простой особенностью модели. Причиной неисправностей может быть попадание воздуха в соответствующую систему. Все исправляется прокачкой самого тормоза для защиты от возможных проблем.
В свою очередь воздух может попасть в систему разными путями, и если с ним проблемы, то скорее всего виноват именно он. Трубопровод вполне может потерять герметичность или даже лопнуть в этом случае. Из-за поломки главного цилиндра, в котором начинает закипать тормозная жидкость, тоже возникают соответствующие проблемы. Сопутствующей неисправностью часто является заклинивание поршня. Желательно провести диагностику цилиндров и проверить тормозную жидкость. Также было бы неплохо провести полную проверку работоспособности машины, чтобы определить, нет ли скрытых проблем, если таковые имеются.
Видео «Признаки и неисправности вакуумного усилителя тормозов»
В записи показано, как заменить вакуумный усилитель на автомобиле ВАЗ-2109.
Сегодня разберемся в причине того, что педаль тормоза стала жесткой или наоборот очень мягкой. . Автопроизводители предусматривают такое поведение педали, при нажатии на нее не возникает ни провалов, ни вибраций, и не требуется прилагать больших усилий к педали для срабатывания тормозной системы.
Однако бывают случаи, когда ее щелканье вызывает беспокойство. Либо, либо наоборот становится чрезмерно тугой. Оба эти варианта неприемлемы и свидетельствуют о технических проблемах с тормозной системой.
Перед ремонтом необходимо понять, что именно нужно отремонтировать или заменить. Ниже мы разберем наиболее вероятные причины неисправностей и возможные варианты их устранения.
Педаль тормоза тугая?Вакуумный усилитель отвечает за создание необходимого давления в тормозной системе, соответственно, при его неправильной работе водитель просто не сможет нажать на педаль:
- Засорился воздушный фильтр вакуумный усилитель. Решение — заменить фильтрующий элемент;
- Блок клапана заклинил в «вакуумной коробке». Придется собирать;
- Повреждение диафрагмы усилителя, тут тоже ничего не поделаешь, придется менять;
- Сбой наконечника. Опять замена;
- обратный клапан не работает должным образом .
Решается его заменой; - Нарушение герметичности системы. Разгерметизация может произойти из-за повреждения шланга, соединяющего впускной коллектор и «вакуумный бачок», ослабления хомутов. В худшем случае решается заменой шланга, в лучшем — подтягиванием хомутов;
- Вздутие уплотнительных колец в одном или нескольких рабочих цилиндрах. Происходит это из-за использования некачественной тормозной жидкости или попадания на кольца горюче-смазочных материалов. Сейчас вряд ли кто обременяет себя переборкой рабочих цилиндров, проще их просто заменить вместе с тормозной жидкостью.
(banner_content)
Диагностика вакуумного усилителя Часто признаком разгерметизации является нестабильная работа двигателя (троение). Происходит это из-за попадания воздуха во впускной коллектор. Он резко обедняет топливовоздушную смесь, поступающую в цилиндры. Если педаль не нажимается при работающем автомобиле, в первую очередь соединения должны быть проверены .
Кроме того, при разгерметизации системы на работающем двигателе из вакуумного усилителя слышно характерное шипение.
Для уточнения неисправности выключите двигатель и подождите несколько минут, не нажимая на педаль. Если по истечении этого времени педаль остается тугой, причина, скорее всего, в сломанном обратном клапане.
Правильная работа вакуумного усилителя очень легко диагностируется . Для этого, не заводя машину, следует «прокачать» педаль, затем, продолжая ее удерживать, запустить двигатель. Если «вакуум» работает, то педаль опустится.
Педаль тормоза отваливаетсяСуществует несколько возможных причин повышенной мягкости педали, наиболее распространенной из которых является попадание воздуха в тормозную систему. Воздух может попасть из-за недостаточного уровня тормозной жидкости. Тормоза должны быть правильно прокачаны, чтобы стравить воздух.
Мягкость педали Также может быть вызвана неисправностями главного или рабочего тормозных цилиндров, например, из-за закипания тормозной жидкости или подклинивания поршней.
Вне зависимости от того, стала педаль тормоза твердой или мягкой, это должно сразу насторожить любого водителя, продолжать движение на таком автомобиле означает подвергать опасности не только себя, но и окружающих. А если нет возможности устранить поломку на месте, правильно будет обратиться в ближайший автосервис.
Без тормозов, как известно, ни в жизни, ни в машине далеко не уедешь, ведь помимо разгона нужно еще и вовремя остановиться, не допустить наезда на препятствие и т. д.
Рассмотрим, как работает тормозная система ВАЗ 2110, какие неисправности встречаются чаще всего, и какие доработки возможны для улучшения тормозов.
Схема гидравлического привода тормозов
Устройство
Устанавливаются на машину и в целом надежно работают гидравлические тормоза. Они двухконтурные, имеют диагональное распределение. То есть, если одна часть вдруг вышла из строя, то возможно торможение другой цепью. В целях безопасности тормоза ВАЗ 2110 работают по диагонали, один контур — правое переднее и левое заднее колеса, другой — также по диагонали.
Такое устройство позволяет качественно (без заносов и прочих неприятностей) тормозить даже в случае неисправности, если пропали тормоза в одном из контуров.
Рассмотрим устройство тормозной системы. Гидравлический привод включает вакуумный усилитель, а также двухконтурный регулятор, создающий давление в задних тормозах.
Устройство тормозного суппорта, описанное в этой статье:
Кроме того, гидропривод снабжен разделенными на два контура трубопроводами, шлангами и тормозными механизмами, обеспечивающими торможение переднего и заднего механизмов.
Активирует гидравлическую педаль, расположенную в салоне (посередине). Вот основные узлы гидропривода:
- вакуумный усилитель. Он устроен таким образом, что создает давление на поршень главного цилиндра, и тем самым вызывает торможение;
Вакуумный усилитель тормозов
- Привод регулятора давления. Именно через него рабочая тормозная жидкость поступает в задние тормозные механизмы;
Привод регулятора тормозного давления
- Сам регулятор давления.
Уже по названию понятно, что это устройство отвечает за силу давления, ее уменьшение или увеличение. Делает он это в зависимости от того, насколько загружена задняя ось автомобиля;регулятор давления
- Главный цилиндр с поршнями, снабженный резервуаром. Наливная горловина бака оборудована датчиком аварийного уровня ТЖ;
Главный тормозной цилиндр
- Тормозной механизм переднего колеса. Его основными частями являются диск, колодки и колесные цилиндры. Механизм также оснащен сигнализатором полного износа и неисправности накладок;
Тормоз переднего колеса
- Механизм тормоза заднего колеса. В отличие от передних дисковых тормозов, задние барабанные. Это заводская установка. Однако многие автовладельцы считают, что их устройство не обеспечивает качественного торможения, и меняют их на дисковые.
Тормоза требуют внимания. Не дожидаясь загорания контрольной лампочки, сигнализирующей о критическом уровне ТЖ или износе накладок, и уж тем более не доводя до полного исчезновения тормозов, необходимо проводить профилактические проверки.
Особое внимание уделяется всем соединениям и шлангам, так как «вытекшая» тормозная жидкость не даст возможности затормозить, а отсюда недалеко и до трагедии.
Аварийные сигналы
Достаточно небезопасны следующие симптомы, обратите внимание:
- Если совсем пропали тормоза, то однозначно — дальше ехать нельзя, даже на СТО! Если самостоятельный ремонт на месте вам не по силам или просто невозможен, необходимо вызвать эвакуатор;
- При торможении сильная вибрация, особенно чувствуется в рулевой колонке. Нажимаешь на педаль, а руль просто тяжело держать в руках. Причин вибрации может быть несколько:
Многие утверждают, что вибрация может возникать из-за того, что стоят невентилируемые диски. Их устройство таково, что они очень не любят, когда торможение происходит под дождем, а то и прямо в луже. Никакой ремонт тут не поможет — нужно заменить диски на вентилируемые;
Вибрация также возможна при неисправности задних барабанов.
Если при осмотре вы обнаружите темные пятна на рабочей поверхности, это свидетельствует о неравномерном износе. В этом случае вибрация обычно очень сильная. Такие барабаны нуждаются в срочном ремонте и, возможно, замене на дисковые барабаны. тормозные механизмы;
Проверить передние тормозные диски на деформацию. При этом также наблюдается вибрация. - Педаль тормоза слишком тугая. На это также может быть несколько причин:
засорение воздушного фильтра вакуумного усилителя, может повлиять на то, что педаль стала тугой;
Проверить сам вакуумный усилитель. Возможные его неисправности- разрушение диафрагмы, наконечника, заедание обратного клапана, повреждение шланга, соединяющего впускной коллектор с усилителем. Во всех этих случаях может наблюдаться синдром тугой педали и необходим ремонт любой из указанных неисправностей;
Также педаль может становиться туже по мере износа колодок, проверьте и их. - Шипение при нажатии на тормоз. Если он шипит ровно в момент нажатия на педаль, нужно срочно проверить вакуумный усилитель, а потом решать, что ему нужно — ремонт или замена.
А вот если шипит при отпускании тормоза, то это явление из разряда рядовых. Если, конечно, шипение не слишком явное.
Помогите с самостоятельной заменой задних тормозных колодок данный материал:
Доработка
Многие, считая, что тормоза плохие, и ремонт им не поможет, решаются на существенные переделки и тюнинг. Например, тюнинг тормозной системы ВАЗ 2110 может включать замену задних барабанных механизмов на дисковые.
Здесь особенно важно знать, что торможение задних колес должно быть мягче и наступать немного позже, чем передних, для предотвращения заноса.
Еще одна возможная идея тюнинга — замена вакуумного усилителя. Вместо штатных устанавливаются от Лада Приора. Обычно это помогает, прежде всего, тем, что не ощущается вибрация, а педаль работает с оптимальным усилием.
И не забывайте — после каждого вмешательства в работу тормозов их нужно прокачивать.
Подробнее о замене вакуумного усилителя тормозов можно прочитать в этом материале:
Добрый день, уважаемые автомобилисты! Продолжим наше исследование типичных неисправностей тормозной системы автомобиля.
Элемент управления тормозом, такой как педаль тормоза, имеет несколько состояний своего положения.
Первое, которое должно быть штатным, при нажатии на педаль без ощутимых изменений, без провалов, рывков, без особых усилий и т.п. Следующие два состояния положения педали неприятны для водителя, и вызывают некоторое беспокойство.
Речь идет о том, когда у вас жестко педали тормоза или наоборот слишком мягкие тормоза. В таком положении вещей, когда педаль тормоза перестает работать в обычном, привычном для нас режиме, беспокойство водителя оправдано. Итак, были какие-то неполадки, а это требуется. Без задержки.
Почему у Вас тугая педаль тормоза
Причин того, что педаль тормоза вдруг становится тугой, может быть несколько, и они могут быть не обязательно традиционными и характерными для всех типов и моделей тормозов. Тем не менее, мы рассмотрим основные, наиболее характерные причины, и методы их устранения.
Большинство неисправностей, из-за которых педаль тормоза становится мягкой, «виноваты»: либо вакуумный усилитель, либо .
Итак, увеличение усилия при нажатии на педаль тормоза обусловлено:
- засорен воздушный фильтр вакуумного усилителя. В этом случае необходимо заменить воздушный фильтр;
- заедает вакуумный усилитель гидроблока. Выход — замена вакуумного усилителя;
- разрушена диафрагма вакуумного усилителя. Поменять вакуумный усилитель;
- неисправен наконечник вакуумного усилителя — наконечник необходимо заменить;
- заедает или не работает обратный клапан в вакуумном усилителе, требуется замена обратного клапана;
- неисправен (негерметичен) обратный клапан вакуумного усилителя, что позволяет топливу попадать в полость вакуумного усилителя. Необходимо поменять вакуумный усилитель в сборе с обратным клапаном;
- поврежден шланг, соединяющий вакуумный усилитель с впускным коллектором, ослаблено крепление шланга на штуцере. Замените шланг или затяните крепежный хомут. Узнайте больше о шланге вакуумного усилителя тормозов. Его состояние необходимо систематически контролировать.
Особенно в холодное время года. Пока шланг не прогрет, он остается достаточно жестким и тормоза работают нормально. После непродолжительной работы двигателя шланг нагревается, становится более эластичным, и если не замечать, например, его расслоения, то снижается его пропускная способность. Возможно проблема с педалью тормоза. - Вздулись уплотнительные кольца в рабочих (колесных) цилиндрах. Это может произойти из-за попадания в них горюче-смазочных материалов, либо использования некачественной тормозной жидкости. Ремонт рабочих тормозных цилиндров, замена рекомендованной производителем тормозной жидкости.
Пара способов проверить работоспособность вакуумного усилителя
Запустить двигатель. В системе создается вакуум. Теперь нажмите на тормоз. Жесткая педаль тормоза означает неисправность усилителя или шланга. После выключения двигателя подождите около 5 минут, не нажимая на тормоз.
Уточним проблему. Нажмите на педаль. Если педаль по-прежнему тугая, то, скорее всего, неисправен клапан вакуумного усилителя.
Еще один тест. При выключенном двигателе несколько раз нажмите на педаль тормоза, чтобы сбросить вакуум в тормозной системе. Не отпуская педаль тормоза, запустите двигатель. Если педаль немного уходит вниз, то с усилителем все в порядке.
Почему у меня мягкие тормоза
Мягкая педаль тормоза может указывать на несколько проблем. Вернее, есть несколько причин, по которым педаль тормоза вдруг стала мягкой. Этот эффект также можно назвать:
Мягкие тормоза имеют традиционные причины:
- «» тормозная система. Естественно требуется удаление воздуха, т.е. Причиной «завоздушивания» могут быть: разгерметизация системы или низкий уровень в расширительном бачке;
- неисправность главного тормозного цилиндра
- неисправность рабочего цилиндра, например, в результате заклинивания поршня или закипания тормозной жидкости. Тормозные цилиндры нуждаются в ремонте или новом.
Удачи в правильной диагностике и своевременном обслуживании тормозной системы автомобиля.
Ведь тормоза – это наша безопасность.
Бесперебойное функционирование тормозной системы транспортного средства (ТС) является гарантией безопасности водителя и окружающих его людей на дороге. Любое ненормальное поведение тормоза (основного или стояночного) является поводом для немедленного ремонта. Отремонтировать транспортное средство желательно в автосервисе, так как только опытные «профи» могут с точностью сказать, что с ним произошло на самом деле. Ведь причины одной и той же проблемы в разных автомобилях совершенно разные.
Примером может служить ситуация, когда педаль тормоза стала настолько жесткой, что приходится прилагать чрезмерное усилие, чтобы сдвинуть ее с места и затормозить.
Такая неисправность не менее опасна, чем ослабление педали, в результате чего она выходит из строя. Ведь и то, и другое делает машину практически неуправляемой в экстремальных условиях на трассе. ТС является сложным устройством, и его неудовлетворительная работа может быть вызвана различными причинами, наиболее распространенными из них являются следующие:
- неисправности вакуумного усилителя;
- вздутие колец;
- повреждение педали.

Неисправности вакуума.
Вакуумный усилитель тормозов (ВУТ), или просто «вакуум», создает в ТС давление, необходимое для их правильной работы.
Если усилитель плохо работает, педаль просто не продавливается. Поскольку вакуумный усилитель является достаточно сложной деталью, состоящей из множества компонентов, неисправность любого из них может привести к данной ситуации. А поскольку поломка компонента усилителя, как правило, требует его замены, правильная диагностика поможет автовладельцу сэкономить не только время, но и деньги.
Если забился фильтрующий элемент «вакуума», достаточно заменить только его, чтобы усилитель снова начал нормально функционировать. Это касается и поврежденной диафрагмы вакуумного усилителя, и проблем с наконечником или обратным клапаном. Достаточно заменить один поврежденный компонент, и автомобиль снова будет вести себя как новый. Важно точно диагностировать, что именно нужно изменить.
Иногда замены вообще не требуется.
Например, в ситуации, когда в автомобиле разгерметизировано. Герметичность может быть нарушена в двух случаях: либо поврежден шланг между «вакуумом» и впускным коллектором, либо ослабли хомуты. И если в первом случае замена шланга все же необходима, то во втором достаточно подтянуть хомуты. Сделать это можно в автосервисе, но владелец автомобиля вполне способен справиться с такой проблемой самостоятельно.
Но бывает, что непригодность только одного компонента полностью приводит ВУТ в негодность. Чаще всего это происходит в ситуации, когда неисправности автомобиля долгое время игнорируются. В результате сильно поврежденный клапан переходит в положение, при котором отключается весь «вакуумный бак». Примером может быть повреждение, когда клапан застревает в усилителе, и усилитель необходимо полностью заменить. Это один из самых дорогих видов ремонта автомобиля.
Вздутие колец в цилиндрах.
Состояние тормозов во многом зависит от того, какая тормозная жидкость используется при эксплуатации.
Если это продукт хорошо зарекомендовавшей себя компании, автомобиль редко повреждается или выходит из строя. Но если жидкость некачественная, один или несколько цилиндров могут плохо функционировать из-за того, что на них разбухают уплотнительные кольца. То же самое происходит при попадании ГСМ на кольцо.
Раньше, особенно в эпоху советского автомобилестроения, автовладельцу рано или поздно приходилось перебирать рабочие цилиндры. Такое занятие было долгим и обременительным даже для профессионалов. Но сейчас вряд ли кто-то будет это делать, если транспортное средство выйдет из строя. С точки зрения экономии времени их гораздо проще поменять, причем вместе с тормозной жидкостью. Однако можно избежать лишних финансовых затрат, если с самого начала использовать качественную, пусть и дорогую жидкость, так как затраты на ремонт всегда выше.
Повреждение педали.
Иногда причиной поломки автомобиля является неисправность самой педали тормоза. Дефекты бывают разные, но все они связаны исключительно с механическими поломками.
Иногда рычаги на педалях тормоза ломаются или отсоединяются. Безошибочным признаком такого повреждения является характерный звук, который раздается при нажатии на педаль. Иногда отказ педали вызван очень простой причиной – попавшим под нее инородным телом или изогнутым краем коврика.
Методы самодиагностики.
Можно сразу определить разгерметизацию автомобиля, если двигатель работает нестабильно — «троит». Это происходит из-за попадания воздуха во впускной коллектор. Топливно-воздушная смесь, поступающая в цилиндр при таком отказе, резко обедняется. Признаком неисправности вакуумного усилителя также является издаваемый им шипящий звук. Для уточнения поломки следует нажать на педаль через несколько минут после выключения двигателя. Если жесткость педали не исчезает, то, скорее всего, сломан обратный клапан.
При работающем вакуумном усилителе педаль, «прокаченная» без запуска двигателя, уходит вниз с запуском двигателя.
Личный опыт автовладельцев.
Алексей:
«Я водитель с небольшим стажем, поэтому мне было очень сложно самостоятельно определить причину жесткости педали.
Я даже не мог сообразить, как снять ту или иную деталь, чтобы диагностировать конкретные проблемы. В итоге я отогнал свою Ауди А6 на СТО. Работавшие там мастера определяли характер повреждений, даже не снимая агрегаты. Правильная диагностика помогла мне существенно сэкономить на ремонте».
Иван:
«Когда у меня сломался усилитель ВАЗ 2114, я простым способом убедился в его неисправности. Для этого шланг снимается, а усилитель заглушается. Наличие вакуума при запуске двигателя говорит о том, что «пылесос» неисправен.
Роман:
«Вакуумный усилитель и цилиндры очень трудно диагностировать. Наилучшую диагностику автомобиля могут предоставить только те автосервисы, где есть манометры.
Видео.
Принцип работы вакуумного усилителя тормозов ваз 2110. Принцип работы вакуумного усилителя тормозов и как его проверить
Сегодня редко кто может представить себе работу тормозной системы без вакуумного усилителя тормозов. Далее речь пойдет о неисправностях и способах ремонта рассматриваемого узла.
С технологической точки зрения ремонт вакуумного усилителя тормозов не представляет сложности, даже если вы решите провести процедуру самостоятельно.
Только рекомендуется учитывать конструктивные особенности конкретной модели автомобиля, но основной принцип самого ремонта схож для всех моделей.
Перед непосредственным ремонтом или заменой желательно ознакомиться с устройством данного блока.
Устройство вакуумного усилителя тормозов
Конструктивно вакуумный усилитель тормозов объединен с ГТЦ в один блок. Для человека с развитым интеллектом схема действия рассматриваемого элемента не представит никаких трудностей. Корпус разделен на две части, при этом атмосферная часть расположена со стороны педали тормоза, а вакуумная — со стороны главного тормозного цилиндра.
С помощью обратного клапана вакуумная камера соединяется с впускным коллектором, который в свою очередь является источником вакуума. Электрический вакуумный насос часто используется в дизельных двигателях для обеспечения непрерывной работы вакуумного усилителя.
При остановке двигателя вакуумный усилитель отключается от коллектора действием обратного клапана, поэтому усилитель тормозов может работать только при работающем двигателе. В случае неисправности или выхода из строя рассматриваемого элемента происходит аналогичное отключение.
Благодаря следящему клапану атмосферная камера в исходном положении соединяется с вакуумной камерой и с атмосферой при нажатии на педаль тормоза. С педалью тормоза соединен толкатель, за счет которого перемещается толкающий клапан. К штоку ГТЦ со стороны вакуумной камеры подключена диафрагма, она способствует впрыску тормозной жидкости через поршень в рабочие цилиндры.
За счет возвратной пружины диафрагма возвращается в исходное положение по окончании торможения. В конструкции усилителя также может быть электромагнитный привод штока. Активный усилитель тормозов используется в системе ESP и его основная цель — предотвратить опрокидывание.
В общем случае работа вакуумного усилителя тормозов основана на разнице давлений в атмосферной и вакуумной камерах.
Именно за счет этой разницы активируется толкатель и способствует перемещению штока поршня ГТЦ.
Неисправности вакуумного усилителя тормозов.
Первое, на что нужно обратить внимание, это то, что неисправности рассматриваемого узла не могут способствовать полному отключению тормозной системы. В результате управление автомобилем усложняется и водитель вынужден прикладывать большее усилие, нажимая на педаль тормоза. К традиционным неисправностям относятся следующие:
- Наличие неисправности внутри самого вакуумного усилителя, например, старение резины клапанов или разрыв диафрагмы. В этом случае клапан начнет отравлять воздух.
- Обрыв или разгерметизация шланга, из-за которого коллектор двигателя соединяется с вакуумным усилителем тормозов. В этом случае можно услышать шипение рассматриваемого элемента. Обязательно проверьте затяжку хомутов и сам шланг на наличие разрывов или трещин.
Как проверить вакуумный усилитель тормозов?
- Если двигатель начинает троить, продиагностировать исправность вакуумного усилителя.
Разгерметизация часто сопровождается подсосом воздуха в патрубок впускного коллектора, поэтому воздушно-топливная система, поступающая в цилиндр двигателя, резко обедняется. - В качестве второго варианта диагностики сделать около пяти нажатий педалью тормоза при выключенном двигателе. Далее на середине хода зафиксируйте педаль и запустите двигатель. Если педаль проваливается во время запуска, вакуумный усилитель работает. Если он остается неподвижным, то необходима замена или ремонт вакуумного усилителя тормозов.
- При визуальном осмотре настоятельно рекомендуется обращать внимание на наличие подтеков, которые могут появиться на корпусе вакуумного усилителя.
- Вакуумный усилитель тормозов необходимо периодически регулировать.
Для ремонта или замены необходимо подготовить стандартный набор инструментов или соответствующий комплект.
Пошаговая процедура ремонта:
- Изучите руководство по эксплуатации автомобиля и определитесь с ключевыми конструктивными нюансами вакуумного усилителя.

- Отсоедините тягу привода рассматриваемого элемента от педали тормоза, которая находится под рулевым валом.
- Снять ГТЦ в моторном отсеке.
- В зависимости от неисправности замените или отремонтируйте этот блок.
Дополнительную безопасность при вождении автомобиля, помимо качества дорожного покрытия, создает исправно работающая тормозная система. А за такими габаритными машинами, как ВАЗ, за его работой следует следить особенно тщательно. Чем короче тормозной путь автомобиля, тем безопаснее будет движение. Снизить его, сделать лучше сцепление с дорожным покрытием, позволяет вакуумный усилитель тормозов ВАЗ 2110.
Устройство, обеспечивающее нормальный процесс торможения автомобиля за счет создания дополнительного усилия на педали тормоза при разгрузке. Этот механизм способствует плавному функционированию тормозной системы, одновременно облегчая ее управление. Это снижает износ машины и утомляемость водителя.
Устранение неисправности вакуумного усилителя
Устройства разных производителей могут различаться по характеристикам и качеству, также может различаться цена вакуумного усилителя ВАЗ 2110.
Поскольку функционирование его механизма влияет на работу других деталей и агрегатов, и в первую очередь двигателя автомобиля, не следует экономить и тщательно следить за его исправностью.
Если из-под капота слышно шипение, в салоне ощущается запах горелого масла, а тормоз работает, как в заглушенной машине, только после многократного нажатия ногой на педаль тормоза, то следует немедленно обратитесь в автосервис для диагностики и при необходимости замените этот прибор.
Проверить работоспособность вакуумного усилителя тормозов «десятки» можно самостоятельно. Для этого при выключенном двигателе несколько раз нажмите на педаль тормоза. Этим методом проверяют равномерность давления в полостях. Все нормально, когда гидроблок не заедает.
Затем, когда вы держите ногу на педали тормоза, двигатель запускается. Если педаль перемещается вперед одновременно с ногой, то усилитель исправен. В противном случае нужно убедиться, что неисправность кроется именно в нем, а не в проблеме с фланцем наконечника или его креплением.
Возможна еще несогласованная работа педали из-за неправильного соединения штуцера на выхлопной трубе двигателя со шлангом. Все это также пагубно сказывается на работе тормозной системы и ее эффективности.
Устранение неисправностей
При выявленных признаках неисправности вакуумного усилителя тормозов ВАЗ 2110 можно попробовать оказать первую помощь своему автомобилю самостоятельно. В нормальном состоянии тормозная система должна удерживать его на месте при наклоне на 25º к горизонтали. Если она плохо справляется, стоит ослабить контргайку и подтянуть трос.
Затем нужно проверить полный ход рычага, необходимо, чтобы он был примерно 2-4 зуба. Плотно затянув контргайку, стоит выполнить серию предохранительных торможений, одновременно контролируя ход рычага. При этом вращение колес при опущенном до конца рычаге должно быть свободным, без усилия. Если такая проверка выявит неспособность усилителя справиться с торможением, это говорит о необходимости его замены.
Многие автосервисы предоставляют такую актуальную сегодня услугу, как тюнинг тормозной системы ВАЗ 2110, цена узла в случае замены все же выше, чем его доработка. Это касается и задних тормозных дисков, помимо усилителя, модернизация которого заключается в установке специальной шайбы. Эта, казалось бы, незначительная деталь может существенно повлиять на работу усилителя и на процесс торможения в целом.
Когда водитель нажимает на педаль тормоза, шток, проходящий через шайбу, начинает оказывать давление на главный тормозной цилиндр. Из-за этого работа перепускных клапанов начинается несколько позже. Таким образом, установка шайбы делает торможение более плавным, педаль мягче, а ее реакция в случае резкой остановки не меняется.
Но если шипение уже появилось, двигатель глохнет от нажатия на педаль тормоза, или она стала очень тугой, необходимо заменить механизм. В противном случае управление таким автомобилем становится небезопасным для себя и окружающих. При подготовке к замене данного узла требуется разборка задней части моторного отсека, снятие эластичного уплотнителя, обивки и жабо.
Процесс начинается с отсоединения проводки колодки от датчика, показывающего уровень тормозной жидкости. Поддерживая обратный клапан, отсоедините шланг от усилителя. Далее откручиваем обе гайки крепления главного цилиндра тормозной системы. Плавно отворачивается от усилителя на расстояние, необходимое для извлечения последнего, причем делается это без снятия тормозных трубок.
Под панелью приборов, расположенной в салоне, следует открутить все четыре гайки крепления кронштейна педали тормоза, что довольно сложно из-за их неудобного расположения. Затем провода, кронштейн и сам усилитель убираются в подкапотное пространство одновременно с педалью тормоза в сборе.
Отсоединив две крепежные гайки, снимите стопорную пластину шкворня крепления с помощью отвертки и, вытолкнув ее, отделите толкатель бустера от педали. Открутив поврежденный усилитель от педального узла, на его место ставится новый. Причем необходимо следить за правильностью его расположения: педаль должна быть внизу, а штуцер шланга вверху.
После этого все операции, выполненные ранее, выполняются в порядке, обратном снятию.
Вакуумный усилитель тормозов появился на серийных автомобилях еще в 50-х и 60-х годах прошлого века и позволил значительно облегчить усилие на педаль тормоза и эффективность тормозов. В этой статье будет подробно описано устройство и принцип работы вакуумного усилителя, знание которого очень поможет даже начинающим водителям самостоятельно выявить и устранить наиболее распространенные неисправности усилителя, о которых также будет рассказано в этой статье (и как устранить их).
Вакуумный усилитель служит для уменьшения усилия, которое водитель прикладывает к педали тормоза, тем самым облегчая управление машиной и повышая эффективность тормозов. Усилитель располагается в моторном отсеке (подкапотном пространстве) автомобиля и крепится задним фланцем к кронштейну педали и перегородке, отделяющей моторный отсек от салона.
Далее будет подробно описано устройство вакуумного усилителя тормозов ВАЗ, который достаточно распространен и мало чем отличается по конструкции от усилителей других автомобилей, в том числе иномарок.
Принцип работы у многих усилителей разных машин одинаков, за исключением некоторых мелочей.
Работа усилителя тормозов конечно возможна при работающем двигателе автомобиля, то есть когда во впускном коллекторе двигателя создается воздух, но о работе усилителя чуть позже, а сначала мы рассмотрим его устройство, знание которого позволит новичкам лучше понять принцип работы и возможные проблемы.
Устройство усилителя тормозов ВАЗ .
Рисунок 1 — вакуумный усилитель в момент торможения. 1 — главный цилиндр, 2 — шток, 3 — вакуумный клапан, 4 — возвратная пружина, 5 — гидроблок, 6 — диафрагма, 7 — корпус усилителя, 8 — крышка усилителя, 9- буфер штока, 10 — упорная пластина поршня, 11 — поршень, 12 — бустерный клапан, 13 — пружина клапана, 14 — возвратная пружина клапана, 15 — воздушный фильтр, 16 — толкатель, 17 — возвратная пружина, 18 — наконечник выключателя стоп-сигнала, 19 — вилка толкателя, 20 — педаль тормоза, 21 — пыльник, 22 — манжета, 23 — уплотнитель, 24 — регулировочный болт.
Вакуумный усилитель тормозов состоит из корпуса 7 (см. рис. 1) крышки 8 и корпуса клапана 5 с диафрагмой 6. Благодаря корпусу 5 и резиновой диафрагме 6 усилитель разделен на две полости, одну из которых вакуумная А, а вторая атмосферная Г. При этом гидроблок 5 не только делит усилитель на две полости, но и выполняет роль большого поршня, перемещающегося в общем корпусе 7.
На большинстве автомобилей гидроблок 5 изготовлен из пластика и имеет сквозное отверстие, из которого выходят каналы В и С. Канал, обозначенный на рисунке В, соединяет центральное отверстие с вакуумной полостью, а канал С соединяет центральное отверстие с атмосферной полостью.
Толкатель 16 входит в центр гидроблока 5, который через вилку 19 шарнирно соединен с педалью тормоза 20. На переднем конце толкателя имеется шаровой наконечник, закрепленный в поршне 11.
Продольное перемещение поршня 11 относительно корпуса клапана ограничивается упорной пластиной 10, неподвижно закрепленной в корпусе клапана и входящей в кольцевую канавку в поршне.
И ширина поршня чуть больше тарелки.
Кольцевой зазор между корпусом клапана 5 и горловиной крышки 8 уплотнен манжетой 22, которая должна быть в исправном состоянии. А поверхность гидроблока необходимо смазать смазкой (Литол 24 или ЦИАТИМ-221).
От попадания пыли и грязи горловина крышки 8 защищена резиновым гофрированным пыльником 21 (разумеется, этот пыльник не должен иметь трещин, а тем более зазоров). Также вокруг толкателя установлен фильтр 15 для очистки воздуха, поступающего в полость усилителя и опорные чашки пружин, также установлены сами пружины 13 и 14 и резиновый клапан 12.
Перед корпусом 7 вакуумного усилителя на выходе из штока 2 вставлено уплотнение 23. А на конце штока 2 имеется регулировочный болт 24, который при торможении машины упирается в гнездо в поршне 1. Задней частью шток 2 упирается в резиновый буфер 9, который установлен между штоком и поршнем 11.
При отсутствии разрежения или механического воздействия возвратная пружина 4 переводит гидроблок 5 в крайнее правое положение.
А вакуумная полость А соединена шлангом с внутренней полостью впускного коллектора двигателя через штуцер, в котором расположен обратный клапан 3. Этот обратный клапан открывается при наличии разницы давлений между полостью А усилителя и впускным коллектором двигателя.
Как было сказано выше, работоспособность усилителя возможна только при работающем двигателе машины, когда во впускном коллекторе имеется разрежение воздуха, которое передается в полость А.
Работа вакуумного усилителя тормозов .
Рис. 2. Вакуумный усилитель при ненажатой педали тормоза.
Принцип работы вакуумного усилителя основан на разности давлений в вакуумной и атмосферной камерах. А давление, создаваемое в вакуумной камере, перемещает шток и давит на поршень главного тормозного цилиндра, тем самым облегчая водителю нажатие на педаль тормоза. Принцип работы был кратко описан выше, а если намного подробнее, то читаем дальше.
Работа усилителя осуществляется следующим образом: при опущенной педали тормоза (см.
рис. 2) вакуумная полость А через каналы С и В сообщается с атмосферой полости D, при помощи кольцевой щели между передним торцом клапана 12 и кольцевой выступ корпуса клапана 5, расположенный перед ним.
При этом атмосферная полость Д изолирована от атмосферы концом резинового клапана 12, который за счет усилия пружины 13 прижимается к заднему торцу поршня 11. А при При этом с обеих сторон диафрагмы создается вакуум, а диафрагма и корпус клапана под действием пружины 4 прижимаются к крышке 8 корпуса усилителя.
При торможении автомобиля толкатель 16 вместе с поршнем 11 и прижатой к нему подвижной частью резинового клапана 12 перемещается вперед до исчезновения кольцевого зазора и упирания конца клапана 12 в кольцевой выступ корпус клапана 5. В этом случае вакуумная полость А будет изолирована от атмосферной полости D.
При торможении дальнейшее перемещение педали тормоза 20 и ее толкателя 16 приведет к перемещению поршня 11 в сторону от клапана 12 (как показано на рис.
1) и это приведет к образованию кольцевого зазора между ними и воздух будет поступать в атмосферную полость Д из полости Е, которая сообщается с атмосферой через вихревой воздушный фильтр 15.
За счет разности давлений гидроблок 5 и диафрагма 6 начнут двигаться вперед, от этого головка регулировочного болта 24 штока 2 начнет давить на поршень главного тормозного цилиндра. При этом поршень создаст избыточное давление в гидравлической тормозной системе автомобиля.
Рисунок 3. Работа вакуумного усилителя при нажатой педали тормоза.
Когда педаль тормоза перестанет двигаться вперед (см. рис. 3), за счет разрежения в полости А корпус клапана 5 вместе с прижатым к нему резиновым клапаном 12 будет двигаться вперед до тех пор, пока клапан 12 не упрется в задний торец поршня 11. От этого прекратится сообщение между полостью D и полостью E, а также прекратится движение гидроблока 5.
В этом случае установится равновесие и тормозная жидкость в гидравлической тормозной системе будет находиться под постоянным давлением.
При экстренном торможении машины поршень 11 упрется через резиновый буфер 9 в шток 2 и начнет механически воздействовать на поршень главного тормозного цилиндра. Кроме того, поршень 11, удаляясь от клапана 12, обеспечит его остановку в кольцевом выступе корпуса клапана 5. Это приведет к разделению полости Д и полости А и сообщению полости Д с атмосферы, а это повысит давление, создаваемое в гидравлической тормозной системе.
Рисунок 4. Работа вакуумного усилителя при отпускании водителем педали тормоза (происходит торможение)
Когда торможение машины больше не требуется и водитель отпускает педаль тормоза, подвижные части привода возвращаются назад в исходное положение (как на рисунке 4) от действия возвратной пружины 17 педали тормоза и от действия возвратной пружины 4 вакуумного усилителя тормозов, ну и от действия возвратных пружин главного тормоза цилиндр.
При этом поршень 11 выдавит клапан 12 из кольцевого выступа корпуса клапана 5 и при этом образуется кольцевой зазор, через который воздух начнет поступать по каналам В и С из полости D в полость A и одновременно отсасываться разрежением во впускном коллекторе двигателя.
При этом сообщение полости Д с полостью Е прекратится, так как торец клапана 12 усилием пружины 13 прижимается к поршню 11.
При неработающем двигателе автомобиля (или при неисправном вакуумном усилителе тормозов) автомобиль можно затормозить, но ход педали тормоза немного увеличится и эффективность торможения будет ниже. В этом случае привод поршней главного тормозного цилиндра будет осуществляться только механически, от педали тормоза через толкатель 16, поршень 11, резиновый буфер 9 и шток 2.
Основные неисправности и ремонт вакуумного усилителя .
Как и любой механизм, вакуумный усилитель, а точнее его детали, со временем изнашиваются и требуют замены, обслуживания или ремонта. Подсказкой водителю о том, что с вакуумным усилителем что-то не так, будет увеличение усилия, прилагаемого к педали тормоза, и снижение эффективности торможения.
Снижение эффективности торможения, разумеется, может происходить и по другим причинам, например, из-за неисправности суппортов (советую подробнее прочитать об их восстановлении) или по другим причинам, описанным в статье «Тормозная система, ее устройство и неисправности» (статья находится), но здесь увеличение усилия на педали тормоза — верный признак неисправного вакуумного усилителя.
Частой причиной выхода из строя усилителя, проявляющейся со временем, особенно если автомобиль часто ездит по пыльным дорогам, является засорение воздушного фильтра 15 грязью или пылью (см. рис. 1). Грязный фильтр следует промыть, высушить или заменить новым.
А при достаточно большом пробеге автомобиля могут возникать неисправности из-за заклинивания гидроблока 5 от вздутия (от старости) диафрагмы 6. Неисправности могут возникать и из-за неплотного крепления вакуумного шланга, соединяющего вакуумный усилитель тормозов к штуцеру впускного коллектора двигателя. Либо из-за старения шланга на нем появляются трещины или разрывы.
Трещины или разрывы достаточно легко определить визуально или услышать по характерному шипению (подсосу воздуха). Кстати, при такой неисправности (протечка или повреждение шланга) двигатель автомобиля обычно работает с перебоями, либо теряет мощность, так как во впускной коллектор попадает лишний воздух и горючая смесь обедняется на всех режимах работы двигателя.
Ну и еще менее распространенная неисправность, которая может возникнуть при небрежном уходе или от использования некачественной (поддельной и дешевой) тормозной жидкости, или из-за попадания бензина или масла в тормозную жидкость, это вздутие уплотнителей гидроцилиндры тормозной системы. И происходит заклинивание подвижных частей в гидроцилиндрах.
Для выявления неисправности следует промыть воздушный фильтр (если он загрязнен), проверить работу системы вентиляции картерных газов (как улучшить я писал), заменить вакуумный шланг, если он вздулся или имеет трещины, и тем более рвется, и надежно закрепите вакуумный шланг новым хомутом (желательно более прочным из нержавейки).
В случае заедания штока необходимо разобрать главный тормозной цилиндр и заменить вздувшиеся манжеты на новые. При такой неисправности (вздутие уплотнителей) перед заменой резинок необходимо обязательно промыть всю тормозную систему изопропиловым спиртом (если его нет в наличии, то промыть свежей тормозной жидкостью той же марки, которая будет использоваться в системе).
После промывки системы и установки новых манжет залейте свежую тормозную жидкость и .
Если после проведения вышеописанных работ неисправность не устранена (усилие на педаль тормоза при работающем двигателе остается таким же большим, как и при выключенном двигателе), то, скорее всего, причиной неисправности является опухшая или порванная диафрагма 6.
Заменить диафрагму на новую не так просто, так как большинство усилителей имеют неразборный корпус (крышка 8 прикручена к корпусу 7), и не всегда есть возможность купить новую диафрагму. В этом случае вакуумный усилитель тормозов подлежит замене.
Проверить исправность вакуумного усилителя можно не только снизив усилие на педаль тормоза при работающем двигателе, но и другим способом. При выключенном двигателе нажмите педаль тормоза с небольшим усилием, затем запустите двигатель. После запуска двигателя, если педаль тормоза немного уходит вперед (немного проваливается), то с вакуумным усилителем все в порядке.
И последнее: на вакуумном усилителе и примыкающем к нему главном тормозном цилиндре не должно быть запотевания и уж тем более течи тормозной жидкости.
Узнать, откуда именно течет, можно, если тщательно вымыть корпус усилителя и главный тормозной цилиндр, а затем запустить двигатель и несколько раз нажать на педаль тормоза. После этого протечки обычно обнаруживаются сразу, и, конечно же, неисправные уплотнители следует заменить новыми.
Вот вроде и все, надеюсь данная статья поможет начинающим водителям определить неисправность вакуумного усилителя тормозов и устранить большинство его неисправностей, всем удачи.
Еще относительно недавно, чтобы остановить одну из старых моделей автомобилей, необходимо было приложить значительное усилие к педали тормоза, а спустя некоторое время в устройстве автомобилей появился вакуумный усилитель тормозов. Это устройство значительно облегчает управление автомобилем, но, тем не менее, требует периодического ремонта и контроля за своим техническим состоянием.
Вакуумный усилитель тормозов – схематический обзор
Вакуумный усилитель тормозов неразрывно связан с главным цилиндром.
Его основу составляет корпус, разделенный диафрагмой на две камеры. Вакуумная камера находится со стороны главного цилиндра, где она соединяется с впускным коллектором при помощи специального обратного клапана. Именно в этой области создается вакуум. Атмосферная камера расположена со стороны педали тормоза и с помощью следящего клапана соединяется, в свою очередь, с вакуумной камерой или с атмосферой.
Сам клапан приводится в движение толкателем, а тормозная жидкость впрыскивается в рабочие цилиндры с помощью поршня. В конце торможения возвратная пружина приводит в движение диафрагму, возвращая ее в исходное положение. Некоторые модели усилителей могут быть оснащены электромагнитным тяговым приводом, выполняющим функцию системы экстренного торможения.
Принцип работы вакуумного усилителя тормозов и признаки неисправности
Основной принцип работы вакуумного усилителя тормозов основан на разнице давлений, образующихся в вакуумной и атмосферной камере.
Именно эта разница влияет на толкатель, перемещающий шток главного цилиндра системы. Для поддержания разрежения на должном уровне используется обратный клапан вакуумного усилителя тормозов.
В режиме разреженной атмосферы воздух через этот клапан отсасывается из усилителя, но обратно через него уже не поступает.
Особое внимание при проверке тормозной системы следует обращать на техническое состояние вакуумного усилителя. Хотя его неисправности не вызывают катастрофических последствий, тем не менее требующая повышенного усилия педаль тормоза создает дискомфорт и затрудняет управление автомобилем. Есть, конечно, неисправности, которые все же требуют ремонта или даже замены устройства.
В первую очередь может разгерметизироваться или оборван шланг вакуумного усилителя тормозов, соединяющий его с коллектором. После того, как будет слышно шипение, проверяют состояние самого шланга и качество затяжки хомутов. Кроме того, частой причиной является порванная диафрагма или старая резина в клапанах, через которые также может выходить воздух.
Вакуумный усилитель тормозов — как добраться до поломки?
Чтобы точно определить неисправность, необходимо внимательно изучить инструкцию по эксплуатации автомобиля, в которой описана конкретная модель вакуумного усилителя. Иногда причина довольно проста, когда двигатель начинает троить из-за подсоса лишнего воздуха и обеднения рабочей смеси. При проведении визуального осмотра необходимо выявить течи на корпусе усилителя и обязательно выяснить причины их возникновения.
Для эффективного ремонта вакуумного усилителя необходим соответствующий конкретной модели ремкомплект и стандартный набор инструментов. Чаще всего производится полная замена устройства на новое, устанавливаемое в сборе. Для того, чтобы приступить к ремонту или замене, отсоединяют тягу привода, расположенную в салоне, возле рулевого вала на педали тормоза. После этого в моторном отсеке нужно отсоединить главный тормозной цилиндр. В конце вакуумный шланг снимается с обратного клапана.
Теперь усилитель открыт для доступа, вы можете его отремонтировать или заменить.
Вакуумный усилитель тормозов – самый распространенный тип усилителя тормозов, который используется в тормозной системе современного автомобиля. Создает дополнительное усилие на педаль тормоза за счет вакуума. Использование усилителя значительно облегчает работу тормозной системы автомобиля, и тем самым снижает утомляемость водителя.
Конструктивно вакуумный усилитель образует единый узел с главным тормозным цилиндром и включает в себя корпус, диафрагму, толкатель, толкатель, шток главного тормозного цилиндра и возвратную пружину.
Корпус усилителя разделен диафрагмой на две камеры. Камера, обращенная к главному тормозному цилиндру, называется вакуумной камерой. Противоположная ему камера (со стороны педали тормоза) атмосферная.
Вакуумная камера соединена с источником вакуума через обратный клапан. Область во впускном коллекторе двигателя после дроссельной заслонки обычно используется в качестве источника вакуума.
Для обеспечения бесперебойной работы вакуумного усилителя на всех режимах работы автомобиля в качестве источника нагнетания может использоваться вакуумный электронасос. На дизельных двигателях, где разрежение во впускном коллекторе незначительно, использование вакуумного насоса обязательно. Обратный клапан отключает вакуумный усилитель и источник вакуума при остановке двигателя, а также при выходе из строя вакуумного насоса.
Атмосферная камера со следящим клапаном имеет соединение:
- в исходном положении — с вакуумной камерой;
- при нажатой педали тормоза — с атмосферой.
Толкатель обеспечивает перемещение следящего клапана. Он связан с педалью тормоза.
Со стороны вакуумной камеры диафрагма соединяется со штоком главного тормозного цилиндра. Движение диафрагмы перемещает поршень и перекачивает тормозную жидкость в колесные цилиндры.
Возвратная пружина в конце торможения перемещает диафрагму в исходное положение.
Для эффективного торможения в аварийной ситуации в конструкцию вакуумного усилителя тормозов может быть включена система экстренного торможения, представляющая собой дополнительный электромагнитный привод штока.
Дальнейшим развитием вакуумного усилителя тормозов является т. н. активный усилитель тормозов . Он обеспечивает работу усилителя в определенных случаях и, следовательно, нагнетание давления без участия водителя. Активный усилитель тормозов используется в системе ESP для предотвращения опрокидывания и устранения избыточной поворачиваемости.
Принцип работы вакуумного усилителя тормозов основан на создании разности давлений в вакуумной и атмосферной камерах. В исходном положении давление в обеих камерах одинаково и равно давлению, создаваемому источником вакуума.
При нажатии на педаль тормоза усилие передается через толкатель на толкающий клапан. Клапан перекрывает канал, соединяющий атмосферную камеру с вакуумной камерой. При дальнейшем движении клапана атмосферная камера через соответствующий канал соединяется с атмосферой. Вакуум в атмосферной камере снижается. Разность давлений воздействует на диафрагму и, преодолевая усилие пружины, перемещает шток главного тормозного цилиндра.
Конструкция вакуумного усилителя обеспечивает дополнительное усилие на штоке главного тормозного цилиндра, пропорциональное усилию на педали тормоза. Другими словами, чем сильнее водитель нажимает на педаль, тем эффективнее будет работать усилитель.
По окончании торможения атмосферная камера снова соединяется с вакуумной камерой, давление в камерах выравнивается. Диафрагма перемещается в исходное положение под действием возвратной пружины.
Максимальное дополнительное усилие, реализуемое с помощью вакуумного усилителя тормозов, обычно в 3-5 раз превышает усилие от ноги водителя. Дальнейшее увеличение величины дополнительной силы достигается за счет увеличения количества камер вакуумного усилителя, а также увеличения размера диафрагмы.
Тугие тормоза ВАЗ 2110. Педаль тормоза не нажимается. Тугая педаль тормоза
Главная / АккумуляторВ сегодняшней статье хочу рассказать о педалях torkefather , а именно какая она должна быть в идеале, тугая или наоборот мягкая, как найти эту золотую середину?
В целом педаль тормоза Может иметь несколько положений и состояний.
Состояние первое — которое предусмотрено производителем при нажатии на педаль тормоза Сбоев нет, рывков нет, особых усилий прилагать не надо. Есть еще две неприятные для водительского пропуска неприятности, способные вызвать беспокойство у водителя.
Имеется в виду состояние педали, когда она чрезмерно тугая или наоборот, сильно мягкая. И то и другое явление одинаково недопустимо и свидетельствует о неисправности и необходимости срочного ремонта. тормозная система.
Тугая педаль тормоза Это может стать по нескольким причинам, и не обязательно они могут быть связаны с традиционными «болячками», которые свойственны всем моделям тормозов. Однако я все же предлагаю рассмотреть самые распространенные из них, а также постараюсь дать советы по их устранению.
2. Опаливание гидроблока в вакуумном усилителе. Необходимо заменить вакуумный усилитель;
3. Повреждена диафрагма вакуумного усилителя. Решается заменой вакуумного усилителя;
4.
Неисправный наконечник вакуумного усилителя. Его следует заменить наконечником;
5. Поющий или обратный клапан в вакуумном усилителе. Для устранения необходимо заменить обратный клапан;
6. Неисправен обратный клапан вакуумного усилителя или нарушена герметичность, в результате чего топливо поступает в камеру вакуумного усилителя. Необходимо заменить вакуумный усилитель с обратным клапаном;
7. Повреждение шланга, соединяющего вакуумный усилитель и впускной коллектор, или ослабление штуцера крепления шланга. Лечится заменой шланга, или если есть возможность — притяжкой хомута крепления. За состоянием шланга следует регулярно следить, особенно это касается холодного времени года. Пока шланг холодный, он сохраняет необходимую жесткость — тормоза работают нормально. Однако после нескольких десятков минут работы мотора шланг нагревается и становится более эластичным. Если, к примеру, при осмотре вы не обнаружили пучков — уменьшится пропускная способность шланга, что в свою очередь может вызвать проблемы с педалью тормоза.
8. Заметались уплотнительные кольца в рабочих колесных цилиндрах, не редко возникает в результате попадания на поверхность ГСМ, либо в результате использования некачественной тормозной жидкости. Чтобы исправить эту ситуацию, необходимо отремонтировать рабочие тормозные цилиндры, и заменить тормозную жидкость
Вот несколько способов самостоятельно проверить работоспособность вакуумного усилителя.
В первую очередь для того, чтобы в системе разряжалась система. После этого нажмите на педаль тормоза, если педаль тугая — это явный признак неисправности шланга или усилителя. Затем заглушите мотор и подождите 5-7 минут, не нажимая на тормоза.
Необходимо указать неисправность, для этого нажмите на педаль. Если он по-прежнему жесткий — скорее всего, неисправность кроется в клапане вакуумного усилителя.
Есть еще один тест. Для неработающего двигателя необходимо несколько раз нажать на педаль тормоза, чтобы снять разряд в тормозной системе. После этого, не отпуская педаль, нужно завести двигатель, если педаль начинает плавно опускаться вниз — усилитель в порядке.
Причина мягких тормозов
Мягкая педаль тормозов, как правило, свидетельствует одновременно о нескольких поломках в тормозной системе. Точнее, причин, по которым педаль тормоза может стать мягкой, множество. Иногда такое явление еще называют отказом педали тормоза.
Сегодня разберемся с тем, что педаль тормоза стала жесткой или наоборот очень мягкой . Автопроизводители обеспечивают такое поведение педали, когда на ней не возникает ни провалов, ни вибраций, а чтобы включить тормозную систему, не нужно прилагать много усилий к педали.
Однако бывают моменты, когда его поведение вызывает озабоченность. Либо, либо наоборот, становится чересчур тугим. Оба эти варианта недопустимы и говорят о технических проблемах тормозной системы.
Перед ремонтом Необходимо понять, что именно нужно отремонтировать или заменить. Ниже мы разберем наиболее вероятные причины неисправностей и возможные варианты их устранения. Педаль тормоза стала твердой?
Для создания необходимого давления в тормозной системе вакуумный усилитель соответствует тормозной системе, соответственно при его некорректной работе водителю просто не до педали:
- Продувка воздушного фильтра Вакуумный усилитель.
Решение — заменить фильтрующий элемент; - Профилировал корпус клапана в вакуумнике. Будет собран;
- Повреждение реабилитационной диафрагмы, тут ничего не поделаешь, надо менять;
- Неисправность галстука. Опять замена;
- Неправильный обратный клапан . Решена его замена;
- Нарушение герметичности системы. Разгерметизация может произойти из-за повреждения шланга, соединяющего впускной коллектор и «вакуум», ослабление хомутов. В худшем случае решается заменой шланга, в лучшем — снятием хомута;
- Посадка уплотнительных колец в один или несколько рабочих цилиндров. Происходит это из-за использования некачественной тормозной жидкости, либо попадания на кольца ГСМ. Переборка рабочих цилиндров теперь почти никого не отягощает, их проще заменить тормозной жидкостью.
(Баннер_Контент)
Диагностика вакуумного усилителя Часто признаком разгерметизации является нестабильная работа двигателя (троежение).
Происходит это из-за попадания воздуха во впускной коллектор. Он резко нагнетает топливовоздушную смесь в цилиндры. Если педаль не засыпает на автомобиле, в первую очередь следует проверить надежность соединений .Кроме того, при развертывании системы на двигателе слышно характерное шипение вакуумного усилителя.
Для уточнения неисправности выключите двигатель и подождите несколько минут, не нажимая на педаль. Если по истечении этого времени педаль остается тугой, скорее всего, причина в обратном клапане.
Правильная работа вакуумного усилителя диагностировать очень просто . Для этого, не звонящего автомобиля, следует «накачать» педаль, затем, продолжая ее удерживать, запустить мотор. Если «вакуум» работает, то педаль опустится.
Педаль тормоза не работает Вероятных причин повышенной мягкости педали несколько и самая распространенная — попадание воздуха в тормозную систему. Воздух может попасть из-за недостаточного уровня тормозной жидкости.
Чтобы удалить воздух, необходимо правильно прокачать тормоза.
Мягкая педаль Также из-за неисправностей главного или рабочего тормозных цилиндров, например, из-за бустера тормозной жидкости или перекрещивания поршней.
Вне зависимости от того, стала педаль тормоза твердой или мягкой, она должна немедленно автоматизировать любого водителя, продолжать движение на таком автомобиле, значит подвергать опасности не только себя, но и окружающих. А если устранить поломку на месте не представляется возможным, ее исправит обращение в ближайший автосервис.
Тормозная система является неотъемлемой частью безопасности любого автомобиля. Если вдруг педаль тормоза стала твердой или слишком мягкой, то это повод задуматься о необходимости тщательного осмотра.
О качестве работы тормозной системы чаще всего говорят те внешние элементы, с которыми водитель взаимодействует во время движения. Именно свободный ход педали тормоза, достаточно удобный для ноги, обеспечивает хорошее управление автомобилем.
В общем педаль тормоза твердая, мягкая или средняя. Для каждого есть несколько причин.
Слишком жесткая педаль тормоза не всегда такое количество стандартных и обычных причин. Проблема может заключаться в специфике конкретной модели. Иногда случаются ситуации, когда сплошная педаль тормоза – банальная особенность конкретного производителя. Такой же большой ход педали тормоза свойствен и некоторым ее видам. Когда педаль тормоза не возвращается, это огромная проблема.
Если педаль тормоза дубовая, то есть достаточно туго нажимается, то тут два варианта — либо посетить автосервис, либо пытаться решить проблему самостоятельно, что является немалым риском. В общем, решение есть сразу, так как езда с ним очень опасна не только для самого водителя, но и для окружающих.
Существует восемь наиболее распространенных причин:
Все вышесказанное в первую очередь свидетельствует о том, что только в случае плохого ухода за автомобилем возникают различные неприятные ситуации.
Например, необходимо регулярно проверять, насколько хорошо работает вакуумный усилитель.
Для такой диагностики есть несколько способов:
- Первый способ — завести двигатель и дать ему поработать до полной разрядки системы. Если после этого педаль тормоза дубовая, то проблема в шланге или усилителе. Затем следует остановить работу двигателя, дать ему постоять несколько минут, а затем снова проверить работу системы и проследить ход этого процесса от «А» до «Я». Если после такой процедуры тормозной системе явно не хватает «легкости» при ее срабатывании, то, скорее всего, виноват клапан усилителя;
- Второй способ — нажать при неработающем двигателе, чтобы снять разрядку и полностью разрядить тормозную систему. Затем нужно включить мотор, не отпуская педаль. Когда усилитель в полноценном рабочем состоянии, все нормально. В противном случае необходимо проверить работоспособность его деталей.
Почему педаль мягкая
Из-за определенных проблем может быть неисправна и педаль тормоза.
Такая неприятность может идти «в комплекте» вместе с другими сопутствующими. Очень часто мягкая педаль тормоза является непосредственной причиной значительного ухудшения управляемости автомобиля.
Мягкая педаль тормоза может быть простой особенностью модели. Причиной неисправностей может быть попадание воздуха в соответствующую систему. Все это устраняется прокачкой самого тормоза, чтобы обезопасить его от возможного устранения неполадок.
В свою очередь воздух может попасть в систему разными путями, и если с ней проблемы, то скорее всего виноват он. В этом случае трубопровод вполне может потерять герметичность или даже лопнуть. Из-за поломки главного цилиндра, в котором начинается тормозная жидкость, возникают соответствующие проблемы. Сопутствующей поломкой часто является заклинивание поршня. Желательно провести диагностику цилиндров и проверить тормозную жидкость. Неплохо бы также провести полную проверку работоспособности машины на предмет наличия скрытых проблем, если таковые имеются.
Видео «Признаки и неисправности вакуумного усилителя тормозной системы»
В записи показано как заменить вакуумный усилитель на автомобиле марки ВАЗ-2109.
Бесперебойно функционирующая тормозная система автомобиля (ТС) — залог водителя и окружающих его лиц в дороге. Любое нештатное поведение тормоза (основного или стояночного) является поводом для немедленного ремонта. Ремонт транспортного средства желательно в автосервисе, так как только опытные «профи» могут с точностью сказать, что с ней произошло на самом деле. Ведь причины одной и той же проблемы у разных автомобилей абсолютно разные.
Примером может служить ситуация, когда педаль тормоза стала твердой настолько, что приходится прилагать лишние усилия, чтобы сдвинуть ее с места и осуществить торможение.
Такая неисправность не менее опасна, чем ослабление педали, в результате чего она выходит из строя. Ведь и то, и другое делает машину практически неуправляемой в экстремальных условиях на трассе.
ТК является сложным устройством, и его неудовлетворительная работа может быть вызвана разными причинами, наиболее распространенные из них приведены ниже:
- неисправности вакуумного усилителя;
- кольца набухшие;
- повреждение педали.
Неисправности «Вакуумник».
Вакуумный усилитель тормозов (ВУТ), или просто «Вакуумник», создает в автомобиле давление, необходимое для их правильной работы.
Если усилитель работает плохо, педаль просто не сосет. Так как вакуумный усилитель является довольно сложной деталью, состоящей из множества компонентов, неисправность любого из них может привести к такой ситуации. А так как поломка усилителя, как правило, требует его замены, то правильная диагностика поможет автовладельцу сэкономить не только время, но и средства.
Если засорился фильтрующий элемент Вакуумника, достаточно заменить только его, чтобы усилитель начал нормально функционировать. Это касается и поврежденной диафрагмы вакуумного усилителя, и проблем с наконечником или обратным клапаном.
Достаточно заменить один поврежденный компонент, и ТК снова будет действовать как новый. Важно точно диагностировать, что именно следует изменить.
Иногда серьезной замены не требуется. Например, в ситуации, когда было изображено транспортное средство. Герметичность может быть нарушена в двух случаях: либо поврежден шланг между «вакуумом» и впускным коллектором, либо ослаб хомут. И если в первом случае замена шланга все же нужна, то во втором хомуты достаточно затянуты. Это можно сделать в автосервисе, но автовладелец вполне способен справиться с такой проблемой самостоятельно.
Но бывает, что непригодность только одного компонента полностью приводит к неработоспособности ВУТ. С наибольшей вероятностью это происходит в ситуации, когда ТС долгое время не обращает внимания. В результате сильно поврежденный клапан переходит в такое положение, при котором выводится весь «Вакуум». Примером может служить поломка, когда в усилителе коротит вентиль, и последний приходится менять полностью.
Это один из самых дорогих видов ремонта автомобиля.
Продувные кольца в цилиндрах.
Состояние тормозов во многом зависит от того, какая тормозная жидкость используется во время работы. Если это продукт хорошо зарекомендовавшей себя фирмы, то ТК редко выходит из строя или выходит из строя. А вот при некачественной жидкости один или несколько цилиндров могут плохо функционировать из-за того, что будут заглубляться уплотнительные кольца. То же самое происходит, когда ГСМ делает кольцо.
Раньше, особенно в эпоху советского автомобилестроения, автовладельцу рано или поздно приходилось перебирать рабочие цилиндры. Такое занятие было долгим и обременительным даже для профессионалов. Но сейчас вряд ли кто-то будет это делать при неисправности ТК. С точки зрения экономии времени менять их намного проще, а заодно и тормозную жидкость. Однако можно избежать лишних финансовых затрат, если с самого начала использовать качественную, пусть и дорогую жидкость, так как стоимость ремонта всегда выше.
Повреждение педали.
Иногда причиной повреждения ТК является неисправность самой педали тормоза. Дефекты бывают разные, но все они связаны исключительно с механическими поломками. Иногда педали тормоза ломаются или отделяются рычагами. Безошибочный признак такого повреждения – характерный звук при нажатой педали. Иногда поломка педали вызвана очень простой причиной – попадание под нее инородного тела или погнутого коврика.
Методы самодиагностики.
Можно сразу определить разгерметизацию автомобиля, если двигатель работает нестабильно — «троит». Это вызвано попаданием воздуха внутрь впускного коллектора. Топливно-воздушная смесь, попадая в цилиндр, при этой неисправности резко отходит. Признаком неисправности вакуумного усилителя также служит шипящий звук. Для уточнения поломки следует нажать на педаль через несколько минут после выключения двигателя. Если скованность педали не исчезла, то, скорее всего, сломался обратный клапан.
При работающем вакуумном усилителе «прокачивается» без запуска мотора педаль при запуске двигателя уходит вниз.
Личный опыт автовладельцев.
Алексей:
«Я водитель с небольшим стажем, поэтому определить причину тугости педали было очень сложно. Я даже не мог сообразить, как снять тот или иной элемент для диагностики конкретных проблем. В итоге я отвез свою аудио А6 на СТО. Работающие там мастера определили характер поломки даже без снятия агрегатов. Правильная диагностика помогла мне заметно сэкономить на ремонте».
Иван:
«Когда на моей Ваз 2114 сломался усилитель, я убедился в его неисправности простым способом. Для этого снимается шланг, а усилитель заглушается. Наличие разряда при запуске двигателя свидетельствует о том, что неисправен «Вакуум». »
Роман:
«Вакуумный усилитель и цилиндры очень сложно диагностировать. Только те автосервисы, где есть манометры, могут обеспечить наилучшую диагностику автомобиля.
Видео.
Признаки неисправности тормозной системы автомобиля. Неисправности тормозной системы
В тормозной системе автомобиля ВАЗ 2114 имеется главный тормозной цилиндр (ГТЦ).
Основной задачей этого узла является преобразование усилия, когда водитель нажимает на педаль тормоза. Тормозной цилиндр расположен на крышке вакуумного усилителя, а над ним находится бачок с тормозной жидкостью. Как и любая другая деталь, ГТЦ может выйти из строя. Для его замены необязательно ехать в автосервис, эту работу можно выполнить своими руками.
Признаки неисправности ГТЦ
При выходе из строя устройства водитель может заметить следующие симптомы:
- Снижение эффективности торможения.
- Разгерметизация тормозной системы.
- Изношенные уплотнения.
Проверить работоспособность главного цилиндра можно простым способом — при заглушенном двигателе нажать на педаль тормоза. После этого ВАЗ 2114 следует завести, оставив ногу на педали. Если это не удается, значит, система работает правильно. В другом случае требуется диагностика, а иногда и восстановление герметичности соединения. Конечно, можно использовать ремкомплект, но тогда детали будут изнашиваться неравномерно.
Лучшим решением будет полная замена блока.
ВАЖНО! Неисправности главного цилиндра могут негативно сказаться на производительности. силовая установка. Это проявляется в снижении динамики, утечках жидкости, а также в снижении разгона. Опытные автолюбители в этом случае пережимают вакуумный шланг при работающем двигателе. Если после этого признаки, то надо менять усилитель тормозов.
Необходимые инструменты и материалы
Замену главного цилиндра следует начинать только при наличии необходимых инструментов и материалов. Начать стоит с инструментов:
- Плоскогубцы.
- Голова на «18».
- Ключи на «17», «13» и «10».
- Металлическая щетка.
- Инструмент для снятия фитингов.
- Инструмент для натяжения пружин.
Что касается материалов, то к ним можно отнести только жидкость для системы.
Конечно, стоит приобрести новый тормозной блок. Рядом с местом работы следует расстелить клеенку или другое чистое покрытие.
В процессе туда следует ставить детали. Агрегат нужно покупать непосредственно для ВАЗ 2114, так как есть отличия от 2109и 2111.
Процесс замены ГТЦ и тормозной жидкости
Когда инструменты, новый механизм и жидкость подготовлены, можно приступать к демонтажу старой запчасти ВАЗ 2114:
Данные-ленивый тип =»image»data-src=»https://vazremont.com/wp-content/uploads/2016/02/clin3..jpg 604w, https://vazremont.com/wp-content/uploads/2016 /02/clin3-300×177.jpg 300w» размеры = «(max-width: 600px) 100vw, 600px» >
Совет! При сборке системы автомобилисты часто путают тормозные трубки. Чтобы облегчить работу, рекомендуется подписать их маркером. Это касается любых деталей в автомобиле ВАЗ 2114.
.jpg «alt=»(! ЯЗЫК: Открутить отмеченные крепления» srcset=»» data-srcset=»https://vazremont.com/wp-content/uploads/2016/02/clin4..jpg 300w «>!}
Также может потребоваться замена вакуумного усилителя.
В этом случае демонтируйте штуцер и отверните основной блок в сторону. После этого нужно открутить шланг и перейти в салон ВАЗ 2114 автомобиля, где находится фиксатор пальца.Сняв все крепления, можно установить новый усилитель давления жидкости.
ПТС
Основной задачей тормозной системы является изменение скорости движения транспортных средств по команде водителя или электронной системы управления. Второе назначение тормозной системы — удерживать автомобиль в неподвижном состоянии по отношению к дороге во время парковки.
В сегодняшней статье мы более подробно обсудим неисправности тормозной системы, а именно ответим на следующие вопросы:
- Что такое тормозная система?
- Устройство тормозной системы;
- Сколько существует типов тормозных систем?
- Каков принцип действия?
- Сколько здесь подводных камней и ошибок?
- Диагностика тормозной системы на стенде;
- Замена тормозной жидкости на стенде.
основная информация
Основной функцией торможения считается управление скоростью автомобиля, его остановка, а также удержание в одном положении с помощью тормозной силы между дорогой и колесами автомобиля.
Тормозное усилие может создаваться двигателем автомобиля, механизмом торможения колес автомобиля, электронным или гидравлическим тормозом-замедлителем, который находится в трансмиссии. Для функционирования всех вышеперечисленных функций на транспортном средстве устанавливают разные типы тормозных систем.
Следовательно, возникает вопрос, сколько и всего?
- Рабочий. Этот тип используется при любой скорости машины для полной остановки или снижения скорости. Причем он начинает функционировать сразу после нажатия на педаль тормоза. Считается наиболее эффективным по сравнению с другими видами.
- Запасной. Используется, если главный тормозной блок неисправен. Тормозной агрегат данного типа может быть двух видов, автономный, либо его функции выполняет частично работающая система торможения.
- Парковка. Необходимо удерживать машину на месте определенное время. То есть благодаря ему полностью исключается возможность движения автомобиля без ведома водителя.

- Доп. Используется на транспортных средствах, имеющих повышенную массу, для остановки на склонах. Довольно часто бывает, что его останавливающую функцию выполняет двигатель, на котором трубопровод перекрывается с помощью заслонки.
Каков принцип действия?
Рассмотрим работу торможения на примере гидравлического рабочего органа. В момент нажатия на тормоз нагрузка передается на усилитель, который создает дополнительное усиление на главном цилиндре. Поршень главного тормозного цилиндра собирает всю жидкость в цилиндрах колес автомобиля с помощью трубопроводов. Более того, в этот же момент происходит повышение давления жидкости в тормозном приводе. Благодаря поршням цилиндров автомобильных колес тормозные колодки перемещаются к дискам, или как их еще называют барабанам.
После нажатия на тормоз происходит повышение давления жидкости, в результате чего включаются тормозные механизмы, вызывающие замедление вращения колес автомобиля и образование тормозной силы в точке контакта автомобильных шин с дорожным покрытием.
При этом чем большее усилие будет приложено к педали тормоза, тем эффективнее и быстрее будет происходить торможение автомобильных колес. Давление жидкости в момент отключения может достигать от десяти до пятнадцати мегапаскалей.
В момент окончания торможения педаль под действием возвратной пружины перемещается в обратное положение. Также поршень главного тормозного цилиндра перемещается в противоположное положение.
Части пружин снимаются с барабанов с помощью колодок. Тормозная жидкость поступает в главный тормозной цилиндр от колесных цилиндров автомобиля по трубопроводам. Таким образом, происходит снижение давления тормозной системы. Эффективность торможения значительно повышается за счет использования систем безопасности автомобиля.
Основные неисправности
Основной задачей диагностики считается обнаружение неисправности тормозной системы, а также их устранение с минимальным использованием денежных средств. Кроме того, раннее обнаружение неисправностей торможения сэкономит вам много денег, поскольку вы сможете предотвратить поломки.
В специализированных центрах диагностика тормозной системы проводится на специальном стенде, но можно сделать это и самостоятельно в домашних условиях. Чтобы выявить неисправности, нужно внимательно относиться к своему автомобилю.
Итак, сколько существует отказов тормозов?
- Возникновение посторонних шумов;
- Слышен писк при торможении автомобиля;
- Заметна утечка тормозной жидкости;
- Педаль тормоза проваливается;
- Заметно увеличился тормозной путь.
Как правило, все вышеперечисленные поломки тормозной системы связаны со следующими причинами:
- Нарушилась герметичность;
- Низкий уровень жидкости;
- Нерегулярная замена жидкости;
- изношены тормозные колодки.
Наиболее частая причина проблем – несвоевременная замена жидкости, а это может привести к полному отказу тормозов. Его необходимо регулярно чистить из-за того, что в момент использования он впитывает всю влагу.
Также может быть недостаточный уровень жидкости в тормозной системе, так как она испаряется при закипании, возникающем при торможении автомобиля.
Как правило, основные неисправности главного тормозного цилиндра возникают из-за неравномерного распределения тормозной жидкости. Конечно, отказ одного из контуров нельзя считать очень критической ситуацией, но эффективность торможения снизится. Это ни в коем случае не означает, что после такой поломки автомобиль можно будет нормально эксплуатировать. Не стоит затягивать с ремонтом главного тормозного цилиндра, он может «аукнуться» в самый неподходящий момент.
Как отремонтировать цилиндр?
Если визуальный осмотр ничего не дал, следует приступить к разборке тормозного цилиндра. Стоит отметить, что в обычном гараже провести проверку на герметичность просто невозможно. Для этого нужен специальный стенд. Перед разборкой не забудьте протереть все детали спиртом. Все резинотехнические изделия заменены на новые. В наше время не проблема найти ремкомплекты для автомобилей самых разных марок.
Если вы заметили, что вздулись прокладки, то причина такой неисправности – некачественная тормозная жидкость. Главное требование к поршням и зеркалу ГТЦ – отсутствие разнообразных царапин, повреждений, задиров.
Регулятор давления ГТЦ ремонту в кустарных условиях не подлежит. Поскольку его параметры задаются производителями, в комплекте он меняется. Важно помнить. Если вы собираетесь делать полную замену главного и тормозного цилиндров, не забудьте откачать тормозную жидкость из бачка. Также следует заткнуть тормозные шланги. Также не забывайте, что после ремонтных работ необходимо прокачать тормозную систему. Иногда проще купить главный цилиндр. Поэтому, прежде чем приступить к ремонту, попробуйте представить, сколько сил и материальных средств мы возьмем у вас на ремонт данного технического узла.
Приветствую вас друзья на сайте авторемонта своими руками. Тормозная система автомобилей состоит из целой группы узлов, каждый из которых берет на себя определенную функцию.
При этом одним из важнейших элементов является главный тормозной цилиндр. Благодаря его действию сила, приложенная к системе, принимает форму гидравлического давления.
Неисправности в главном тормозном цилиндре могут привести к ряду негативных последствий. Например, тормоза могут стать неэффективными или выйти из строя. Чтобы избежать этих проблем, каждый водитель должен знать, как распознать и устранить проблему.
Как работает ГТЦ?
Принцип работы ГТЦ основан на способности жидкости сохранять «форму» под определенным давлением. При этом конструктивно устройства состоят из 2-х секционного главного цилиндра, каждая из секций которого имеет свой гидроконтур.
Транспортные средства с передним приводом состоят из цепей, которые объединяют тормозные системы задних и передних колес по перекрестной схеме. Например, правое заднее колесо связано с левым передним, а левое заднее — с правым передним.
Это не относится к заднеприводным автомобилям, где контуры формируются по-другому.
Итак, одна из схем работает на два передних колеса, а другая на задние.
ГТЦ крепится на корпус вакуумного усилителя. В этом случае заливку рабочей жидкости производят в 2-секционный бак, расположенный над главным цилиндром. Соединение бака с ГТЦ обеспечивается благодаря специальным отверстиям.
Для упрощения обслуживания стенки бака выполнены из полупрозрачного пластика, что позволяет визуально держать под контролем уровень рабочей жидкости. Как только уровень падает ниже нормируемого значения, датчик подает сигнал на пульт управления, и загорается лампа.
В самом корпусе ГТЦ два поршня, которые устанавливаются друг за другом. Первый имеет свободное расположение, а другой, наоборот, закреплен и касается штоковой части вакуумного усилителя.
Для повышения надежности поршни уплотнены резиновыми манжетами. Поршни возвращаются в исходное положение с помощью специальных пружин. Кстати, именно они удерживают поршни в исходном положении.
Как только вы нажимаете на педаль, через шток вдавливается вакуумный усилитель.
Перемещаясь по цилиндрической полости, стержень закрывает компенсационное отверстие. В результате повышается давление в 1-м контуре, который приводит в движение 2-й поршень. Результатом является увеличение общего давления во 2-м контуре.
В момент движения поршней образуются пустые участки, которые заполняются рабочим составом. Тормозная жидкость подается через специальное отверстие. Движение поршней осуществляется до тех пор, пока возвратная пружина не выполнит свои функции.
В каждом из контуров уровень давления повышается до максимума, что приводит механизм в действие. После остановки машины и нажатия педали поршни возвращаются в исходное положение. При этом уровень давления в контуре выравнивается и становится близким к атмосферному.
Недостающий воздух всасывается через специальное компенсационное отверстие. При движении поршня в обратном направлении рабочая смесь выдавливается обратно в резервуар.
Преимущество схемной системы в том, что при выходе из строя одной цепи другая продолжает выполнять свои функции.
Например, если есть течь, то она проявится более глубоким «провалом» педали, но работа тормозов все равно останется на высоком уровне.
Основные неисправности ГТЦ и тормозной системы
Чтобы вовремя диагностировать поломку и устранить ее, важно знать симптомы неисправности главного тормозного цилиндра.
Их несколько:
1. Сильно изношенные колодки или появление течи рабочей жидкости в тормозной системе могут стать причиной снижения ее уровня. В результате эксплуатация автомобиля запрещена до завершения ремонтных работ.
Важно внимательно осмотреть состояние тормозных трубок, оценить состояние ГТЦ, проверить рабочие цилиндры, соединительные шланги и суппорты. При обнаружении течи поврежденный узел необходимо заменить.
2. При заклинивании или выходе из строя ГТЦ эффективность торможения может снизиться, высок риск «размягчения» тормоза. Это связано с уменьшением рабочей жидкости в системе или попаданием в нее воздуха. Описанные выше ситуации возможны и при закипании жидкости.
В случае, когда тормоза, наоборот, стали слишком жесткими, велик риск поломки усилителя тормозов или управляющего клапана вакуумного усилителя, а также могут возникнуть проблемы с вакуумным шлангом.
3. Ход педали тормоза увеличен. Неисправность может быть вызвана некачественной регулировкой тормозов, наличием воздуха в системе и выходом из строя тормозного цилиндра.
Запрещается игнорировать этот признак, т. к. высок риск полного выхода из строя тормозной системы. Кроме того, неисправность одного из цилиндров может привести к отказу тормоза.
4. Неравномерное торможение или резкое снижение эффективности тормозной системы. У этой проблемы может быть несколько причин. Один из них – попадание рабочей тормозной жидкости или смазки на поверхность колодки.
Если при нажатии на педаль тормоза автомобиль начинает отклоняться в ту или иную сторону, это сигнализирует о попадании грязи на тормозные колодки или выходе из строя главного тормозного цилиндра.
Еще одной вероятной причиной проблемы является износ дисков или тормозов.
Особенности диагностики
Первое, на что следует обратить внимание, это индикация приборной панели. Как правило, они реагируют на неисправность раньше, чем вы сможете диагностировать ее в процессе эксплуатации. Так вот, если есть проблемы в тормозной системе, то должна загореться соответствующая лампа на приборной панели.
При появлении первых сигналов неисправности в тормозной системе, первое, на что необходимо обратить внимание, это осмотр тормозного цилиндра (на нем не должно быть явных следов протечки).
Кроме того, обратите внимание на каждый выход тормозной цепи, соединения и т.д. После внешнего осмотра проверьте давление в тормозной системе (это можно сделать с помощью специального манометра).
Давление, полученное при измерении, сравнивается с рекомендуемым производителем автомобиля. Если замеры показали серьезную разницу, то можно говорить о выходе из строя одной из цепей.
Отдельно стоит проверить герметичность цепи, но эту работу можно выполнить только на специальном оборудовании.
Как показывает практика, одной из основных причин выхода из строя ГТЦ является его разгерметизация. Заметить это несложно по появлению течи и характерному запаху. Повреждение корпуса, выход из строя возвратной пружины, износ манжет (уплотнительной и впускной) или зеркала в сборе — все это повод для замены главного тормозного цилиндра.
Знание того, как определить неисправность главного тормозного цилиндра, поможет выявить проблему на ранней стадии, устранить ее и исключить риски для жизни. Удачи на дорогах и, конечно же, никаких поломок.
От исправности главного тормозного цилиндра зависит надежность всей тормозной системы.
Для повышения эффективности торможения главный тормозной цилиндр сочетается с вакуумным усилителем тормозов.
Бачок с тормозной жидкостью расположен на корпусе главного цилиндра и оснащен датчиком уровня жидкости, в случае утечки жидкости подаст сигнал лампочка на панели приборов.
Признаками того, что требуется ремонт главного тормозного цилиндра ваз 2110 являются такие неисправности как :
- Появление тормозной жидкости на корпусе вакуумного усилителя тормозов в месте соединения с главным тормозным цилиндром;
- Мягкая или залипающая педаль тормоза;
- Заедание педали тормоза при торможении;
- Педаль тормоза не возвращается в исходное положение.
Появление тормозной жидкости из-под главного цилиндра на корпусе вакуумного усилителя «говорит» о том, что две манжеты низкого давления в главном цилиндре тормозов изношены и нуждаются в замене.
Мягкие педали тормозов свидетельствуют либо о наличии воздуха в тормозной системе, либо об износе поршневых манжет главного цилиндра, либо об износе «зеркала» главного цилиндра.
Подклинивание педали тормоза «говорит» от перекрытия компенсационного отверстия или его засорения в корпусе главного тормозного цилиндра.
Заклинивание педали тормоза может быть вызвано заклиниванием поршней в главном цилиндре из-за попадания грязи.
Это связано с тем, что тормозная жидкость гигроскопична и «тянет» влагу, вместе с которой попадает пыль и различные мелкие частицы. Поэтому производитель рекомендует производить периодическую замену тормозной жидкости, в соответствии с регламентом для данной модели автомобиля.
Невозврат педали тормоза может быть вызван поломкой одной или двух возвратных пружин поршней главного цилиндра, либо неисправностью в приводе педали тормоза.
Перед тем, как приступить к ремонту главного тормозного цилиндра ВАЗ 2110, необходимо приобрести ремкомплект для замены его изношенных деталей, а также специальный ключ. Ключ необходим для того, чтобы не сорвать края штуцеров тормозных трубок при их откручивании на корпусе главного цилиндра.
Ремкомплекты бывают полными и неполными. В полный ремкомплект входят все манжеты, пыльник, пружины, шайбы, а также пластиковые конусы для установки новых манжет на корпус поршня. В неполный комплект обычно входят только сами манжеты главного цилиндра.
Схема работы:
- Снять минусовую клемму с аккумулятора и клеммы с бачка тормозной жидкости;
- Удалите тормозную жидкость из бачка главного тормозного цилиндра с помощью шприца или груши;
- С помощью специального ключа открутите фитинг тормозной магистрали;
- Наденьте резиновые заглушки на штуцеры трубопроводов и осторожно отведите патрубки в стороны от корпуса цилиндра;
- Отдайте гайки крепления главного цилиндра к корпусу вакуумного усилителя тормозов;
- Снимите главный цилиндр.
Далее работы по разборке и ремонту главного цилиндра необходимо производить на верстаке или столе, где необходимо все снять и накрыть чистой тряпкой. Чтобы снять резервуар с главного цилиндра, с усилием наклоните его в сторону. Разборку главного цилиндра необходимо производить, последовательно складывая все снятые детали в порядке их снятия с корпуса цилиндра.
Установочные винты поршня цилиндра приведены в порядок, и детали сняты.
В этом случае не торопитесь, чтобы внутренности не разлетелись под действием пружины и все можно было сложить в порядке снятия.
Затем корпус и все компоненты главного цилиндра необходимо промыть и высушить. Более того, все резиновые изделия нельзя мыть бензином или протирать маслом, это может им навредить, и они потеряют форму.
Помыв корпус цилиндра, нужно внимательно осмотреть его внутреннее зеркало на наличие раковин или эллипса. В том месте, где появился эллипс, зеркало светить не будет. Если в результате осмотра выявлены перечисленные виды износа, то цилиндр подлежит замене, так как замена манжет не даст желаемого результата и будет лишь пустой тратой времени и денег.
Если зеркало главного цилиндра целое, то новые уплотнительные кольца (высокого давления) на поршне цилиндра, новая манжета двухбуртовая (низкого давления) и все собирается в обратном порядке… При сборке, все детали смазываются новой тормозной жидкостью.


После регулировки кронштейн должен упираться в буфер выключателя (при отпущенной педали). Удерживая выключатель в этом положении, затяните гайки крепления. Если таким способом не удалось отрегулировать свободный ход педали, обязательно обратитесь к специалистам.




Как правильно заводить машину зимой, нужно ли прогревать машину зимой, полезные советы
Как завести дизель зимой, прогрев дизеля зимой.
Потерял ключ от автомобиля что делать, ключ от автомобиля внутри машины
Стук при движении автомобиля. Что может стучать в автомобиле. Как определить причину стука.
Высока вероятность того, что шланг окажется повреждён. В этом случае проблему можно решить простой заменой. Но возможен и второй вариант: на самом ВУТе могут обнаружиться потёки тормозной жидкости. В этом случае менять придётся и сам усилитель.
Если педаль после запуска мотора провалилась в пол — ВУТ исправен. Если она осталась неподвижна — ВУТ придётся менять.
Он тоже снимается вручную, обратный клапан ВУТа при этом придерживается второй рукой.Обратный клапан при этом нужно придерживать другой рукой
Он должен быть целым и без потеков жидкости.




При торможении нет ощущения стабильного сопротивления усилию нажатия
Вот такая картина нам открылась:
Вот такая картина у нас получилась:
В этом случае может потребоваться срочный ремонт ВУТ. Такого «подсоса» воздуха вполне достаточно, чтобы бензиновый двигатель начал троить;
При последующих нажатиях не должно быть посторонних звуков: скрипа или скрежета, свидетельствующих о начавшихся проблемах с мембраной или пружиной, возвращающей ее в исходное положение.
Если после такой процедуры тормозной системе явно не хватает «легкости» при срабатывании, то, скорее всего, виноват клапан усилителя;
Решается его заменой;
Уже по названию понятно, что это устройство отвечает за силу давления, ее уменьшение или увеличение. Делает он это в зависимости от того, насколько загружена задняя ось автомобиля;
Если при осмотре вы обнаружите темные пятна на рабочей поверхности, это свидетельствует о неравномерном износе. В этом случае вибрация обычно очень сильная. Такие барабаны нуждаются в срочном ремонте и, возможно, замене на дисковые барабаны. тормозные механизмы;
А вот если шипит при отпускании тормоза, то это явление из разряда рядовых. Если, конечно, шипение не слишком явное.
Особенно в холодное время года. Пока шланг не прогрет, он остается достаточно жестким и тормоза работают нормально. После непродолжительной работы двигателя шланг нагревается, становится более эластичным, и если не замечать, например, его расслоения, то снижается его пропускная способность. Возможно проблема с педалью тормоза.