принцип работы, устройство, схема подключения, назначение
Для питания бортовой сети транспортного средства предусмотрено два источника тока. И водителю очень важно разбираться в принципах работы автомобильного генератора, который наряду с аккумуляторной батареей, предназначен для обеспечения энергией электрооборудования машины.
К надёжности и стабильности устройств такого рода предъявляются жесткие требования.
В Российской Федерации производимое и используемое электрооборудование должно соответствовать ГОСТ Р 52230-2004. Документ устанавливает общие технические условия, которые распространяются и на стартерные аккумуляторы автомобилей. Упомянутый национальный стандарт полностью соответствует международным нормативам, что позволяет использовать на отечественных машинах компоненты иностранного производства.
На заре автомобилестроения и вплоть до 60-х годов прошлого века в бортовых сетях использовались генераторы постоянного тока — капризные и маломощные.![]()
Для чего в автомобиле нужен генератор?
Генератор используется для поддержания в бортовой сети определенных напряжения и тока. Основное назначение генератора автомобиля состоит в обеспечении устойчивого питания электрооборудования при работающем двигателе – в частности, для:
- Заряда аккумулятора.
- Питания всех потребителей электрического тока в нормальных условиях.
- Питания потребителей совместно с АКБ при экстремальной эксплуатации.
Применение автомобильного генератора позволяет восстанавливать заряд аккумулятора, который расходуется на запуск двигателя при помощи стартера. При этом напряжение в бортовой сети пребывает в строго установленных пределах, превышающих электрохимический потенциал пластин батареи.
Разобравшись в вопросе, для чего нужен генератор в автомобиле, необходимо понять, что в случае отказа агрегата двигатель проработает еще какое-то время за счет аккумулятора. Продлить этот период можно, отключив все второстепенные потребители: вентилятор отопителя, кондиционер, аудиосистему. По исчерпании заряда батареи двигатель заглохнет.
Устройство и конструкция автомобильного генератора
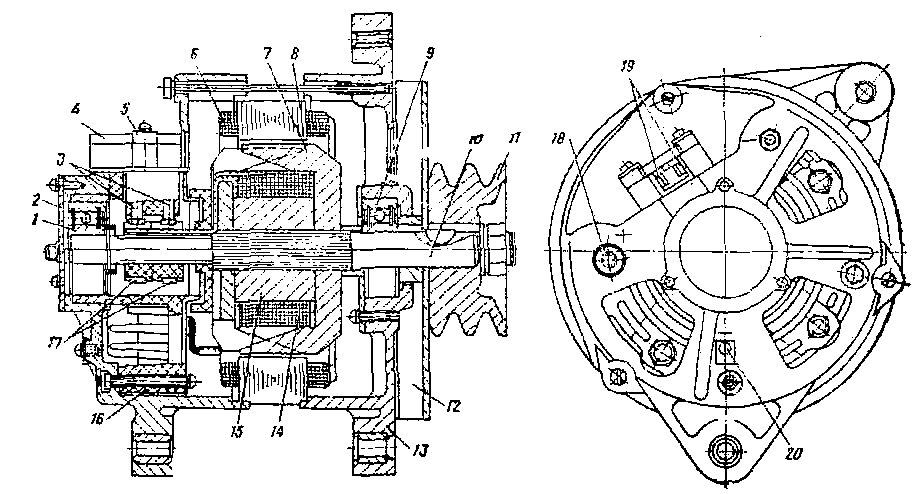
Трехфазные электроагрегаты переменного тока, устанавливаемые на современных машинах, могут быть 2-х видов: стандартный и компактный. Общее устройство автомобильных генераторов 2-х видов одинаково — они состоят из следующих элементов:
- Шкива с валом и подшипниками.
- Ротора с контактными кольцами.
- Обмоток статора.
- Корпуса генератора.
- Регулятора напряжения.
- Выпрямительного устройства.
- Щеточного узла.
Конструкции автомобильных генераторов различаются только особенностями компоновки.
При одинаковых электрических параметрах стандартные агрегаты значительно крупнее малоразмерных. Компактность обеспечивается за счет использования современных материалов и технологий.
Вот из чего состоит электрогенератор и какие функции выполняют его компоненты:
- Шкив обеспечивает передачу вращения от коленвала на ротор с помощью ремня.
- Корпус генератора имеет две крышки (переднюю, заднюю) и нужен для соединения элементов в единую конструкцию. На наружной поверхности размещены кронштейны, с помощью которых устройство крепится на двигателе.
- Ротор представляет собой вал, на котором установлены обмотки возбуждения и контактные кольца из электротехнической меди.
- Статор включает в себя магнитопровод из пакета стальных пластин, в которых вырезаны фигурные пазы. В них уложены трехфазные обмотки из одножильного медного провода, где и генерируется ток.
- Регулятор напряжения изготавливается в виде отдельного блока или комбинируется со щеточным узлом.
Основное назначение — управление работой генератора путем изменения тока в обмотке возбуждения. - Выпрямительное устройство по схеме Ларионова состоит из двух частей: алюминиевых теплоотводов, в каждый из которых запрессовано по три силовых диода. Вентили обеспечивают преобразование переменного напряжения в постоянное, что используется в бортовой сети для питания электрооборудования.
- Передача напряжения на обмотку возбуждения производится через специальный узел и цилиндрические контактные кольца. Щетки делаются из специальных сортов графита и устанавливаются в держателе с направляющими, изготовленными из диэлектриков. Для обеспечения плотного контакта они подпружинены, а напряжение на них подается по проводу, запрессованному в основание.
Разбираясь с устройством генератора современного автомобиля, следует выделить в нем механическую и электрическую часть. Первая (к которой относятся шкив и два подшипника ротора) обеспечивает его вращение в корпусе.
Вторая часть собственно генерирует электрический ток для запитывания бортовой сети. Описываемая схема автомобильного генератора впервые была применена в изделиях американской фирмы «Невиль» в 1946 году. Такими устройствами комплектовались военные машины и автобусы.
Основные параметры генератора
Основные номинальные параметры определяются исходя из технических требований к конструкции конкретной модели транспортного средства:
- Напряжение. В соответствии с ГОСТ 52230-2004 выбирается из диапазона от 7,14 и до 28 В.
- Ток отдачи.
- Частота возбуждения и самовозбуждения.
Токоскоростная характеристика определяет зависимость номинального тока генератора от частоты его вращения. Напряжение в бортовой сети легковых и коммерческих автомобилей, а также автобусов составляет 12 В, особо мощных и специальных машин — 24 В. Максимальный ток отдачи определяется при частоте вращения ротора в 6 000 мин-1.
Еще одна важнейшая характеристика данного агрегата — КПД. Для современных моделей этот показатель находится на уровне 50-60%.
Как работает автомобильный генератор?
Устройство начинает функционировать только после запуска двигателя стартером, который запитывается напрямую от аккумуляторной батареи. Ключевой принцип работы генератора автомобиля состоит в преобразовании механической энергии в электрическую. На коленчатом валу силового агрегата установлен шкив, который раскручивает через ременную передачу установленный на необслуживаемых подшипниках ротор.
Питание обмотки возбуждения, расположенной на вращающемся якоре, осуществляется от аккумулятора через щеточный узел и контактные кольца. Для защиты батареи от саморазряда подключение производится через специальный выпрямитель, состоящий из трех диодов. Величина напряжения в этой цепи регулируется электронным или электромеханическим стабилизатором, интегрированным или выполненным в виде отдельного устройства.
Вращающийся якорь создает электромагнитные поля, которые индуцируют в обмотках статора переменный ток. Он поступает на выпрямитель, представляющий собой блок диодов. В него входят шесть вентилей: по три отрицательных и положительных. Они обеспечивают преобразование фазного напряжения в линейное. Соединение обмоток генератора осуществляется по схеме «треугольника» или «звезды». В первом случае величина тока в 1,7 раза ниже, нежели во втором. Треугольник применяется на моделях авто повышенной мощности.
Описываемый принцип действия автомобильного генератора обеспечивает поддержание в бортовой сети напряжения в диапазоне от 13,9 до 14,5 В. Точная величина зависит от частоты вращения коленчатого вала и уровня нагрузки. Потребители (например, аккумулятор) к электроагрегату подключаются через вывод «В+».
Для чего в генераторе регулятор напряжения?
При изменении частоты оборотов коленчатого вала и соответственно ротора в бортовой сети могут возникнуть скачки напряжения, которые негативно сказываются на работе потребителей.
Если возникает неисправность регулятора или повреждение щеточного узла и контактных колец, возможен недозаряд или перезаряд аккумуляторной батареи. Длительная эксплуатация машины с таким дефектом приведет к выходу из строя АКБ.
Неисправность генератора можно определить по индикатору на панели приборов. Горение лампочки заряда аккумулятора после запуска говорит о недостаточном напряжении в сети, а мигание указывает на превышение.
Заключение
Даже самое общее представление об устройстве и принципах работы автомобильного генератора может помочь избежать неисправностей электрооборудования. Генератор начинает работать после запуска двигателя и выполняет функции основного источника тока в автомобиле.
В процессе эксплуатации автомобиля необходимо тщательно следить за натяжением приводного ремня, которое влияет на положение генератора. На ряде современных автомобилей агрегат закреплен прочно, и изношенный клиновый или поликлиновый ремень необходимо сразу менять. Поддержание генератора в исправном состоянии позволит избежать крупных трат на капитальный ремонт авто.
Принцип работы генератора переменного тока автомобиля, устройство
Принцип работы генератора состоит в преобразовании механической энергии в электрическую. Происходит это за счет явления электромагнитной индукции. Суть его состоит в том, что при пересечении проводником электричества силовых линий магнитного поля, на концах первого возникает разность потенциалов. То есть электрическое напряжение. Принцип работы автомобильного генератора заключается в том же.
Генератор автомобиля является генератором переменного тока со встроенным в него выпрямителем.
Для чего автомобилю нужен генератор
Каждому автомобилю для работы нужна электрическая энергия.
Она используется для пуска и работы двигателя, освещения дороги. Контрольные приборы и световая индикация тоже используют ее для нормального функционирования. Поэтому электрический аккумулятор в процессе работы автомобиля быстро разряжается. Чтобы он заряжался во время работы двигателя, на каждый автомобиль, оснащенный двигателем внутреннего сгорания, устанавливают генератор.
Состав и устройство автогенератора
Автогенератор состоит из следующих частей:
- Статор, включающий в себя сердечник из пластин электротехнической стали с тремя намотанными на него катушками медного эмалированного провода диаметрам чуть меньше миллиметра. Соединяются эти обмотки между собой «звездой», а к их свободным концам подключаются диоды выпрямителя.
- Ротор, состоящий из сердечника с 6 полюсами и намотанной внутри этой конструкции катушки изолированного медного провода, выводы которой подключены к двум медным контактным кольцам. Эта катушка является обмоткой возбуждения автогенератора.

- Блок диодов выпрямителя. Его схема состоит из 6 мощных диодов, расположенных на двух алюминиевых подковах и попарно соединенных между собой. Способом их коммутации здесь, как правило, бывает схема Ларионова. Эта схема преобразует трехфазное переменное напряжение в постоянное.
- Дюралюминиевый корпус автогенератора, с изолированной от него клеммой выхода, и с элементами крепления к двигателю. Выполнен он из двух половинок: передней и задней, стягивающимися между собой длинными болтами с гайками.
- Регулятор напряжения со щетками. В более ранних конструкциях автогенератора регулятор напряжения не объединялся с блоком щеток, а устанавливался в моторном отсеке отдельно. Схема подключения автогенератора со встроенным и вынесенным регулятором напряжения несколько различается.
- Помехоподавляющий конденсатор. Служит для уменьшения помех радиоаппаратуре в бортовой сети автомобиля. Подключается параллельно выходу генератора, то есть один его вывод присоединяется к плюсовой клемме устройства, а другой к «массе» автомобиля.

- Приводной шкив, часто соединенный с крыльчаткой охлаждения.
Схема регулятора напряжения, по сути, является усилителем тока с отрицательной обратной связью по напряжению. То есть повышение напряжения на выходе автогенератора приводит к уменьшению тока проходящего через обмотку возбуждения ротора, что ослабляет его магнитное поля, а из-за этого уменьшается напряжение на выходе устройства. В современных генераторах для питания обмотки возбуждения используются дополнительный выпрямитель из трех маломощных диодов. Это исключает протекание тока через обмотку возбуждения при выключенном зажигании и упрощает схему индикации наличия или отсутствия зарядки. При включении зажигания, через индикаторную лампочку, на регулятор напряжения подается питание. Пока нет зарядки, ток возбуждения генератора идет через лампочку и она светится. А как только генератор начинает вырабатывать энергию, питание на регулятор подается с дополнительных диодов, ток через контрольную лампочку прекращается и она гаснет.
Работа агрегата
При прохождении тока по обмотке возбуждения автогенератора, вокруг ротора возникает магнитное поле.
Вращение ротора двигателем через приводной ремень, заставляет силовые линии магнитного поля пересекать витки обмоток статора. Отчего в них возникает ЭДС, а на выводах обмоток появляется переменное электрическое напряжение.
Последнее преобразуется блоком диодов в постоянное. Необходимая для нормальной зарядки аккумулятора величина постоянного напряжения (от 13,9 до 14,2 В) поддерживается при помощи реле-регулятора, которое при повышении напряжения выше верхнего значения, уменьшает ток возбуждения. А при снижении ниже нижнего, увеличивает его. Так устроен любой автогенератор.
Немного истории
Первые автомобильные генераторы были генераторами постоянного тока. Такими генераторами автомобили комплектовались вплоть до начала 60 годов прошлого века. Их главное отличие от генераторов переменного тока в том, что электромагниты, создающие магнитное поле, неподвижны.
ЭДС находится во вращающихся в этом поле обмотках ротора. Снимается же ток с изолированных между собой полуколец, поэтому на каждой щетке присутствует напряжение только одной полярности. Их недостатками является сложная конструкция щеточно-коллекторного узла и низкая надежность из-за большого тока, протекающего через контакты между щетками и коллекторными пластинами.
Поэтому, как только промышленность стала выпускать полупроводниковые диоды достаточной мощности, генераторы постоянного тока на автомобилях стали заменять генераторами переменного тока с полупроводниковыми выпрямителями. Выпрямители первых таких генераторов для автомобиля были селеновыми. Они имели большие размеры, а их рабочая температура была значительно ниже, чем у современных кремниевых. Поэтому они не могли размещаться внутри генератора.
Первые регуляторы напряжения были вибрационные. Они представляли собой реле, регулирующее ток возбуждения за счет частых кратковременных разрывов цепи, питающую катушку ротора.
Поэтому регулятор напряжения до сих пор часто называют реле-регулятор. Они имели нормально замкнутые контакты, подающие питание на катушку якоря. При повышении напряжения бортовой сети, обмотка реле притягивала сердечник и разрывала цепь питания якоря. От этого падало выходное напряжение генератора, реле переставало удерживать сердечник, и цепь питания ротора вновь замыкалась.
На смену им пришли полупроводниковые регуляторы на дискретных элементах. А за ними и интегральные регуляторы напряжения, обладающие столь малыми размерами, что их стали объединять в один узел со щетками и вставлять в корпус генератора.
Надежность генераторов
Наибольшее влияние на надежность и срок службы автомобильных генераторов оказывает качество подшипников ротора, щеточно-коллекторного узла и изоляции обмоток. Первый и последний фактор зависит главным образом от уровня технологии производства комплектующих. Воздействие второго стремятся устранить, разрабатывая бесконтактные индукторные генераторы с укороченными полюсами.
Такие генераторы уже несколько десятков лет используют на тракторах и на сельхозтехнике. На автомобилях они пока не применяются из-за того, что еще не найдены пути ликвидации их главных недостатков: небольшой удельной мощности, большой амплитуды пульсации напряжения и значительного магнитного шума. Надежность же их заметно выше, чем у их предшественников, обладающих щетками.
Генератор легкового автомобиля. Назначение и принципы работы.
Автомобильный генератор нужен для того, чтобы преобразовывать механическую энергию в электрическую. Без него невозможна работа электро схемы автомобиля. Генератор обеспечивает нужным зарядом аккумулятор, без этого устройства АКБ будет разряжен меньше, чем за час. Находится это устройство поблизости к двигателю, и принцип работы заключается в приведении в движение благодаря коленчатому валу.
Принцип работы устройства
Содержание статьи
- Ротор – это вал, имеющий специальную обмотку возбуждения.
Он разделен на две половинки, каждая из них находится в противоположном полюсе. - Токосъемные кольца – элемент, который нужен для питания обмотки генератора. В движение устройство приводит ротор, который двигают специальные ремни.
- Статор должен иметь сердечник и обмотку. Это устройство подает переменный ток, который через кольца направляется по цепи дальше. Для перемещения заряда с рамки и направления его в нужное место применяют щеточный узел.
Схема генератора включает и такое устройство, как выпрямительный узел. Без него принцип получения постоянного тока станет невозможным, и схема работать не будет.
Внешне выпрямительный блок выглядит как пластины с диодами. Обычно их 6. В редких случаях схема может включать еще две пластины. Если используется такое подключение, то ток не поступает в аккумулятор, если мотор не заведен.
Мощность устройства возможно увеличить на 15%, если использовать дополнительные диоды и обмотку «звезда». Для того чтобы напряжение было одинаковым, используется регулятор.
Это устройство может менять продолжительность электрических импульсов и влиять на их частоту.
Принцип этого звена системы основан на работе исполнительных элементов и датчиков. Благодаря им регулятор понимает продолжительность возбуждения обмотки и необходимость включения ее в сеть. Если регулятор выйдет из строя, напряжение перестанет быть стабильным.
Большая часть важных конструктивно элементов находится в корпусе генератора, они имеют сравнительно небольшой размер и позволяют разместить элементы компактно. Корпус выполняют из сплава алюминия. Этот металл позволяет прибору не намагничиваться, а также эффективно рассеивает тепло, не позволяя генератору перегреться.
Характеристики, типы генераторов
Автомобильные генераторы делятся на различные типы, от которых зависят и характеристики устройства. Основная классификация – это разделение устройств на дающие постоянный или переменный ток. Генераторы постоянного тока применялись до 60-х годов повсеместно.
Сейчас их можно встретить в основном на грузовых автомобилях. Такой генератор отличается тем, что имеет неподвижные щитки, которые снимают напряжение с обмотки якоря. Схема предусматривает параллельную установку элементов.
Генераторы переменного тока появились в 1946 году. Принцип работы устройства был проиллюстрирован выше. Основным достоинством такого генератора является небольшая масса и уменьшенные габариты. Работа генератора стала более надежной, увеличился срок его жизни.
Такие типы генераторов имеют токосъемные кольца. Если в генераторе постоянного тока напряжение снимается при помощи двух полуколец, то генератор переменного тока отличает несколько иная схема. Здесь кольца полноценные, установлены на оба конца рамки. Они не определяют работу устройства полностью, но существенно изменяют ее принцип. Машине для стабильной работы необходима большая мощность генератора. Дать ее в большей степени способен генератор переменного тока.
Технические характеристики
От этих параметров зависит, подходит устройство автомобилю или нет.
Основная характеристика – это токоскоростная. Она зависит от того, сколько оборотов вращения ротора происходит при постоянном напряжении. Она же показывает, сколько ампер выдает генератор. Нормальное значение может колебаться от 55 до 120 ампер, в зависимости от того, какое напряжение требуется конкретной марке автомобиля. Если количество ампер низкое, это свидетельствует о поломке генератора. При покупке учитывают характеристики напряжения, трения, возбуждения.
Схема установки данного устройства такова
Схема установки
Как проверить, исправен ли прибор?
Иногда генератор выходит из строя. Это может произойти с любым устройством вне зависимости от его марки и режима эксплуатации. Чаще всего со временем стираются щеточки и требуют замены, могут требовать замены диоды, однако это не полный перечень возможный неприятностей. Иногда требуется более серьезный ремонт.
Из строя может выходить цепь. Обычно это происходит из-за ее обрыва или иных нарушений работы генератора, для проверки чего замеряют напряжение, выдаваемое прибором.
Если оно слишком маленькое, то он неисправен. Причиной неисправности могут быть графитовые щетки. Они находятся в регуляторе и мосте диодов. Если щетки стерлись, их нужно заменить. Этот процесс несложен и вполне под силу любому автомобилисту.
Следует тщательно проверять регулятор на исправность. Именно этот узел отвечает за зарядку аккумулятора и ее интенсивность. Регулятор реагирует на внешнюю температуру под капотом автомобиля. Благодаря термокомпенсации регулятор решает, сколько вольт необходимо аккумулятору для стабильной работы. Иногда автомобили оснащены регулятором ручного типа. Это значит, что вам самостоятельно придется переключать устройство с наступлением летнего или зимнего периода. Устройства этого типа хороши для использования в тех точках страны, где минусовая температура может достигать критических отметок.
Стоит обращать внимание на шумность работы генератора. Повышение громкости работы говорит о неисправности подшипниковых узлов, возможных дефектах в них.
Шум может вызывать отсутствие или малое количество смазки в подшипниках. При износе сепараторов отмечается повышенная шумность работы генератора. Влиять на это могут поврежденные дорожки качения, проворачивание колец, находящихся снаружи. Генератор может начать выть. В этом случае основные действия – это проверка всей системы в целом. Может произойти замыкание в статорной обмотке прибора, также из строя может выйти тяговое реле. Проверить следует и контакты: если они ненадежны, могут проявляться посторонние шумы. Такая проверка обычно не занимает много времени.
Исправный прибор имеет нормальное температурное значение, не превышающее 90 °С. При перегреве или поломке диодного моста необходимо проверить, сколько приборов подключено к устройству. Иногда на автомобиль вешают дополнительное оборудование, для чего мощности штатного генератора не хватает. Действия в этом случае достаточно предсказуемы: отключить оборудование либо заменить генератор на более мощный.
Заметить перегрев можно и визуально.
Фазная обмотка статора имеет изоляцию. При перегреве изоляция становится темного цвета, в отдельных случаях закипает. О перегреве может свидетельствовать и разряжение аккумулятора, отсутствие зарядки. Индикация оборудования в электросхеме может происходить неправильно. При высокой температуре генератора падает его способность давать хорошее напряжение, чего допускать нежелательно.
Уход за генератором для автомобиля
Устанавливая на автомобиль аккумулятор, в первую очередь необходимо проверить, правильно ли подключена полярность батареи. Если плюс и минус будут поменяны местами, то при запуске двигателя произойдет выход из строя выпрямителя генератора. Это может вызвать возгорание. Эта же проблема может произойти при прикуривании другого автомобиля от вашего аккумулятора.
Правильная эксплуатация устройства – залог его долгой службы. Пользуясь автомобилем, не забывайте проверять состояние электропроводки, чистоту контактов и соединений, особенно тех, которые идут к регулятору напряжения и генератору.
Можно использовать специальный спрей для очистки контактов, его продают в автомагазинах. Плохие контакты могут привести к тому, что напряжение окажется чересчур высоким, а это может сказаться плачевно на оборудовании автомобиля.
Если вы проводите сварку кузова автомобиля, то все электрические приборы необходимо отсоединить от генератора, рекомендуется снять аккумулятор. Надо контролировать напряжение ремня генератора. Если он плохо натянут, работа прибора будет неэффективна, напряжение будет слабым. Если ремень натянут чрезмерно, это приводит к быстрому разрушению подшипников.
При правильном уходе генератор прослужит больше положенного срока, не доставит никаких проблем в эксплуатации.
Техническая информация о стартере и генераторе. О ремонте стартера и ремонте генератора.
Генератор предназначен для обеспечения питанием электропотребителей, входящих в систему электрооборудования, и зарядки аккумулятора при работающем двигателе автомобиля.
Выходные параметры генератора должны быть таковы, чтобы в любых режимах движения автомобиля не происходил прогрессивный разряд аккумулятора. Кроме того, напряжение в бортовой сети автомобиля, питаемой генератором, должно быть стабильно в широком диапазоне частот вращения и нагрузок. Последнее требование вызвано тем, что аккумуляторная батарея весьма чувствительна к степени стабильности напряжения. Слишком низкое напряжение вызывает недозаряд батареи и, как следствие, затруднения с пуском двигателя, слишком высокое напряжение приводит к перезаряду батареи, и ее ускоренному выходу из строя. Не менее чувствительны к величине напряжения лампы освещения и сигнализация, акустическое оборудование.
Генератор – достаточно надежное устройство, способное выдержать повышенные вибрации двигателя, высокую подкапотную температуру, воздействие влажной среды, грязи и других факторов. Принцип работы электрогенератора и его принципиальное конструктивное устройство одинаковы у всех автомобильных генераторов, независимо от того, где они выпускаются.
Принцип действия генератора
В основе работы генератора лежит эффект электромагнитной индукции. Если катушку, например, из медного провода, пронизывает магнитный поток, то при его изменении на выводах катушки появляется переменное электрическое напряжение. И наоборот, для образования магнитного потока достаточно пропустить через катушку электрический ток. Таким образом, для получения переменного электрического тока требуются катушка, по которой протекает постоянный электрический ток, образуя магнитный поток, называемая обмоткой возбуждения и стальная полюсная система, назначение которой – подвести магнитный поток к катушкам, называемым обмоткой статора, в которых наводится переменное напряжение. Эти катушки помещены в пазы стальной конструкции, магнитопровода (пакета железа) статора. Обмотка статора с его магнитопроводом образует собственно статор генератора, его важнейшую неподвижную часть, в которой образуется электрический ток, а обмотка возбуждения с полюсной системой и некоторыми другими деталями (валом, контактными кольцами) ротор, его важнейшую вращающуюся часть.
Питание обмотки возбуждения может осуществляться от самого генератора. В этом случае генератор работает на самовозбуждении. При этом остаточный магнитный поток в генераторе, т.е. поток, который образуют стальные части магнитопровода при отсутствии тока в обмотке возбуждения, невелик и обеспечивает самовозбуждение генератора только на слишком высоких частотах вращения. Поэтому в схему генератора, там где обмотки возбуждения не соединены с аккумуляторной батареей, вводят такое внешнее соединение (обычно через контрольную лампу состояния генераторной установки). Ток, поступающий через эту лампу в обмотку возбуждения после включения выключателя зажигания и обеспечивает первоначальное возбуждение генератора. Сила этого тока не должна быть слишком большой, чтобы не разряжать аккумуляторную батарею, но и не слишком малой, т.к. в этом случае генератор возбуждается при слишком высоких частотах вращения, поэтому фирмы-изготовители оговаривают необходимую мощность контрольной лампы — обычно 2…
3 Вт.
При вращении ротора напротив катушек обмотки статора появляются попеременно «северный», и «южный» полюсы ротора, т.е. направление магнитного потока, пронизывающего катушку, меняется, что и вызывает появление в ней переменного напряжения.
За редким исключением генераторы зарубежных фирм, также как и отечественные, имеют шесть «южных» и шесть «северных» полюсов в магнитной системе ротора. В этом случае частота f в 10 раз меньше частоты вращения ротора генератора. Поскольку свое вращение ротор генератора получает от коленчатого вала двигателя, то по частоте переменного напряжения генератора можно измерять частоту вращения коленчатого вала двигателя. Для этого у генератора делается вывод обмотки статора, к которому и подключается тахометр. При этом напряжение на входе тахометра имеет пульсирующий характер, т.к. он оказывается включенным параллельно диоду силового выпрямителя генератора.
Обмотка статора генераторов зарубежных и отечественных фирм – трехфазная. Она состоит из трех 3 частей, называемых обмотками фаз или просто фазами, напряжение и токи в которых смещены друг относительно друга на треть периода, т.
е. на 120 электрических градусов. Фазы могут соединяться в «звезду» или «треугольник». При этом различают фазные и линейные напряжения и токи. Фазные напряжения действуют между концами обмоток фаз, а токи протекают в этих обмотках, линейные же напряжения действуют между проводами, соединяющими обмотку статора с выпрямителем. В этих проводах протекают линейные токи . Естественно, выпрямитель выпрямляет те величины, которые к нему подводятся, т. е. линейные. При соединении в «треугольник» фазные токи меньше линейных, в то время как у «звезды» линейные и фазные токи равны. Это значит, что при том же отдаваемом генератором токе, ток в обмотках фаз, при соединении в «треугольник», значительно меньше, чем у «звезды». Поэтому в генераторах большой мощности довольно часто применяют соединение в «треугольник», т.к. при меньших токах обмотки можно наматывать более тонким проводом, что технологичнее. Однако линейные напряжения у «звезды» больше фазного, в то время как у «треугольника» они равны и для получения такого же выходного напряжения, при тех же частотах вращения «треугольник» требует соответствующего увеличения числа витков его фаз по сравнению со «звездой».
Более тонкий провод можно применять и при соединении типа «звезда». В этом случае обмотку выполняют из двух параллельных обмоток, каждая из которых соединена в «звезду», т.е. получается «двойная звезда». Выпрямитель для трехфазной системы содержит шесть силовых полупроводниковых диодов, три из которых соединены с выводом «+» генератора, а другие три с выводом «—» («массой»). При необходимости форсирования мощности генератора применяется дополнительное плечо выпрямителя. Такая схема выпрямителя может иметь место только при соединении обмоток статора в «звезду», т. к. дополнительное плечо запитывается от «нулевой» точки «звезды».
У многих генераторов зарубежных фирм обмотка возбуждения подключается к собственному выпрямителю. Такое подключение обмотки возбуждения препятствует протеканию через нее тока разряда аккумуляторной батареи при неработающем двигателе автомобиля. Полупроводниковые диоды находятся в открытом состоянии и не оказывают существенного сопротивления прохождению тока при приложении к ним напряжения в прямом направлении и практически не пропускают ток при обратном напряжении.
Следует обратить внимание на то, что под термином «выпрямительный диод», не всегда скрывается привычная конструкция, имеющая корпус, выводы и т.д. Иногда это просто полупроводниковый кремниевый переход, герметизированный на теплоотводе
Применение в регуляторе напряжения электроники и особенно, микроэлектроники, т.е. применение полевых транзисторов или выполнение всей схемы регулятора напряжения на монокристалле кремния, потребовало введения в генератор элементов ее защиты от скачков высокого напряжения, возникающих, например, при внезапном отключении аккумуляторной батареи, сбросе нагрузки. Такая защита обеспечивается тем, что диоды силового моста заменены стабилитронами. Отличие стабилитрона от выпрямительного диода состоит в том, что при воздействии на него напряжения в обратном направлении, он не пропускает ток лишь до определенной величины этого напряжения (напряжением стабилизации).
Обычно в силовых стабилитронах напряжение стабилизации составляет 25… 30 В. При достижении этого напряжения стабилитроны «пробиваются «, т.
е. начинают пропускать ток в обратном направлении, причем в определенных пределах изменения силы этого тока напряжение на стабилитроне, а, следовательно, и на выводе «+» генератора остается неизменным, не достигающем опасных для электронных узлов значений. Свойство стабилитрона поддерживать на своих выводах постоянство напряжения после «пробоя» используется и в регуляторах напряжения.
Принцип действия регулятора напряжения (реле регулятора)
В настоящее время все генераторы оснащаются полупроводниковыми электронными регуляторами напряжения, как правило, встроенными внутрь генератора. Схемы их исполнения и конструктивное оформление могут быть различны, но принцип работы у всех регуляторов одинаков. Напряжение генератора без регулятора зависит от частоты вращения его ротора, магнитного потока, создаваемого обмоткой возбуждения, а, следовательно, от силы тока в этой обмотке и величины тока, отдаваемого генератором потребителям. Чем больше частота вращения и сила тока возбуждения, тем больше напряжение генератора, чем больше сила тока его нагрузки – тем меньше это напряжение.
Функцией регулятора напряжения является стабилизация напряжения при изменении частоты вращения и нагрузки за счет воздействия на ток возбуждения. Конечно, можно изменять ток в цепи возбуждения введением в эту цепь дополнительного резистора, как это делалось в прежних вибрационных регуляторах напряжения, но этот способ связан с потерей мощности в этом резисторе и в электронных регуляторах не применяется. Электронные регуляторы изменяют ток возбуждения путем включения и отключения обмотки возбуждения от питающей сети, при этом меняется относительная продолжительность времени включения обмотки возбуждения.
Если для стабилизации напряжения требуется уменьшить силу тока возбуждения, время включения обмотки возбуждения уменьшается, если нужно увеличить – увеличивается.
Конструктивное исполнение генераторов
По своему конструктивному исполнению генераторные установки можно разделить на две группы – генераторы традиционной конструкции с вентилятором у приводного шкива и генераторы так называемой «компактной» конструкции с двумя вентиляторами во внутренней полости генератора.
Обычно «компактные» генераторы оснащаются приводом с повышенным передаточным отношением через поликлиновый ремень и поэтому, по принятой у некоторых фирм терминологии, называются высокоскоростными генераторами. При этом внутри этих групп можно выделить генераторы, у которых щеточный узел расположен во внутренней полости генератора между полюсной системой ротора и задней крышкой (Mitsubishi, Hitachi), и генераторы, где контактные кольца и щетки расположены вне внутренней полости (Bosch, Valeo). В этом случае генератор имеет кожух, под которым располагается щеточный узел, выпрямитель и, как правило, регулятор напряжения.
Любой генератор содержит статор с обмоткой, зажатый между двумя крышками –передней, со стороны привода, и задней, со стороны контактных колец. Крышки, отлитые из алюминиевых сплавов, имеют вентиляционные окна, через которые воздух продувается вентилятором сквозь генератор.
Генераторы традиционной конструкции снабжены вентиляционными окнами только в торцевой части, генераторы «компактной» конструкции еще и на цилиндрической части – над лобовыми сторонами обмотки статора.
«Компактную» конструкцию отличает также сильно развитое оребрение, особенно в цилиндрической части крышек. На крышке со стороны контактных колец крепятся щеточный узел, который часто объединен с регулятором напряжения, и выпрямительный узел. Крышки обычно стянуты между собой тремя или четырьмя винтами, причем статор оказывается зажат между крышками, посадочные поверхности которых охватывают статор по наружной поверхности. Иногда статор полностью утоплен в передней крышке и не упирается в заднюю крышку (Denso). Существуют конструкции, у которых средние листы пакета статора выступают над остальными, и они являются посадочным местом для крышек. Крепежные лапы и натяжное ухо генератора отливаются заодно с крышками, причем, если крепление двухлапное, то лапы имеют обе крышки, если однолапное — только передняя. Впрочем, встречаются конструкции, у которых однолапное крепление осуществляется стыковкой приливов задней и передней крышек, а также двухлапные крепления, при котором одна из лап, выполненная штамповкой из стали, привертывается к задней крышке, как, например, у некоторых генераторов фирмы Paris-Rhone прежних выпусков.
При двухлапном креплении в отверстии задней лапы обычно располагается дистанционная втулка, позволяющая при установке генератора выбирать зазор между кронштейном двигателя и посадочным местом лап. Отверстие в натяжном ухе может быть одно с резьбой или без, но встречается и несколько отверстий, чем достигается возможность установки этого генератора на разные марки двигателей. Для этой же цели применяют два натяжных уха на одном генераторе.
Особенностью автомобильных генераторов является вид полюсной системы ротора. Она содержит две полюсные половины с выступами – полюсами клювообразной формы по шесть на каждой половине. Полюсные половины выполняются штамповкой и могут иметь выступы — полувтулки. В случае отсутствия выступов при напрессовке на вал между полюсными половинами устанавливается втулка с обмоткой возбуждения, намотанной на каркас, при этом намотка осуществляется после установки втулки внутрь каркаса. Обмотка возбуждения в сборе с ротором пропитывается лаком. Клювы полюсов по краям обычно имеют скосы с одной или двух сторон для уменьшения магнитного шума генераторов.
В некоторых конструкциях для той же цели под острыми конусами клювов размещается антишумовое немагнитное кольцо, расположенное над обмоткой возбуждения. Это кольцо предотвращает возможность колебания клювов при изменении магнитного потока и, следовательно, излучения ими магнитного шума. После сборки производится динамическая балансировка ротора, которая осуществляется высверливанием излишка материала у полюсных половин. На валу ротора располагаются также контактные кольца, выполняемые чаще всего из меди, с опрессовкой их пластмассой. К кольцам припаиваются или привариваются выводы обмотки возбуждения. Иногда кольца выполняются из латуни или нержавеющей стали, что снижает их износ и окисление, особенно при работе во влажной среде. Диаметр колец при расположении щеточно-контактного узла вне внутренней полости генератора не может превышать внутренний диаметр подшипника, устанавливаемого в крышку со стороны контактных колец, т.к. при сборке подшипник проходит над кольцами. Малый диаметр колец способствует кроме того уменьшению износа щеток.
Именно по условиям монтажа некоторые фирмы применяют в качестве задней опоры ротора роликовые подшипники, т.к. шариковые того же диаметра имеют меньший ресурс.
Валы роторов выполняются, как правило, из мягкой автоматной стали, однако, при применении роликового подшипника, ролики которого работают непосредственно по концу вала со стороны контактных колец, вал выполняется из легированной стали, а цапфа вала цементируется и закаливается. На конце вала, снабженном резьбой, прорезается паз под шпонку для крепления шкива. Однако, во многих современных конструкциях шпонка отсутствует. В этом случае торцевая часть вала имеет углубление или выступ под ключ в виде шестигранника. Это позволяет удерживать вал от проворота при затяжке гайки крепления шкива, или при разборке, когда необходимо снять шкив и вентилятор.
Щеточный узел – это пластмассовая конструкция, в которой размещаются щетки т.е. скользящие контакты.
В автомобильных генераторах применяются щетки двух типов – меднографитные и электрографитные.
Последние имеют повышенное падение напряжения в контакте с кольцом по сравнению с меднографитными, что неблагоприятно сказывается на выходных характеристиках генератора, однако они обеспечивают значительно меньший износ контактных колец. Щетки прижимаются к кольцам усилием пружин. Обычно щетки устанавливаются по радиусу контактных колец, но встречаются и так называемые реактивные щеткодержатели, где ось щеток образует угол с радиусом кольца в месте контакта щетки. Это уменьшает трение щетки в направляющих щеткодержателя, и тем обеспечивается более надежный контакт щетки с кольцом. Часто щеткодержатель и регулятор напряжения образуют неразборный единый узел.
Выпрямительные узлы применяются двух типов – либо это пластины-теплоотводы, в которые запрессовываются (или припаиваются) диоды силового выпрямителя или на которых распаиваются и герметизируются кремниевые переходы этих диодов, либо это конструкции с сильно развитым оребрением, в которых диоды, обычно таблеточного типа, припаиваются к теплоотводам.
Диоды дополнительного выпрямителя имеют обычно пластмассовый корпус цилиндрической формы, либо в виде горошины или выполняются в виде отдельного герметизированного блока, включение в схему которого осуществляется шинками. Включение выпрямительных блоков в схему генератора осуществляется распайкой или сваркой выводов фаз на специальных монтажных площадках выпрямителя или винтами. Наиболее опасным для генератора и особенно для проводки автомобильной бортовой сети является перемыкание пластин-теплоотводов, соединенных с «массой» и выводом «+» генератора, случайно попавшими между ними металлическими предметами или проводящими мостиками, образованными загрязнением, т.к. при этом происходит короткое замыкание по цепи аккумуляторной батареи, что может привести к возгоранию. Во избежание этого пластины и другие части выпрямителя генераторов некоторых фирм частично или полностью покрывают изоляционным слоем. В монолитную конструкцию выпрямительного блока теплоотводы объединяются в основном монтажными платами из изоляционного материала, армированными соединительными шинками.
Подшипниковые узлы генераторов это, как правило, радиальные шариковые подшипники с одноразовой закладкой пластичной смазки на весь срок службы и одно или двухсторонними уплотнениями, встроенными в подшипник. Роликовые подшипники применяются только со стороны контактных колец и достаточно редко, в основном, американскими фирмами (Delco Remy, Motorcraft). Посадка шариковых подшипников на вал со стороны контактных колец обычно плотная, со стороны привода — скользящая, в посадочное место крышки наоборот — со стороны контактных колеи — скользящая, со стороны привода — плотная. Так как наружная обойма подшипника со стороны контактных колец имеет возможность проворачиваться в посадочном месте крышки, то подшипник и крышка могут вскоре выйти из строя, возникнет задевание ротора за статор. Для предотвращения проворачивания подшипника в посадочное место крышки помещают различные устройства — резиновые кольца, пластмассовые проставки, гофрированные стальные пружины и т.п. Конструкцию регуляторов напряжения в значительной мере определяет технология их изготовления.
При изготовлении схемы на дискретных элементах, регулятор обычно имеет печатную плату, на которой располагаются эти элементы. При этом некоторые элементы, например, настроечные резисторы могут выполняться по толстопленочной технологии. Гибридная технология предполагает, что резисторы выполняются на керамической пластине и соединяются с полупроводниковыми элементами – диодами, стабилитронами, транзисторами, которые в бескорпусном или корпусном исполнении распаиваются на металлической подложке. В регуляторе, выполненном на монокристалле кремния, вся схема регулятора размещена в этом кристалле.
Охлаждение генератора осуществляется одним или двумя вентиляторами, закрепленными на его валу. При этом у традиционной конструкции генераторов (воздух засасывается центробежным вентилятором в крышку со стороны контактных колец.
У генераторов, имеющих щеточный узел, регулятор напряжения и выпрямитель вне внутренней полости и защищенных кожухом, воздух засасывается через прорези этого кожуха, направляющие воздух в наиболее нагретые места — к выпрямителю и регулятору напряжения.
На автомобилях с плотной компоновкой подкапотного пространства, в котором температура воздуха слишком велика, применяют генераторы со специальным кожухом закрепленным на задней крышке и снабженным патрубком со шлангом, через который в генератор поступает холодный и чистый забортный воздух. Такие конструкции применяются, например, на автомобилях BMW. У генераторов «компактной» конструкции охлаждающий воздух забирается со стороны как задней, так и передней крышек.
Генераторы большой мощности, устанавливаемые на спецавтомобили, грузовики и автобусы имеют некоторые отличия. В частности, в них встречаются две полюсные системы ротора, насаженные на один вал и, следовательно, две обмотки возбуждения, 72 паза на статоре и т. п. Однако принципиальных отличий в конструктивном исполнении этих генераторов от рассмотренных конструкций нет.
Привод генераторов и крепление их на двигателе
Привод генераторов всех типов автомобилей осуществляется от коленчатого вала ременной или зубчатой передачей.
При этом возможны два варианта — клиновым или поликлиновым ремнем. Приводной шкив генератора выполняется с одним или двумя ручьями для клинового ремня и с профилированной рабочей дорожкой для поликлинового. Вентилятор, выполненный, как правило, штамповкой из листовой стали, в традиционной конструкции генератора крепится на валу рядом со шкивом. Шкив может выполняться сборным из двух штампованных дисков, литым из чугуна или стали, а также полученным методом штамповки или точеным из стали.
Качество обеспечения питанием потребителей электроэнергии, в том числе зарядка аккумуляторной батареи, зависит от передаточного числа ременной передачи, равного отношению диаметров ручьев приводного шкива генератора к шкиву коленчатого вала. Для повышения качества питания электропотребителей это число должно быть как можно больше, т.к. при этом частота вращения генератора повышается, и он способен отдать потребителям больший ток. Однако при слишком больших передаточных числах происходит ускоренный износ приводного ремня, поэтому передаточные числа передачи двигатель-генератор для клиновых ремней лежат в пределах 1,8.
..2,5, для поликлиновых до 3. Более высокое передаточное число возможно потому, что поликлиновые ремни допускают применение на генераторах приводных шкивов малых диаметров и меньший угол охвата шкива ремнем. Наилучшей конструкцией для генератора является индивидуальный привод. При таком приводе подшипники генератора оказываются менее нагруженными, чем в «коллективном» приводе, при котором обычно генератор приводится во вращение одним ремнем с другими агрегатами, чаще всего водяным насосом, и где шкив генератора служит натяжным роликом. Поликлиновым ремнем обычно приводится во вращение сразу несколько агрегатов. Например, на автомобилях Mercedes один поликлиновой ремень приводит во вращение одновременно генератор, водяной насос, насос гидроусилителя руля, гидромуфту вентилятора и компрессор кондиционера. В этом случае натяжение ремня осуществляется и регулируется одним или несколькими натяжными роликами при фиксированном положении генератора. Крепление генераторов на двигателе выполнено на одной или двух крепежных лапах, сочленяемых с кронштейном двигателя.
Натяжение ремня производится поворотом генератора на кронштейне, при этом натяжная планка, соединяющая двигатель с натяжным ухом, может быть выполнена в виде винта, по которому перемещается резьбовая муфта, сочленяемая с ухом.
Встречаются конструкции, у которых прорезь в натяжной планке имеет зубчатую нарезку, по которой перемещается натяжное устройство, соединенное с натяжным ухом. Такие конструкции позволяют обеспечивать натяжение ремня очень точно и надежно.
К сожалению, на данный момент не существует международных нормативных документов, определяющих габаритные и присоединительные размеры генераторов легковых автомобилей, поэтому генераторы различных фирм существенно отличаются друг от друга, разумеется, кроме изделий, специально предназначенных в качестве запчастей для замены генераторов других фирм.
Бесщеточные генераторы
Бесщеточные генераторы применяются там, где возникают требования повышенной надежности и долговечности, главным образом на магистральных тягачах, междугородных автобусах и т.
п. Повышенная надежность этих генераторов обеспечивается тем, что у них отсутствует щеточно-контактный узел, подверженный износу и загрязнению, а обмотка возбуждения неподвижна. Недостатком генераторов этого типа являются увеличенные габариты и масса. Бесщеточные генераторы выполняются с максимальным использованием конструктивной преемственности со щеточными. На выпуске генераторов такого типа специализируется американская фирма Delco-Remy, являющаяся отделением General Motors. Отличие этой конструкции состоит в том, что одна клювообразная полюсная половина посажена на вал, как у обычного щеточного генератора, а другая в урезанном виде приваривается к ней по клювам немагнитным материалом.
Устройство и принцип работы автомобильного генератора постоянного тока в составе велогенератора
Это завершающая статья о том, как из велосипеда и генератора от автомобиля сделать мощный электрический генератор своими руками. Предыдущая часть содержит инструкцию по эксплуатации велогенератора.
Технически грамотные могут прочитать дальше как работает автомобильный генератор постоянного тока.
Автомобильный генератор не совсем отвечает своему названию, так как устройство автомобильного генератора уже подразумевает наличие своего собственного выпрямителя и регулирующей схемы. Добавив только лампочку и выключатель, можно сделать самую простую заряжающую систему. Собственно генерирующая часть генератора с помощью неподвижной обмотки (называется статором) вырабатывает трёхфазный переменный ток, который далее выпрямляется серией из шести больших диодов и уже постоянный ток заряжает аккумулятор. Переменный ток индуцируется вращающимся магнитным полем обмотки (вокруг обмотки возбуждения или ротора). Далее ток через щётки и кольца скольжения подаётся на электронную схему.
Принцип работы автомобильного генератора постоянного тока вкратце можно объяснить так. Через обмотку возбуждения начинает течь небольшой постоянный ток, который регулируется управляющим блоком и поддерживается им на уровне чуть больше 14 В.
Большинство генераторов в автомобиле способны вырабатывать как минимум 45 ампер. Генератор работает на 3000 оборотах в минуту и выше — если посмотреть на соотношение размеров ремней вентиляторов для шкивов, то оно по отношению к частоте двигателя составит два или три к одному.
Во время первого запуска велогенератора мощность не сможет вернуться в обмотку возбуждения и генерация не запустится, пока не потечёт ток через индикаторную лампу заряда, которая выполняет гораздо больше функций, чем кажется. Протекающий через индикаторную лампочку ток проходит также и через обмотку возбуждения, обеспечивая ей небольшой ток, необходимый для запуска производства электроэнергии. С ростом оборотов ток усиливается, и через три маленьких диода мощность подаётся на обмотку возбуждения — индикаторная лампочка гаснет, тем самым сигнализируя о начале производства электричества. Изменяя параметры индикаторной лампочки, можно контролировать обороты генератора, необходимые для его включения. При первом же запуске генератора железный сердечник обмотки возбуждения постоянно намагничивается.
При высокой частоте вращения этого магнетизма может оказаться достаточно для начала генерации и в случае отсутствия аккумулятора выходное напряжение может мгновенно достигнуть сотен вольт. Поэтому никогда не нужно крутить генератор с отключенным аккумулятором. Также предупредите об этой особенности окружающих.
Для механической защиты педального генератора идеально подойдёт старый пожарный кожух, который можно купить на рынке или найти на доске бесплатных объявлений.
Чтобы велогенератор ни за что не зацепился при его перевозке в автомобиле — сначала открутите педали, нанеся немного медной смазки на резьбу.
Вместо ненадёжного регулятора высоты седла на вертикальном генераторе можно просверлить 8-милиметровое отверстие через верхнюю трубу рамы и серию таких же отверстий в подседельном штыре. Тогда для регулировки высоты седла можно использовать ось, сделанную из бесрезьбовой части длинного болта M8.
Автомобильный генератор: устройство, принцип работы, диагностика
Одним из видов навесного оборудования считается автомобильный генератор.
Его главные функции — преобразование в электрический ток механической энергии от двигателя, а также стабилизация напряжения в сети. Главное назначение узла генератора — поддержание беспрерывного питания электрооборудования авто от работающего двигателя. Также узел используется для подзарядки АКБ машины. Основные узлы, принцип работы автомобильного генератора и возможные поломки рассмотрены в приведенной информации.
Виды генераторов
Для разных моделей автомобилей используются один из двух типов этого механизма.
Основные типы:
- Генератор постоянного тока, применяющийся ранее на таких моделях как Победа, ГАЗ-51 и других авто, которые были выпущены еще до 1960 года.
- Генератор переменного тока востребован на современных марках авто, отличается более продуманным и удобным устройством.
Главная функция генератора — трансформация и передача электрического тока при заведенном двигателе. Электроснабжение требуется многим узлам современных авто, часть энергии идет на подзарядку АКБ.
Устройство и назначение
Генератор для переменного тока выполняет свою основную функцию только за счет передачи механической энергии от вращения вала мотора на ротор. Появившееся вследствие вращения ротора магнитное поле преобразуется в электрический ток на обмотке стартера, после чего распределяется по основным потребителям бортовой сети. Это позволяет использовать мощность АКБ только на старте, после чего заряд батареи постепенно восстанавливается. Без этого важного устройства, разрядка аккумулятора происходила бы с большой скоростью, а напряжение в сети было бы недостаточным для работы всех энергоемких узлов и потребителей.
Устройство автомобильного генератора включает следующие узлы:
- Статор, в комплект которого входит обмотка, магнитопровод, выводы обмотки, клиновые пазы.
- Ротор, состоящий из контактных колец, вала, обмотки возбуждения, полюса.
- Подшипники.
- Крышка генератора, в которой есть отверстия для охлаждения системы.

- Система охлаждения, состоящая из одного или двух вентиляторов.
- Щеточный узел.
- Задняя и передняя крышка с крепежными пазами.
- Регулятор напряжения.
- Привод со шкивом, расположенный со стороны передней крышки.
- Блок выпрямителя (другое название — диодный мост).
Расположен узел обычно в передней части двигателя, крепление с которым происходит при помощи ременной передачи. Для этого механизма губительным является попадание влаги и грязи на корпус, поэтому генератор обычно размещен в самой высокой точке относительно двигателя авто. На разных марках машин используются генераторы различной мощности. Принципиальным различием также являются габариты устройства. В зависимости от этого используется стандартная или компактная комплектация. Главным отличием выступают размеры диодного моста, приводного шкива и вентилятора.
Принцип работы генератора
Описать примерный алгоритм работы генератора довольно просто.
Для этого достаточно представить схему основных узлов авто, а также вспомнить основные постулаты электромагнитной индукции из школьного курса физики.
Как работает генератор авто:
- Движения вала двигателя передаются на ротор посредством ременной передачи.
- Образующееся в процессе движения магнитное поле проходит через медную обмотку, образуя на ее выводах напряжение переменного тока.
- На выходе расположен выпрямительный блок, который преобразует переменный ток в постоянный, что обеспечивает постоянную подзарядку аккумулятора.
- Регулятор напряжения необходим для поддержания заданных параметров системы, сглаживает возможные скачки и частоту магнитных импульсов.
Для работы всех узлов, подключенных к системе электроснабжения, требуется номинальная мощность автомобильного генератора в пределах 1 кВт. Этого достаточно, чтобы снабжать энергией систему зажигания, бортовой компьютер, осветительные приборы, диагностическое оборудование.![]()
Диагностика и возможные неисправности в работе генератора
Определить поломку генератора для начинающего автолюбителя довольно сложно. Для этого необходимо знать не только принцип работы самого устройства, но и «симптомы» его неполадок.
Как проверить автомобильный генератор:
- Внешний осмотр корпуса, натяжение и целостность ремней, проводов, беспрепятственный ход вращения ротора.
- Осмотреть щетки, при необходимости — заменить изношенные или поврежденные детали.
- Осмотреть контактные кольца. Часто при невозможности найти подходящую запчасть приходится полностью заменять ротор генератора.
- Признаком износа подшипников является свист и гул при работе двигателя. Выполняя замену, обязательной чистке подвергаются посадочные места.
- При помощи мультиметра замерить значения сопротивления на обмотке возбуждения, для чего необходимо коснуться обоих контактных колец ротора. Нормальные показатели варьируются в пределах от 1,8 до 5 Ом.
Низкий результат — признак короткого замыкания в сети. Высокое значение обычно говорит об обрыве цепи обмотки. - По сильному окислению контактов можно судить о выходе из строя диодного моста.
Устранить неисправности генератора своими силами можно только при достаточном уровне знаний устройства авто и наличии подходящего инструмента. В противном случае, лучше обратиться за квалифицированной помощью в СТО, ведь от нормальной работы генератора во многом зависит и дальнейший срок службы авто.
Работа генератора в авто обеспечивает непрерывное питание электрической сети, подключение всех потребителей и периодическую подзарядку аккумулятора. В случае возможных неисправностей, напряжение в сети падает, а АКБ быстрей выходит из строя. В нашей статье рассмотрен принцип работы генератора, составляющие и возможные неисправности.
Как работает генератор автомобиля: устройство и схема
Многие водители не знают, как работает генератор автомобиля и это явная проблема, как для них, так и для их транспорта.
А ведь все довольно просто и если проявить желание, выделить необходимое количество времени, чтобы узнать свой автомобиль получше, а также понять принципы работы его механизмов, вы сможете самостоятельно отремонтировать генератор
Содержание статьи
Устройство
Устройство генератора автомобиля состоит из большого количества элементов, взаимодействующих между собой. Я считаю, что каждый автолюбитель, уважающий свою машину, должен знать все о принципах ее работы. Шкив выступает посредником в процессе передачи механической энергии к валу генератора от двигателя с помощью ремня. Корпус включает в себя две крышки – передняя, которая находится на стороне шкива, и задняя, размещенная со стороны нахождения контактных колец. Их назначение – скреплять статор, также устанавливать генератор на поверхности двигателя и размещать подшипники самого ротора. На задней крышке можно увидеть щеточный узел, регулятор напряжения, выпрямитель и внешние выводы для присоединения системы электрооборудования.
Ротор представляет собой вал из стали, на котором размещены две втулки клювообразной формой. Между ними есть обмотка, из которой выводы соединяются прямо с контактными кольцами. Оборудование этой группы деталей, в основном, составляют кольца из меди цилиндрической формы.
В пазах статора размещена обмотка трехфазного типа, в которой и вырабатывается мощность данного генератора. Деталь, именуемая сборкой с диодами, в себе объединяет сразу 6 очень мощных диодов, которые по три запрессованы в теплоотводах. Регулятор напряжения представляет собой устройство, которое поддерживает напряжение в прежде заданных пределах во время изменения нагрузок. Щеточный узел представляет собой съемную конструкцию из пластмассы, в которой есть специальные подпружиненные щетки, которые контактируют с роторными кольцами.
Крепление генератора
Привод генератора осуществляется временной передачей от шкива коленчатого вала. С ростом его диаметра на валу и по мере уменьшения диаметра того же шкива повышаются обороты генератора.
Это значит, что потребитель сможет получить более сильный ток.
На всех новых авто привод осуществляется при помощи поликлинового ремня. Он обладает особой гибкостью и разрешает установить шкив небольшого диаметра на самом генераторе. Это дает куда высшие передаточные отношения, чтобы использовать генераторы высокооборотного типа. Это производится с помощью натяжных роликов при наличии этой детали неподвижного типа.
Генераторы крепят при помощи болтов, размещенных в передней части автомобильного двигателя. Используются при этом кронштейны. На крышках есть натяжная пружина, а также крепежные лапы. Если же они размещены при помощь двух лап, они будут располагаться сразу на двух крышках, но если лапа будет одна – она будет размещена только на передней.
Как работает?
Во время пуска двигателя стартер будет основным потребителем энергии.
Работа сопровождается сотнями А силы тока, это провоцирует понижение напряжения во всем аккумуляторе. Подобный режим предусматривает потребление электроэнергии лишь при помощи аккумулятора, который в это время интенсивно поддается разряжению.
После пуска двигателя в качестве основного источника энергии выступает генератор. Он – источник подзарядки аккумулятора, пока продолжается работа двигателя.
Если он не будет работать, тогда аккумулятор слишком быстро разрядиться и я настоятельно советую не забывать об этом. Генератор автомобиля помогает обеспечивать нужную для заряда аккумулятора силу тока, а также ток для задействования электроприборов. После разрядки аккумулятора зарядный ток понижается. Но генератор все еще будет источником электропитания, сам же аккумулятор просто сглаживает разные пульсации в напряжении.
Если будут включены приборы, потребляющие много энергии, вроде обогревателя фар, а показатель частоты роторного вращения будет небольшой, общий ток потребления может превысить тот, на который рассчитан генератор. При таком раскладе нагрузка сместится на аккумулятор, вследствие чего он начнет разряжаться. Как можно убедиться, принцип работы генератора довольно простой.
Назначение регулятора напряжения
После изучения устройства генератора, у многих возникает вопрос о роли регулятора напряжения, который когда-то возник и у меня.
В основном, его задача заключается в поддержке напряжения в неких пределах, чтобы обеспечить оптимальный режим работы электроприборов, которые входят в бортовую сеть. Каждый регулятор обладает элементами измерения, которые, по сути, исполняют роль датчиков. Кроме того, есть исполнительные элементы, которые исполнят функцию регулирования.
Изготовленные по современным технологиям генераторы, которыми сегодня оснащается любой автомобиль, оснащены электронными полупроводниковыми регуляторами, которые обычно встраивают внутрь. Существует разнообразие оформления и схем, но у всех аналогичный принцип работы.
Регуляторы напряжения склонны к термокомпенсации, которая изменяет уровень подводимого к аккумулятору напряжения для оптимального уровня заряда АКБ в зависимости от температуры воздуха под капотом. С ее понижением повышается напряжение, а с повышением – напряжение падает. Некоторые из регуляторов оснащены ручными переключателями режимов к «зиме» или «лету».
Иными словами, регулятор исполняет такую важную функцию, как стабилизация уровня напряжения в процессе изменения уровня нагрузки и частоты вращения с помощью корректировки тока возбуждения.
При отсутствии регулятора напряжение самого генератора зависит от уровня частоты вращения ротора, от магнитного потока, который создается по причине обмотки возбуждения. Также это зависит и от величин и силы тока в данной обмотке, которые отдаются потребителям. С увеличением частоты вращения совместно с силой тока, происходит рост напряжения.
Электронные регуляторы измеряют ток возбуждения при помощи включения от сети его обмотки, которая питается электричеством, при чем изменяется продолжительность времени, за которое включается обмотка возбуждения. Если для проведения стабилизации всего напряжения потребуется понизить силу тока того самого возбуждения, уменьшается общее время обмотки возбуждения. Ну а если нужно будет увеличить, то я советую его увеличить.
Видео “Принцип работы генератора автомобиля”
На записи показано по какому принципу работают автомобильные генераторы переменного тока.
принцип работы, устройство, схема подключения, назначение
Для питания бортовой сети транспортного средства предусмотрено два источника тока. И водителю очень важно разбираться в принципах работы автомобильного генератора, наряду с аккумуляторной батареей, предназначенном для энергией электрооборудования машины.
К надёжности и стабильности устройств такого рода предъявляются жесткие требования.
В Российской Федерации производимое и используемое электрооборудование должно соответствовать ГОСТ Р 52230-2004.
Документ устанавливает общие технические условия, которые распространяются на стартерные аккумуляторы автомобилей. Упомянутый национальный стандарт полностью соответствует международным нормативам, что позволяет использовать на отечественных машинах компоненты иностранного производства.
На заре автомобилестроения и вплоть до 60-х годов прошлого века в бортовых сетях использовались генераторы постоянного тока — капризные и маломощные. С появлением полупроводниковых (селеновых и кремниевых) выпрямителей на машины стали ставить агрегаты переменного тока.Они втрое меньше по массе и при той же нагрузке обеспечивают более высокую стабильность выходного тока.
Для чего в автомобиле нужен генератор?
Генератор используется для поддержания в бортовой сети параметров напряжения и тока. Основное назначение генератора автомобиля в структуре питания электрооборудования при работающем двигателе — в частности, для:
- Заряда аккумулятора.
- Питания всех потребителей электрического тока в нормальных условиях.

- Питания потребителей других с АКБ при экстремальной эксплуатации.
Применение автомобильного аккумулятора позволяет восстанавливать заряд, который расходуется на запуск двигателя при помощи стартера. При этом напряжение в бортовой сети пребывает в строго определенных пределах, превышающих электрохимический потенциал пластин батареи.
Разобравшись в вопросе, для чего нужен генератор в автомобиле, необходимо понять, что в случае отказа агрегата двигатель проработает еще какое-то время за счет аккумулятора.Продлить этот период можно, отключив все второстепенные пользователи: вентилятор отопителя, кондиционер, аудиосистему. По исчерпании заряда батареи двигатель заглохнет.
Устройство и конструкция автомобильного генератора
Трехфазные электроагрегаты переменного тока, устанавливаемые на современные машиных, могут быть 2-х видов: стандартный и компактный. Общее устройство автомобильных генераторов 2-х видов одинаково — они состоят из следующих элементов:
- Шкива с валом и подшипниками.

- Ротора с контактными кольцами.
- Обмоток статора.
- Корпуса генератора.
- Регулятора напряжения.
- Выпрямительного устройства.
- Щеточного узла.
Конструкции автомобильных генераторов различаются только особенностями компоновки. При одинаковых электрических параметрах стандартные агрегаты значительно крупнее малоразмерных. Компактность обеспечивается за счет использования современных материалов и технологий.
Вот из чего состоит электрогенератор и какие функции его компонентов:
- Шкив передачи вращения от коленвала на ротор с помощью ремня.
- Корпус генератора имеет две крышки (переднюю, заднюю) и нужен для соединения элементов в единую конструкцию. На наружной поверхности размещены кронштейны, с помощью которых устройство крепится на двигателе.
- Ротор представляет собой вал, на котором установлены обмотки возбуждения и контактные кольца из электротехнической меди.

- Статор включает в себя магнитопровод из пакета стальных пластин, в которых вырезаны фигурные пазы. В них уложены трехфазные обмотки из одножильного медного провода, где и генерируется ток.
- Регулятор напряжения изготавливается в виде отдельного блока или комбинируется со щеточным узлом. Основное назначение — управление работой генератора путем изменения тока в обмотке возбуждения.
- Выпрямительное устройство по схеме состоит из двух частей: алюминиевых теплоотводов, в каждом из которых запрессовано по три силовых диода.Вентили регулирующего преобразователя напряжения в постоянном, что используется в бортовой сети для питания электрооборудования.
- Передача напряжения на обмотку возбуждения создается через специальный узел и цилиндрические контактные кольца. Щетки производятся из специальных сортов графита и устанавливаются в держателе с направляющими, изготовленными из диэлектриков. Для обеспечения плотного контакта они подпружинены, напряжение на них по проводу, запрессованному в основание.

Разбираясь с помощью генератора современного автомобиля, следует в нем механическую и электрическую часть. Первая (к которой крепится шкив и два подшипника ротора) обеспечивает его вращение в корпусе. Вторая часть собственно генерирует электрический ток для запитывания бортовой сети. Описываемая схема автомобильного генератора впервые была применена в изделиях американской «Невиль» в 1946 году. Такими устройствами комплектовались военные машины и автобусы.
Основные параметры генератора
Основные параметры индикатора из технических средств к конфигурации модели транспортных средств:
- Напряжение. В соответствии с ГОСТ 52230-2004 выбирается из диапазона от 7,14 и до 28 В.
- Ток отдачи.
- Частота возбуждения и самовозбуждения.
Токостная характеристика зависимости номинального тока генератора от частоты его вращения.Напряжение в бортовой сети легковых и коммерческих автомобилей, а также автобусов составляет 12 В, особо мощных и специальных машин — 24 В.
Максимальный ток отдачи определяется при частоте ротора в 6 000 мин-1.
Еще одна важнейшая характеристика данного агрегата — КПД. Для современных моделей этот показатель находится на уровне 50-60%.
Как работает автомобильный генератор?
Устройство начинает функционировать только после запуска двигателя стартером, который запитывается напрямую от аккумуляторной батареи.Ключевой принцип работы генератора автомобиля состоит в преобразовании механической энергии в электрическую. На коленчатом валу силового агрегата установлен шкив, который раскручивает через ременную передачу установленный на необслуживаемых подшипниках ротор.
Питание обмотки возбуждения, расположенного на вращающемся якоре, осуществляется через щеточный узел и контактные кольца. Для защиты батареи от саморазряда подключение происходит через специальный выпрямитель, состоящий из трех диодов.Величина напряжения в этой цепи регулируется электронным или электромеханическим стабилизатором, интегрированным или выполненным в виде отдельного устройства.
Вращающийся якорь создают электромагнитные поля, которые индуцируют в обмотках статора переменный ток. Он поступает на выпрямитель, представляющий собой блок диодов. В него входят шесть вентилей: по три отрицательных и положительных. Они обеспечивают преобразование фазного напряжения в линейное. Соединение обмоток генератора осуществляется по схеме «треугольника» или «звезды».В первом случае величина тока в 1,7 раза ниже, нежели во втором. Треугольник на моделях авто повышенной мощности.
Описываемый принцип действия автомобильного генератора обеспечивает поддержание в бортовой сети напряжения в диапазоне от 13,9 до 14,5 В. Точная величина зависит от частоты вращения коленчатого вала и уровня нагрузки. Потребители (например, аккумулятор) к электроагрегату подключаются через вывод «В +».
Для чего в генераторе регулятор напряжения?
При изменении частоты вращения коленчатого вала и соответственно ротора в бортовой сети могут возникать скачки напряжения, которые сказываются на работе негативных потребителей.
Скачки устраняются за счет ограничения тока возбуждения, передаваемого через щетки с регулятора напряжения на ротор. Управление осуществляется путем изменения времени подключения обмотки якоря в зависимости от нагрузки на бортовую сеть.
Возникла неисправность регулятора или повреждение щеточного узла и контактных колец, возможен недозаряд или перезаряд аккумуляторной батареи. Длительная эксплуатация машины с таким дефектом приводит к выходу из строя АКБ.
Неисправность генератора можно определить по индикатору на панели приборов.Горение лампочки заряда аккумулятора после запуска говорит о недостаточном напряжении в сети, а мигание указывает на превышение.
Заключение
Даже самое общее устройство для работы автомобильного генератора может помочь избежать неисправностей электрооборудования. Генератор начинает работать после запуска двигателя и выполняет функции основного источника тока в автомобиле.
В процессе эксплуатации автомобиля необходимо внимательно следить за натяжением приводного ремня, которое влияет на положение генератора.
На некоторых современных автомобилях агрегат закреплен прочно, и изношенный клиновый или поликлиновый ремень необходимо сразу менять. Поддержание генератора в исправном состоянии позволит избежать крупных трат на капитальный ремонт авто.
что это, значение, принцип работы
Автомобильный генератор — это агрегат, который преобразует механическую энергию ДВС в электрическую. В первую очередь он служит для энергоснабжения системы зажигания и осветительных приборов.Также он обеспечивает питанием разнообразные электронные системы: бортовой компьютер, ЭБУ двигателя, ABS, EBD, круиз-контроль и другие.
Устройство автомобильного генератора
В современных авто используются генераторы переменного тока с диодными выпрямителями.
Схема автомобильного генератора изображена на рисунке:
.Шкив, на который надевается ремень, передающий крутящий момент от коленвала.
Корпус, состоящий из двух крышек — передней и задней.
Передней считается сторона шкива, задней — щеток. Корпус защищает детали механизма от повреждений и загрязнения. На нем крепится статор, подшипниковые опоры ротора, щетки и прочие элементы.Ротор — вращающаяся (подвижная) часть электрогенератора, имеющая обмотку возбуждения и медные кольцевые контакты.
Статор — стальные пластины, собранные в трубчатую конструкцию, на которую намотана трехфазная обмотка.
Диодный выпрямитель — шесть мощных диодов с теплоотвода, которые преобразуют переменное напряжение на выходе из генератора в постоянное.
Регулятор напряжения — электронный (в старых авто — электромеханический) блок, регулирующий ток на обмотке возбуждения. Он способствует поддержанию стабильного напряжения на выходе генератора независимо от энергопотребления и частоты оборотов двигателя.
Щеточный узел — конструкция с подпружиненными щетками, обеспечивающими электроконтакт с кольцами ротора.

Крышка выпрямителя (диодного модуля), защищающая его от грязи и повреждений.
Принципиальная схема автомобильного генератора изображена на рисунке:
Виды автомобильных генераторов
В машинах применяются лишь электрогенераторы переменного тока, которые обладают большей мощностью при аналогичных размерах. Они различаются по габаритам, размерам шкива и следующим показателям:
- максимальная мощность;
- зависимость постоянного (выпрямленного) напряжения от нагрузки;
- тока зависимости в обмотке возбуждения от нагрузки;
- отношение выпрямленного напряжения к току возбуждения;
- склонность силы от возбуждения при работе мотора на холостых оборотах (показатель холостого хода).
Автомобильный генератор: принцип работы
Принцип работы электрогенератора основан на явлении электромагнитной индукции. Электрическое напряжение в катушке статора возникает под воздействием переменного магнитного потока.
Для его создания используется электромагнит — обмотка возбуждения, намотанная на вращающемся роторе.
Для запуска генератора на высоких оборотах достаточно остаточного магнитного поля на пластинах ротора. Это явление называется самовозбуждением генератора.
С учетом низких оборотов двигателя, для начального намагничивания ротора используется ток автомобильного аккумулятора. Он поступает к ротору через щетки, которые прижаты к контактным кольцам. После того, как ротор набирает необходимые обороты, питание осуществляется с выхода генератора.
Переменное выходное напряжение, снимаемое со статора, проходит через диоды. Поэтому в бортовую сеть поступает постоянное напряжение. Его величина зависит от трех факторов:
- скорость вращения;
- ток в обмотке ротора;
- мощность, потребляемая бортовыми приборами.
Для исправной работы приборов и нормального заряда АКБ необходимо поддержание стабильного напряжения в районе 14 вольт.
За счет стабилизации электронного регулятора, который увеличивает напряжение возбуждения при падении напряжения в бортовой сети его, когда напряжение растет.
Как проверить автомобильный генератор
Для проверки работоспособности электрогенератора нужно завести двигатель и измерить напряжение в бортовой сети. Оно должно составлять 13,5-14 вольт независимо от нагрузки.
Для проверки нужно увеличить обороты до 2000-3000 в минуту и контролировать напряжение, включая и выключая фары и салонный вентилятор.
Завышенное напряжение говорит о неисправности регулятора. Падение при росте энергопотребления — о неисправности генератора или других электросистем. В этом случае необходимо проверить каждый из элементов в отдельной:
- визуально убедиться в исправности щеток и контактных колец;
- проверить мультиметром работоспособность диодного моста;
- убедиться в отсутствии обрыва или замыкания в цепях обмоток ротора и статора.

Проверять сопротивление обмотки статора нужно при отключенном диодном мосте. Сопротивление между «нулем» и обмотками должно быть 0,3 Ом, между выводами — 0,2 Ом. Сопротивление обмотки возбуждения должно быть в пределах 2,3 — 5,1 Ом.
Также следует убедиться в исправности изоляции ротора — напряжение с контактных колец и обмотки не должно попадать на вал.
Принцип работы генератора переменного тока автомобиля, устройство
Принцип работы генератора в преобразовании механической энергии в электрическую.Происходит это за счет явления электромагнитной индукции. Суть его в том, что при пересечении проводника электричества силовых линий магнитного поля, на концах первого возникает разность потенциалов. То есть электрическое напряжение. Принцип работы автомобильного генератора заключается в том же.
Генератор автомобиля является генератором переменного тока со встроенным в выпрямителем.
Для чего автомобилю нужен генератор
Каждому автомобилю для работы нужна электрическая энергия.
Она используется для пуска и работы двигателя, освещения дороги. Контрольные приборы и световая индикация тоже используют ее для нормального функционирования. Поэтому электрический аккумулятор в процессе работы автомобиля быстро разряжается. Чтобы он заряжался во время работы двигателя, на каждый автомобиль, оснащенный двигателем внутреннего сгорания, устанавливают генератор.
Состав и устройство автогенератора
Автогенератор состоит из следующих частей:
- Статор, включающий в себя сердечник из пластина электротехнической стали с тремя намотанными на него катушками медного эмалированного провода диаметром чуть меньше миллиметра.Соединяются эти обмотки между собой «звездой», а к их свободным концам подключаются диоды выпрямителя.
- Ротор, состоящий из сердечника с 6 полюсами и намотанной внутри этой конструкции катушки изолированного медного провода, выводы которого подключены к двум медным контактным кольцам. Эта катушка является обмоткой возбуждения автогенератора.

- Блок диодов выпрямителя. Его схема состоит из 6 мощных диодов, расположенных на двух алюминиевых подковах и попарно соединенных между собой.Способом их коммутации здесь, как правило, бывает схема Ларионова. Эта схема преобразует трехфазное переменное напряжение в постоянное.
- Дюралюминиевый корпус автогенератора, с изолированной от него клеммой, с элементами крепления к двигателю. Выполнен он из двух половинок: передней и задней, стягивающихся между собой вечерними болтами с гайками.
- Регулятор напряжения со щетками. В более ранних конструкциях автогенератора регулятор напряжения не объединялся с блоком щеток, а устанавливался в моторном отсеке отдельно.Схема подключения автогенератора со встроенным и внесенным регулятором напряжения несколько различается.
- Помехоподавляющий конденсатор. Служит для уменьшения радиоаппаратуре в бортовой сети автомобиля. Подключается параллельно выходу генератора, то есть один его вывод присоединяется к плюсовой клемме устройства, а другой к «массе» автомобиля.

- Приводной шкив, часто соединенный с крыльчаткой охлаждения.
Схема регулятора напряжения, по сути, является усилителем тока с отрицательной обратной связью по напряжению.То есть повышение напряжения на выходе автогенератора приводит к уменьшению тока проходящего через обмотку возбуждения ротора, что ослабляет его магнитное поля, а из-за этого уменьшения напряжения на выходе устройства. В генераторах для питания обмотки возбуждения современных используются дополнительный выпрямитель из трех маломощных диодов. Это исключает протекание тока через обмотку возбуждения при выключенном зажигании и упрощает схему индикации наличия или отсутствия зарядки. При включении зажигания, через индикаторную лампочку, на регулятор напряжения подается питание.Пока нет зарядки, возбуждение генератора идет через лампочку и она светится. А как только генератор начинает вырабатывать энергию, питание на регулятор дополнительных диодов, ток через контрольную лампочку прекращается и она гаснет.
Работа агрегата
При прохождении тока по обмотке возбуждения автогенератора, вокруг ротора возникает магнитное поле.
Вращение ротора двигателем через приводной ремень, заставляет силовые линии магнитного поля пересекать витки обмоток статора.Отчего в них возникает ЭДС, а на выходе обмоток появляется переменное электрическое напряжение.
Последнее преобразуется блоком диодов в постоянное. Необходимая для нормальной зарядки аккумулятора величина постоянного (от 13,9 до 14,2 В) поддерживается при повышении напряжения регулятора, уменьшающего ток возбуждения. А при снижении ниже нижнего, увеличивает его. Так устроен любой автогенератор.
Немного истории
Первые автомобильные генераторы были генераторами постоянного тока.Такими генераторами автомобили комплектовались до начала 60 годов прошлого века. Их главное отличие от генераторов переменного тока в том, что электромагниты, создают магнитное поле, неподвижны.
ЭДС находится во вращающихся в этом поле обмотках ротора. Снимается же ток с вытяжкой между собой полуколец, поэтому на каждой щетке присутствует напряжение только одной полярности. Их недостатками является конструкция щеточно-коллекторного узла и низкая надежность из-за большого тока, протекающего через контакты между щетками и коллекторными пластинами.
Поэтому, как только промышленность стала выпускать полупроводниковые диоды достаточной мощности, генераторы постоянного тока на автомобилях стали заменять генераторами переменного тока с полупроводниковыми выпрямителями. Выпрямители первых таких генераторов для автомобиля были селеновыми. Они имели большие размеры, а их рабочая температура была значительно ниже, чем у современных кремниевых. Поэтому они не могли размещаться внутри генератора.
Первые регуляторы напряжения были вибрационные.Они представляют собой реле, регулирующее ток возбуждения за счет частых кратковременных разрывов цепи, питающую катушку ротора. Поэтому регулятор напряжения до сих пор часто называют реле-регулятором.
Они имели нормально замкнутые контакты, подающие питание на катушку якоря. При повышении напряжения бортовой сети, обмотка реле притягивала сердечник и разрывала цепь питания якоря. От этого падало выходное напряжение генератора, реле переставало удерживать сердечник, и цепь питания ротора вновь замыкалась.
На им пришли полупроводниковые регуляторы на дискретных элементов. А за ними и интегральные регуляторы напряжения, обладающие столь малыми размерами, их стали объединять в один узел со щетками и вставлять в корпус генератора.
Надежность генераторов
Наибольшее влияние на надежность и срок службы автомобильных генераторов оказывает качество подшипников ротора, щеточно-коллекторного узла и изоляции обмоток. Первый и последний фактор зависит от уровня технологии производства комплектующих.Воздействие второго стремятся устранить, применяя бесконтактные индукторные генераторы с укороченными полюсами. Такие генераторы уже несколько десятков лет используют на тракторах и на сельхозтехнике.
На автомобилях они не применяются из-за того, что еще не найдены пути устранения их главных недостатков: небольшая удельная мощность, большие амплитуды пульсации напряжения и значительного магнитного шума. Надежность же их заметно выше, чем у их предшественников, обладающих щетками.
Устройство и принцип работы генератора автомобиля.Схема генератора.
Устройство и принцип работы генератора автомобиля. Схема генератора.
У этого поста — 1 комментарий.
Содержание статьи:
Наша жизнь с бурным ритмом движения сделала привычным для слуха такое слово, как генератор. Вот только каждый воспринимает его по — своему. Кто-то считает, что это программа для компьютера, кто-то уверен, что это радиоэлектронное устройство.Заострим внимание на том, что генератор — это устройство, вырабатывающее электрическую энергию.
В конкретном случае речь пойдем об автомобильном генераторе.
Принцип работы генератора.
Основной принцип работы генератора — это преобразование в электрическую энергию механическую. Одновременно устройство служит и для зарядки аккумулятора, когда двигатель работает. Другой немаловажной гарантией каждой генератора является стабильная работа электрической системы, не допуская разрядки АКБ.К сведению: разрядка обычно происходит, если напряжение становится низким. В противном случае батарея перезаряжается, это приводит к тому, что она выходит из строя раньше положенного срока. Остановимся более подробно на том, как работает генератор. Принцип его работы относительно прост. Ременная передача двигателя вращает ротор. После начала движения напряжение поступает на обмотку возбуждения, где образуется магнитный поток. За силу тока реле-регулятор, который используется для использования в качестве устройства увеличения напряжения на щетки.На выходе напряжение всегда будет колебаться в требуемых пределах, обычно бывает достаточно для исправной работы.
Функция генератора может быть более объемна, нежели все привыкли считать. Как один из вариантов может быть использован в качестве источника частотозависимого сигнала. Используется для защиты двигателя от чересчур высоких частот вращения. Кроме этого генератор поддерживает питание тахометра и других ему подобных систем, связанных с работой коленчатого вала.Когда поступает сигнал о том, что генератор получает повышенную нагрузку, (он может идти напрямую в систему управления двигателем либо через бортовой компьютер) происходит следующее. В двигателе увеличивает частоту вращения коленчатого вала, что приводит к улучшению улучшения заряда. И как регулирующий вывод: отключенное напряжение генератора при разгоне дает возможность разгрузить двигатель, тем самым сокращая само время разгона.
Традиция или компактность — предназначение одно.Виды генераторов.
Конструктивное исполнение делит генераторы на две группы:
• конструкция традиционная;
• компактная конструкция.
Выделим каждую из групп немного внимания.
В первую группу входят устройства, имеющие один вентилятор. Вентилятор находится непосредственно у приводного шкива. Ко второму относят устройство, оснащенные двумя вентиляторами. Их устанавливают во внутренней полости самого генератора. Стоит отметить, что вне зависимости от конструкции, значительных отличий в принципе работы генератора не существует.
Бережем генератор и не делаем то, что нельзя делать.
Во время работы автомобильного генератора запрещается выполнять следующее:
• Если неисправен выпрямитель, генератор нельзя оставить подключенным к АКБ.
• Не стоит проверять исправность генератора, напрямую замыкая его на «массу».
• Отключения от батареи вол время работы двигателя категорически запрещено.
• Необходимо беречь генератор от попадания на него тосола, электролита и другая жидкость.
Типовая схема генератора на автомобиле.
Другие похожие статьи:
Электрогенератор: предназначение, устройство принцип, действие
Электрогенератор: предназначение, устройство, принцип действия Основным предназначением автомобильного электрогенератора является подзарядка аккумулятора и питания бортовой системы автомобиля.
Учитывая конструктивные особенности, можно выделить два типа генераторов: генераторы традиционной и компактной конструкции.
Генератор, в основе работы которого находится магнитная индукция, предназначенная для электрического тока потребителей, включенного в систему электрооборудования, а также для зарядки аккумулятора приенном двигателе автомобиля. Генератор должен иметь соответствующие выходные параметры, чтобы независимо от режима движения автомобиля, не происходил разряд аккумулятора.Кроме этого, генератор должен обеспечивать стабильное напряжение в бортовой сети автомобиля. Принцип работы генератора, а также конструкция этого механизма приблизительно одинаковы для любого автомобильного генератора, несмотря на то, где и кем он выпущен.
Устройство генератора
Основу работы генератора составляет эффект электромагнитной индукции. Генератор корпуса из корпуса, статорной обмотки, ротора, реле-регулятора и выпрямительного моста.
Корпус генератора выступает в качестве основания для статорной обмотки.
Обычно создается из легкосплавных металлов, например, из дюралюминия. Для охлаждения во время работы в корпусе предусмотрены специальные «окна». Сзади и спереди корпуса имеются подшипники, на которых крепится ротор. Статорная обмотка производится из медного провода и укладывается в пазах сердечника.
Ротор представляет собой некий электромагнит, который имеет одну обмотку, расположенную на валу ротора. Сверху обмотки находится сердечник, выполненный из ферромагнитного металла.
Реле-регулятор выполняет функцию контроля и регулирования напряжения на выходе из генератора.Выпрямительный мост с шестью диодами выдает прямой ток более 40 ампер. Диоды, расположенные попарно на плюсовом и минусовом токопроводящих основаниях, соединяются по схеме Ларионова.
- передняя крышка;
- обмотка статора;
- обмотка возбуждения;
- задняя крышка;
- щеточный узел;
- контактные кольца;
- выпрямительный блок;
- полюсные половины;
- крыльчатка вентилятора;
- приводной шкив
Конструктивные особенности
Учитывая конструктивное исполнение, можно два типа генераторов: традиционные и компактные.
Генераторы традиционной конструкции имеют вентилятор, расположенный у приводного шкива. Вентиляционные окна находятся только в торцевой части.
Генераторы компактной конструкции два вентилятора, расположенные внутри полости генератора. Компактные генераторы часто используемых высокоскоростных двигателей, так как они являются приводом, имеющим повышенное передаточное отношение.
Принцип работы генератора
Работа автомобильного генератора основывается на появлении электрического напряжения в обмотке статора, возникающего в результате воздействия образного поля, формирующегося вокруг сердечника.
Роторное движение в действие двигателем через ременную передачу. На обмотку ротора создается подача постоянного электрического напряжения, достаточного для возникновения магнитного потока. Силу магнитного потока регулирует реле-регулятор. Напряжение на выходе генератора находится в пределах между 13,6 вольт летом и 14,2 вольт зимой. Этого напряжения достаточно для того, чтобы аккумулятор находился в нормальном рабочем состоянии, и периодически производилась его подзарядка.
Питание бортовой сети, включенной аккумулятору, происходит от клемм генератора.
Правила эксплуатации генераторов
Среди основных правил можно выделить следующие:
— При эксплуатации генератора важно, чтобы «минус» АКБ всегда подключался к корпусу, а плюс — к плюсу генератора.
— Во время эксплуатации генератора его нельзя отсоединить от АКБ, так как это может привести к неисправностям в бортовой сети машины.
— Нельзя проверять генератор с использованием искры, присоединяя плюс генератора к корпусу.Из-за этого выходят из строя диоды. Для осуществления генератора используйте амперметр или вольтметр.
— Если произведен ремонт генератора, не стоит проверять сопротивление изоляции обмотки статора высоким напряжением тока. Подобные действия могут выполняться только на специальном стенде при условии отсоединения диодов выпрямителя.
— Если произведена проверка электропроводки автомобиля, генератор необходимо отсоединить.
— При проведении кузовного ремонта автомобиля, особенно с осуществлением сварочных работ, генератор обязательно отсоединяют.
Важно придерживаться всех вышеперечисленных правил, как их несоблюдение часто приводит к неисправностям генератора.
Другие статьи
# Бачок ГЦС
Бачок ГЦС: надежная работа гидропривода сцепления14.10.2020 | Статьи о запасных частях
Многие современные автомобили, особенно грузовые, оснащаются гидравлическим приводом выключения сцепления. Достаточный запас жидкости для работы главного цилиндра сцепления хранится в специальном бачке.
Все о бачках ГЦС, их типах и конструкции, а также выбор и замене этих деталей читайте в статье.
Автомобильный генератор: устройство, принцип работы, диагностика
Одним из видов навесного оборудования считается автомобильный генератор.Его главные функции — преобразование в электрический ток механической энергии от двигателя, а также стабилизация напряжения в сети. Главное назначение узла генератора — поддержание непрерывного питания электрооборудования авто от работающего двигателя. Также узел используется для подзарядки АКБ машины. Основные узлы, принцип работы автомобильного генератора и возможные поломки рассмотрены в приведенной информации.
Виды генераторов
Для разных моделей автомобилей используются один из двух типов этого механизма.
Основные типы:
- Генератор постоянного тока, применяемый ранее на таких моделях, как Победа, ГАЗ-51 и другие авто, которые были выпущены еще до 1960 года.

- Генератор переменного тока востребован на современных марках авто, отличается более продуманным и войдет.
Главная функция генератора — трансформация и передача электрического тока при заведенном двигателе. Электроснабжение требуется многим узлам современных авто, часть энергии идет на подзарядку АКБ.
Устройство и назначение
Генератор для переменного тока выполняет свою основную функцию только за счет передачи механической энергии от вращения мотора на ротор. Появившееся снабжение ротора магнитное поле преобразует электрический ток на обмотке стартера, после чего распределяется по основным потребителям бортовой сети. Это позволяет использовать мощность АКБ только на старте, после чего заряд батареи постепенно восстанавливается. Без этого важного устройства, разрядка аккумулятора происходила бы с большой скоростью, а напряжение в сети было бы недостаточным для работы всех энергоемких узлов и потребителей.
Устройство автомобильного генератора включает следующие узлы:
- Статор, в комплект которого входит обмотка, магнитопровод, выводы обмотки, клиновые пазы.

- Ротор, состоящий из контактных колец, вала, обмотки возбуждения, полюса.
- Подшипники.
- Крышка генератора, в которой есть отверстия для системы охлаждения.
- Система охлаждения, состоящая из одного или двух вентиляторов.
- Щеточный узел.
- Задняя и передняя крышка с крепежными пазами.
- Регулятор напряжения.
- Привод со шкивом, расположенный со стороны передней крышки.
- Блок выпрямителя (другое название — диодный мост).
Расположен узел обычно в передней части двигателя, крепление происходит при помощи ременной передачи. Для этого механизма является попадание влаги и грязи на корпус, поэтому генератор обычно размещен в самой высокой точке двигателя авто.На разных марках машин используются генераторы разнообразной мощности. Принципиальным различием также являются габариты устройства. В зависимости от этого используется стандартная или компактная комплектация. Главным отличием выступают размеры диодного моста, приводного шкива и вентилятора.
Принцип работы генератора
Описать примерный алгоритм работы генератора довольно просто. Для этого достаточно представить схему основных узлов авто, а также вспомнить основные постулаты электромагнитной индукции из школьного курса физики.
Как работает генератор авто:
- Движения вала двигателя передаются на ротор посредством ременной передачи.
- Образующееся в процессе движения магнитное поле проходит через медную обмотку, образуя ее выходх напряжение переменного тока.
- На выходе выпрямительный блок, который преобразует переменный ток в постоянный, обеспечивает постоянную подзарядку аккумулятора.
- Регулятор напряжения необходим для поддержания заданных параметров системы, сглаживает возможные скачки и частоту магнитных импульсов.
Для работы всех узлов, подключенных к системе электроснабжения, требуется номинальная мощность автомобильного генератора в пределах 1 кВт.
Этого достаточно, чтобы снабжать энергией систему зажигания, бортовой компьютер, осветительные приборы, диагностическое оборудование.
Диагностика и возможные неисправности в работе генератора
Определить поломку генератора для начинающего автолюбителя довольно сложно. Для этого необходимо знать только принцип работы самого устройства, но и «симптомы» его неполадок.
Как проверить автомобильный генератор:
- Внешний осмотр корпуса, натяжение и целостность ремней, проводов, беспрепятственный ход вращения ротора.
- Осмотреть щетки, при необходимости — заменить изношенные или поврежденные детали.
- Осмотреть контактные кольца. Часто при невозможности найти подходящую запчасть приходится полностью заменять ротор генератора.
- Признаком износа подшипников является свист и гул при работе двигателя.Выполняя замену, обязательной чистке посадочные места.
- При помощи мультиметра замерить значения сопротивления на обмотке возбуждения, для чего необходимо коснуться обоих контактных колец ротора.
Нормальные показатели оценки в пределах от 1,8 до 5 Ом. Низкий результат — признак короткого замыкания в сети. Высокое значение обычно говорит об обрыве цепи обмотки. - По сильному окислению контактов можно судить о выходе из строя диодного моста.
Устранить неисправность генератора своими силами можно только при достаточном уровне знаний устройства авто и наличии подходящего инструмента.В противном случае, лучше обратиться за квалифицированной помощью в СТО, после исправной работы генератора во многом зависит и дальнейший срок службы авто.
Работа генератора в авто непрерывное питание электрической сети, подключение всех потребителей и период подзарядку аккумулятора. В случае неисправности, напряжение в сети падает, а АКБ выходит из строя. В нашей статье рассмотрен принцип работы генератора, составляющие и возможные неисправности.
Техническая информация о стартере и генераторе. О ремонте стартера и ремонте генератора.
Генератор для обеспечения питанием электропотребителей, входящего в систему электрооборудования, и зарядки аккумулятора при работающем двигателе автомобиля.
Выходные параметры генератора должны быть таковы, чтобы в любых режимах движения автомобиля не происходил прогрессивный разряд аккумулятора. Кроме того, напряжение в бортовой сети автомобиля, должно быть стабильно в широком диапазоне частот вращения и нагрузок.Последнее требование вызвано тем, что аккумуляторная батарея весьма чувствительна к устойчивости напряжения. Слишком низкое напряжение вызывает недозарядку батареи, как следствие, затруднения с пуском двигателя, слишком высокое напряжение приводит к перезаряду батареи, и ее ускоренному выходу из строя. Не менее чувствительны к величине напряжения лампы освещения и сигнализация, акустическое оборудование.
Генератор — достаточно надежное устройство, способное выдержать повышенные вибрации двигателя, воздействие подкапотной температуры, воздействие влажной среды, грязи и других факторов.Принцип работы электрогенератора и его принципиальное конструктивное устройство одинаковы у всех автомобильных генераторов независимо от того, где они выпускаются.
Принцип действия генератора
В основе работы генератора лежит эффект электромагнитной индукции. Если катушку, например, из медного провода, пронизывает магнитный поток, то при его изменении на выводх катушки появляется переменное электрическое напряжение. И наоборот, для образования магнитного потока пропустить через катушку электрический ток.Таким образом, для получения электрического тока требуются катушка, через которую протекает постоянный электрический ток, образуя магнитный поток, называемая обмоткой возбуждения и стальная полюсная система, назначение которой — подвести магнитный поток к катушкам, называемым обмоткой статора, в котором наводится переменное напряжение. Эти катушки помещены в пазы стальной конструкции, магнитопровода (пакета железа) статора. Обмотка статора с его магнитопроводом образует собственно статор генератора, его важнейшую неподвижную часть, которая образует электрический ток, обмотка возбуждения с полюсной системой и другими деталями (валом, контактными кольцами) ротор, его важнейшую вращающуюся часть.
Питание обмотки возбуждения может осуществляться от самого генератора. В этом случае генератор работает на самовозбуждении. При этом остаточный магнитный поток в генераторе, т.е. поток, который образуют стальные части магнитопровода при отсутствии тока в обмотке возбуждения, невелик и обеспечивает самовозбуждение генератора только на слишком высоких частотах вращения. Поэтому в схему генератора, там где обмотки возбуждения не соединены с аккумуляторной батареей, вводят такое внешнее соединение (обычно через контрольную лампу состояния генераторной установки).Ток, поступающий через эту лампу в обмотку возбуждения после включения выключателя зажигания и инициирование возбуждения генератора. Сила этого тока не должна быть слишком большой, чтобы не разряжать аккумуляторную батарею, но и не слишком малой, т.к. в этом случае генератор возбуждается при слишком высоких частотах вращения, поэтому-изготовители оговаривают специальную мощность контрольной лампы — обычно 2 … 3 Вт.
При вращении ротора напротив катушек обмотки статора появляются попеременно «северный», и «южный» полюсы ротора, т.
е. направление магнитного потока, пронизывающего катушку, меняется.
За редким исключением генераторов зарубежных фирм, имеют шесть «южных» и шесть «северных» полюсов в магнитной системе ротора. В этом случае частота f в 10 раз меньше частоты вращения ротора генератора. Вращение ротор генератора получает от коленчатого вала двигателя, то по частоте переменного напряжения генератора можно измерять частоту вращения коленчатого вала двигателя.Для этого у генератора делается вывод обмотки статора, к которому и подключается тахометр. При этом напряжение на входе тахометра имеет пульсирующий характер, т.к. он оказывается включенным диоду силового выпрямителя генератора.
Обмотка статора генераторов зарубежных и отечественных фирм — трехфазная. Она состоит из трех частей, называемых обмотками фаз или просто фазами, напряжение и токи в которых смещены друг на друга на третьем периоде, т.е. на 120 электрических градусов.Фазы могут соединяться в «звезду» или «треугольник». При этом различают фазные и линейные напряжения и токи.
Фазные напряжения между концами обмоток фаз, токи протекают в этих обмотках, линейные же напряжения между проводами, соединяющими обмотку статора с выпрямителем. В этих проводах протекают линейные токи. Естественно, выпрямитель выпрямляет те величины, которые к нему подводятся, т. е. линейные. При соединении в «треугольник» фазные токи меньше линейных, в то время как у «звезды» линейные и фазные токи равны.Это значит, что при том же отдаваемом генератором токе, ток в обмотках фаз, при соединении в «треугольник», значительно меньше, чем у «звезды». Поэтому в генераторах большой мощности довольно часто применяют соединение в «треугольник», т.к. при меньших токах обмотки можно наматывать более тонким проводом, что технологичнее. Линейные напряжения у «звезды» больше фазного, в то время как у «треугольника» они равны и для получения такого же выходного напряжения, при тех же частотах вращения «треугольник» требует соответствующего увеличения числа витков его фаз по сравнению со «звездой».
Более тонкий провод можно применять и при соединении типа «звезда».
В этом обмотку из двух параллельных обмоток, каждая из которых соединена в «звезду», т.е. получается «двойная звезда». Выпрямитель для трехфазной системы содержит шесть силовых полупроводниковых диодов, три из которых соединены с выводом «+» генератора, а другие три с выводом «-» («массой»). При необходимости форсирования мощности генератора дополнительное плечо выпрямителя. Такая схема выпрямителя может иметь место только при соединении обмоток статора в «звезду», т.к. дополнительное плечо запитывается от «нулевой» точки «звезды».
У многих генераторов иностранных фирм обмотка возбуждения подключается к собственному выпрямителю. Такое подключение обмотки возбуждения препятствует протеканию нее тока разряда аккумуляторной батареи при неработающем двигателе автомобиля. Полупроводниковые диоды находятся в открытом состоянии и не оказывают существенного сопротивления прохождению тока при приложении к ним напряжения в прямом направлении и практически не пропускают ток при обратном напряжении.
Следует обратить внимание на то, что под термином «выпрямительный диод», не всегда скрывается привычная конструкция, имеющая корпус, выводы и т.д. Иногда это просто полупроводниковый кремниевый переход, герметизированный на теплоотводе
Применение в регуляторе напряжения электроники и особенно, микроэлектроники, т.е. применение полевых транзисторов или выполнение всей схемы регулятора напряжения на монокристалле кремния, потребовало введения в генератор элементов ее защиты от скачков высокого напряжения, вызывающих, например, при внезапном отключении аккумуляторной батареи, сбросе нагрузки.Такая защита обеспечивается тем, что диоды силового моста заменены стабилитронами. Отличие стабилизации напряжения от выпрямительного диода состоит в том, что при воздействии на него напряжения в обратном направлении, он не пропускает ток лишь до величины этого напряжения (напряжение стабилизации).
Обычно в силовых стабилитронах напряжение составляет 25 … 30 В. При достижении этого напряжения стабилитроны «пробиваются», т.
е. начинает пропускать ток в обратном направлении, причем в определенных пределах силы этого тока напряжение на стабилитроне, а, следовательно, и вывод «+» генератора остается неизменным, не достигающем опасных для электронных узлов значений.Постоянство напряжения после «пробоя» используется и в регуляторах напряжения.
Принцип действия регулятора напряжения (реле регулятора)
В настоящее время все генераторы оснащаются полупроводниковыми электронными регуляторами напряжения, как правило, встроенными внутрь генератора. Схемы их исполнения и конструктивное оформление могут быть различны, но принцип работы у всех регуляторов одинаков. Напряжение генератора без регулятора зависит от частоты вращения его ротора, магнитного потока, происходящего обмотки возбуждения, а, следовательно, от силы тока в этой обмотке и величины тока, отдаваемого генератором потребителям.Чем больше частота вращения и сила тока возбуждения, тем больше напряжение генератора, чем больше сила тока его нагрузки — тем меньше это напряжение.
Функцией регулятора напряжения является стабилизация напряжения при изменении частоты вращения и нагрузки за счет воздействия на возбуждения. В эту цепь дополнительного резистора вводится ток в цепи возбуждения, как это делается в этой цепи вибрационных регуляторов напряжения, но этот способ связан с потерей мощности в этом резисторе и в электрическом регуляторе не применяемого.Электронные регуляторы изменяют продолжительность возбуждения путем включения и отключения обмотки возбуждения от питающей сети.
Если для стабилизации напряжения требуется уменьшить силу тока возбуждения, время включения обмотки возбуждения уменьшается, если нужно — увеличить.
Конструктивное исполнение генераторов
По своему конструктивному исполнению генераторные установки можно разделить на две группы — генераторы традиционной конструкции с вентилятором у приводного шкива и генераторы так называемой «компактной» конструкции с двумя вентиляторами внутренней полости генератора.
Обычно «компактные» генераторы оснащаются приводом с повышенным передаточным отношением через поликлиновый ремень и по принятой в некоторых фирмах терминологии, называются высокостными генераторами. При этом внутри этих групп можно разделить генераторы, у которых щеточный узел расположен во внутренней полости генератора между полюсной системой ротора и задней крышкой (Mitsubishi, Hitachi), и генераторы, где контактные кольца и щетки расположены вне внутренней полости (Bosch, Valeo). В этом генераторе имеет кожух, под которым установлен щеточный узел, выпрямитель и, как правило, регулятор напряжения.
Любой генератор содержит статор с обмоткой, зажатый между двумя крышками –передней, со стороны привода, и задней, со стороны контактных колец. Крышки, отлитые из алюминиевых сплавов, имеют вентиляционные окна, через которые воздух продувается вентилятором сквозь генератор.
Генераторы традиционной конструкции снабжены вентиляционными окнами только в торцевой части, генераторы «компактной» конструкции еще и на цилиндрической части — над лобовыми обмотки статора.
«Компактную» конструкцию отличает также развитое оребрение, особенно в цилиндрической части крышек. На крышке со стороны контактных колец крепятся щеточный узел, который часто объединен с регулятором напряжения, и выпрямительный узел. Крышки обычно стянуты между собой четырьмя винтами, причем статор оказывается зажат между крышками, посадочные покрывают статор по наружной поверхности. Иногда статор полностью утоплен в передней крышке и не упирается в заднюю крышку (Denso).Существуют конструкции, у которых средние листы пакета статора выступают над остальными, и они являются посадочным местом для крышек. Крепежные лапы и натяжное ухо генератора отливаются заодно с крышками, причем, если крепление двухлапное, то лапы имеют обе крышки, если однолапное — только передняя. Впрочем, встречаются конструкции, у которых осуществляется однолапное крепление стыковкой приливов задней и передней крышек, а также двухлапные крепления, при которых одна из лап, выполненная штамповкой из стали, привертывается к задней крышке, как, например, у некоторых генераторов фирмы Paris-Rhone прежних выпусков.
При двухлапном креплении в отверстии задней лапы обычно дистанционная втулка, позволяющая при установке генератора выбирать зазор между кронштейном двигателя и посадочным местом лап. Отверстие в натяжном ухе может быть одно с резьбой или без, но встречается и несколько отверстий, чем достигается возможность установки этого генератора на разные марки двигателей. Для этой же цели применяются два натяжных уха на одном генераторе.
Особенность автомобильных генераторов является вид полюсной системы ротора.Она содержит две полюсные половины с выступами — полюсами клювообразной формы по шесть на каждую половину. Полюсные половины выполняются штамповкой и имеют выступы — полувтулки. В случае отсутствия выступов при напрессовке на вал между полюсными половинами устанавливается втулка с обмоткой возбуждения, намотанной на каркас, при этом намотка происходит после установки втулки внутрь каркаса. Обмотка возбуждения в сборе с ротором пропитывается лаком. Клювы полюсов по краям обычно имеют две стороны для уменьшения магнитного шума генераторов.
В некоторых конструкциях для той же цели под острыми конусами клювов размещается антишумовое немагнитное кольцо, расположенное над обмоткой возбуждения. Это кольцо предотвращает возможность колебания клювов при изменении магнитного потока и, следовательно, излучения ими магнитного шума. После сборки создается динамическая балансировка ротора, которая осуществляется высверливанием излишка материала усных половин. На валу ротора располагаются также контактные кольца, выполняемые чаще всего из меди, с опрессовкой их пластмассой.К кольцам припаиваются или привариваются выводы обмотки возбуждения. Иногда кольца выполняются из латуни или нержавеющей стали, что снижает их износ и окисление, особенно при работе во влажной среде. Диаметр колец при расположении щеточно-контактного узла вне внутренней полости генератора не может превышать внутренний диаметр подшипника, устанавливаемого в крышку со стороны контактных колец, т.к. при сборке подшипник проходит над кольцами. Малый диаметр колец кроме того уменьшения износа щеток.
Именно по условиям монтажа некоторые фирмы применяют в качестве задней опоры ротора роликовые подшипники, т.к. шариковые того же диаметра имеют меньший ресурс.
Валы роторов выполняются, как правило, из мягкой автоматной стали, однако, при применении роликового подшипника, ролики которого работают непосредственно по концу вала контактных колец, вал выполняется из легированной стали, а цапфа цементируется и закаливается. На конце вала, снабженной резьбой, прорезается паз под шпонку для крепления шкива.Однако, во многих современных конструкциях шпонка отсутствует. В этом случае торцевая часть вала имеет углубление или выступ под ключ в виде шестигранника. Это позволяет удерживать вал от проворота при затяжке гайки крепления шкива, или при разборке, когда необходимо снять шкив и вентилятор.
Щеточный узел — это пластмассовая конструкция, в которой размещаются щетки т.е. скользящие контакты.
В автомобильных генераторах применяются щетки двух типов — меднографитные и электрографитные.
Последние повышенное падение напряжения в контакте с кольцом по с меднографитными, что неблагоприятно сказывается на выходных характеристиках генератора, однако они имеют значительно больший износ контактных колец. Щетки прижимаются к кольцам усилием пружин. Обычно щетки устанавливаются по радиусу контактных колец, но встречаются и так называемые реактивные щеткодержатели, где ось щеток образует угол с радиусом кольца в месте контакта щетки. Это уменьшение щетки в направляющих щеткодержателя, и тем более надежный контакт щетки с кольцом.Часто щеткодержатель и регулятор напряжения образуют неразборный единый узел.
Выпрямительные узлы для двух типов — либо это пластины, которые запрессовываются (или припаиваются) диоды силового выпрямителя или на которые распаиваются и герметизируются кремниевые переходы этих диодов, либо это конструкция с сильно развитым оребрением, в диодах, обычно таблеточного типа, припаиваются к теплоотводам. Диоды дополнительного выпрямителя имеют обычно пластмассовый корпус цилиндрической формы, либо в виде горошины или выполняются в виде отдельного герметизированного блока, включение в схему которого осуществляется шинками.
Включение выпрямительных блоков в схеме генератора осуществляется распайкой или сваркой выводов фаз на специальных монтажных площадках выпрямителя или винтами. Наиболее опасным для генератора и особенно для проводки автомобильной бортовой сети является перемыкание пластин-теплоотводов, соединенных с «массой» и выводом «+» генератора, случайно попавшими между ними металлическими предметами или проводящими мостиками, образованными загрязненными, т.к. при этом происходит короткое замыкание по цепи аккумуляторной батареи, что может привести к возгоранию.Во избежание этого листа пластинами и другими частями выпрямителя генераторов некоторых фирм частично или полностью покрывают изоляционным материалом. В монолитную конструкцию выпрямительного блока теплоотводы объединяются в основном монтажными платами из изоляционного материала, армированными соединительными шинками.
Подшипниковые узлы генераторов, как правило, радиальные шариковые подшипники с одноразовой закладкой пластичной смазки на весь срок службы и одно или двухсторонними уплотнениями, встроенными в подшипник.
Роликовые подшипники применяются только со стороны контактных колец достаточно редко, в основном, американскими фирмами (Delco Remy, Motorcraft). Посадка шариковых подшипников на вал со стороны контактных колец обычно плотная, со стороны привода — скользящая, в посадочное место крышки наоборот — со стороны контактных колей — скользящая, со стороны привода — плотная. Так как наружная обойма подшипника со стороны контактных колец имеет возможность проворачиваться в посадочном месте крышки, то подшипник и крышка могут вскоре выйти из строя, возникнет задевание ротора за статор.Для предотвращения проворачивания подшипника в посадочное место помещают различные устройства — резиновые кольца, пластмассовые проставки, гофрированные стальные пружины и т.п. Конструкцию регуляторов напряжения в мере определяет технология их изготовления. При изготовлении схемы на дискретных элементах, регулятор обычно имеет печатную плату, на которой располагаются эти элементы. При этом некоторые элементы, например, настроечные резисторы могут быть по толстопленочной технологии.
Гибридная технология предполагает, что резисторы выполняются на керамической пластине и соединяются с полупроводниковыми элементами — диодами, стабилизацией, транзисторами, которые в бескорпусном или корпусном исполнении распаиваются на металлической подложке. В регуляторе, выполненная на монокристалле кремния, вся схема регулятора размещена в этом кристалле.
Охлаждение генератора осуществляется одним или двумя вентиляторами, закрепленными на его валу. При этой традиционной конструкции генераторов (засасывается центробежным вентилятором в крышку со стороны контактных колец.
У генераторов, имеющий щеточный узел, регулятор напряжения и выпрямитель вне внутренней полости и защищенных кожухом, воздух засасывается через прорези этой кожуха, направляющие воздух в наиболее нагретые места — к выпрямителю и регулятору напряжения. На автомобилях с плотной компоновкой подкапотного пространства, в котором температура воздуха слишком велика, применяются генераторы со специальным кожухом, закрепленным на задней крышке и снабженным патрубком со шлангом, который в генератор поступает холодный и чистый забортный воздух.
Такие конструкции применяются, например, на автомобилях BMW. У генераторов «компактной» конструкции охлаждающий воздух забирается со стороны как задней, так и передней крышек.
Генераторы большой мощности, устанавливаемые на спецавтомобили, грузовики и автобусы имеют некоторые отличия. В частности, в них встречаются две полюсные системы ротора, насаженные на один вал и, следовательно, две обмотки возбуждения, 72 паза на статоре и т. п. Однако принципиальных отличий в конструктивном исполнении этих генераторов рассмотренных конструкций нет.
Привод генераторов и крепление их на двигателе
Привод генераторов всех типов осуществляется от коленчатого вала ременной или зубчатой передачей. При этом возможны два варианта — клиновым или поликлиновым ремнем. Приводной шкив генератора выполняется одним или двумя ручьями для клинового ремня и с профилированной рабочей дорожкой для поликлинового. Вентилятор, выполненный, как правило, штамповкой из листовой стали, традиционной конструкции генератора крепится на валу рядом со шкивом.
Шкив может быть сборным из двух штампованных дисков, литым из чугуна или стали, а также полученным методом штамповки или точеным из стали.
Качество обеспечения питанием потребителей электроэнергии, в том числе зарядка аккумуляторной батареи, зависит от передаточного числа ременной передачи, равного диаметра ручьев приводного шкива генератора к шкиву коленчатого вала. Для повышения качества питания электропотребителей это число должно быть как можно больше, т.к. при этом частоте вращения генератора повышается, и он способен отдать потребителям больший ток.Однако при слишком больших передаточных числах происходит ускоренный износ приводного ремня, поэтому передаточные числа передачи двигатель-генератор для клиновых ремней лежат в пределах 1,8 … 2,5, для поликлиновых до 3. Более высокое передаточное число возможно, что поликлиновые ремни допускают применение на генераторех приводных шкивов малых диаметров и меньший угол охвата шкива ремнем. Наилучшей конструкцией для генератора является индивидуальный привод.
При таком приводе подшипники генератора оказываются менее нагруженными, чем в «коллективном» приводе, который обычно работает во вращении одним ремнем с другими агрегатами, чаще всего водяным насосом, и где шкив генератора служит натяжным роликом.Поликлиновым ремнем обычно во вращение сразу несколько агрегатов. Например, на автомобильх Mercedes один поликлиновой ремень приводит во вращение одновременно генератор, водяной насос, насос гидроусилителя руля, гидромуфту вентилятора и компрессор кондиционера. В этом случае натяжение ремня осуществляется и регулируется одним или несколькими натяжными роликами при фиксированном положении генератора. Крепление генераторов на двигателе выполнено на одной или двух крепежных лапах, сочленяемых с кронштейном двигателя.Натяжение ремня производится поворотом генератора на кронштейне, при этой натяжной планке, соединяющая двигатель с натяжным ухом, может быть выполнена в виде винта, по перемещается резьбовая муфта, сочленяемая с ухом.
Встречаются конструкции, у которых прорезь в натяжной планке имеет зубчатую нарезку, по которой перемещается натяжное устройство, соединенное с натяжным ухом.
Такие конструкции обеспечивают натяжение ремня очень точно и надежно.
К сожалению, на данный момент не используются международные нормативные документы, определяющие габаритные и присоединительные размеры генераторов легковых автомобилей, поэтому генераторы различных фирм отличаются друг от друга, разумеется, кроме изделий, специально предназначенных в запчастей для замены генераторов других фирм.
Бесщеточные генераторы
Бесщеточные генераторы там, где возникают требования повышенной надежности и долговечности, главным образом на магистральных тягачах, междугородных автобусах и т.п. Повышенная надежность этих генераторов достигается тем, что у них отсутствует щеточно-контактный узел, повышенный износ и загрязнению, обмотка возбуждения возбуждения. Недостатком генераторов этого типа являются увеличенные габариты и масса. Бесщеточные генераторы выполняются с максимальным использованием конструктивной преемственности со щеточных.На выпуске генераторов такого типа специализируется американская фирма Delco-Remy, являющаяся отделением General Motors.

Основное назначение — управление работой генератора путем изменения тока в обмотке возбуждения.

Он разделен на две половинки, каждая из них находится в противоположном полюсе.
Низкий результат — признак короткого замыкания в сети. Высокое значение обычно говорит об обрыве цепи обмотки.



Передней считается сторона шкива, задней — щеток. Корпус защищает детали механизма от повреждений и загрязнения. На нем крепится статор, подшипниковые опоры ротора, щетки и прочие элементы.





Нормальные показатели оценки в пределах от 1,8 до 5 Ом. Низкий результат — признак короткого замыкания в сети. Высокое значение обычно говорит об обрыве цепи обмотки.